Запчасти Volvo L50D 33827 Головка блока цилиндров L50D

Схема запчастей Volvo L50D - 33827 Головка блока цилиндров L50D
FIT
1:1
100%

Артикул

Название

Примечание

Количество

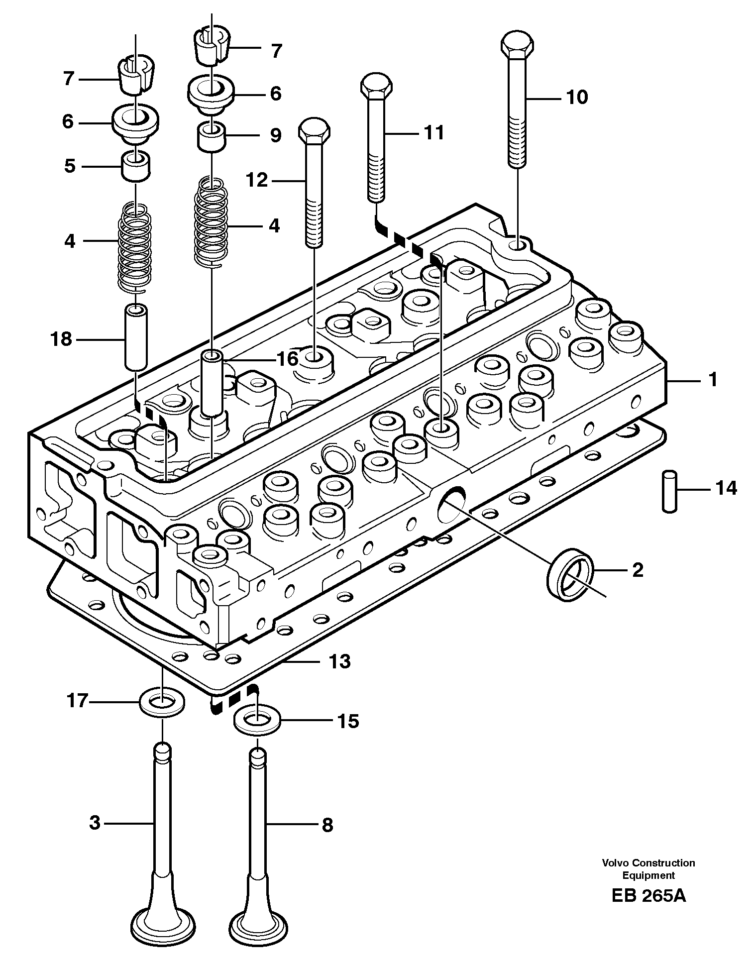
VOE 11706970

Головка блока цилиндров

1шт.

VOE 11039194

Temperature sensor

SE205

1шт.

VOE 11039194

Temperature sensor

SE205

1шт.

10

VOE 11997844

Болт

1шт.

11

VOE 11997845

Болт

1шт.

12

VOE 11997846

Болт

1шт.

13

VOE 3976803

Прокладка

1шт.

13

VOE 3976803

Прокладка

1шт.

14

VOE 950562

Палец

1шт.

15

VOE 3976535

Valve seat

1шт.

16

VOE 11706969

Valve guide

1шт.

17

VOE 3976534

Valve seat

1шт.

18

VOE 11708520

Valve guide

1шт.

2

VOE 483898

Пробка (заглушка)

1шт.

3

VOE 3976536

Клапан

INLET

1шт.

4

VOE 3976538

Пружина клапана

1шт.

5

VOE 11703877

Valve seal

1шт.

5

VOE 11703877

Valve seal

1шт.

6

VOE 3976540

Valve spring washer

1шт.

7

VOE 3976541

3976541

1шт.

8

VOE 11703878

Клапан выпускной

EXHAUST

1шт.

9

VOE 11703879

Valve seal

1шт.

9

VOE 11703879

Valve seal

1шт.

Выбрано товаров: 23