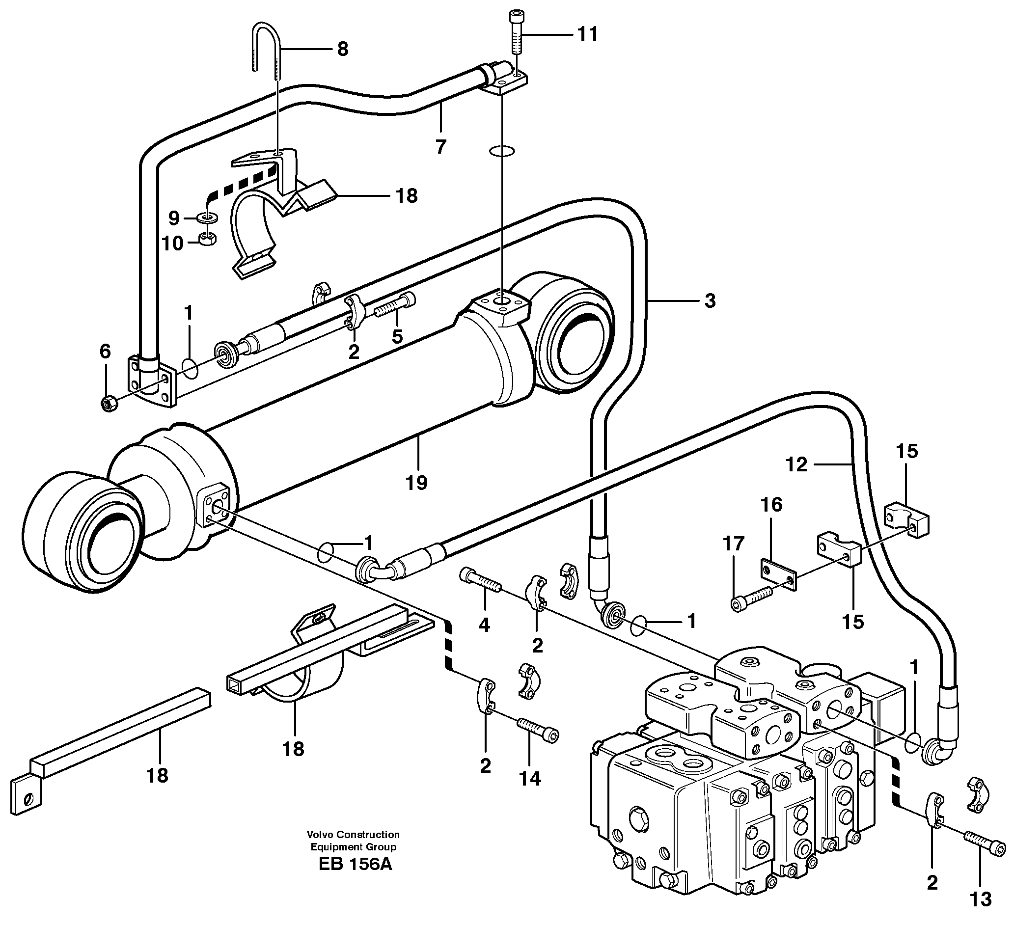
Запчасти Volvo L50D 91041 Tilt function L50D

Схема запчастей Volvo L50D - 91041 Tilt function L50D
FIT
1:1
100%

Артикул

Название

Примечание

Количество

1

VOE 13948699

Кольцо уплотнительное (О-кольцо)

1шт.

1

VOE 13948699

Кольцо уплотнительное (О-кольцо)

1шт.

10

VOE 13945408

Гайка

1шт.

10

VOE 13945408

Гайка

1шт.

11

VOE 959239

Allen Hd Screw

1шт.

12

VOE 13933268

Hose assembly

1шт.

13

VOE 959239

Allen Hd Screw

1шт.

14

VOE 959238

Allen Hd Screw

1шт.

15

VOE 4785479

Зажим

1шт.

15

VOE 4785479

Зажим

1шт.

16

VOE 11003050

Шайба

1шт.

16

VOE 11003050

Шайба

1шт.

17

VOE 13965178

Болт

1шт.

17

VOE 13965178

Болт

1шт.

2

VOE 11015454

Flange half

1шт.

2

VOE 11015454

Flange half

1шт.

3

VOE 13933687

Hose assembly

1шт.

4

VOE 959239

Allen Hd Screw

1шт.

5

VOE 959241

Винт шестигранник (торцевой ключ)

1шт.

6

VOE 13971095

Flange nut

1шт.

6

VOE 13971095

Flange nut

1шт.

7

VOE 11100251

Трубка

1шт.

8

VOE 4739982

Зажим

1шт.

8

VOE 4739982

Зажим

1шт.

9

VOE 13955894

Шайба

1шт.

9

VOE 13955894

Шайба

1шт.

Выбрано товаров: 26