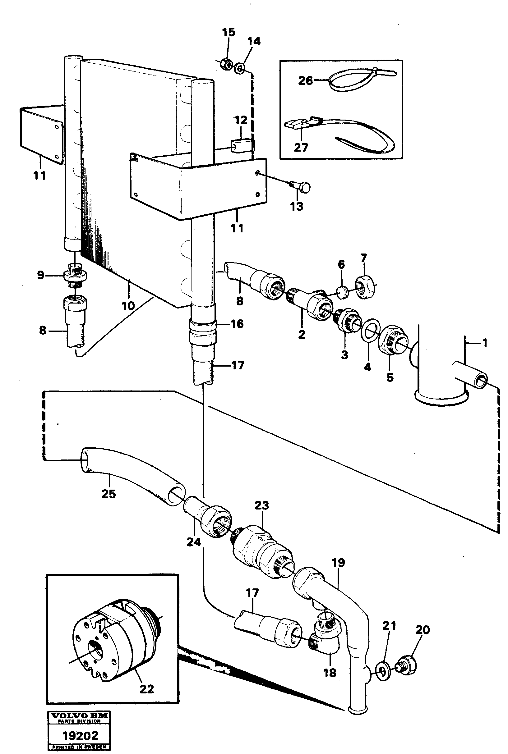
Запчасти Volvo L70 17016 Радиатор масляной для гидравлики L70 L70 S/N -7400/ -60500 USA

Схема запчастей Volvo L70 - 17016 Радиатор масляной для гидравлики L70 L70 S/N -7400/ -60500 USA
FIT
1:1
100%

Артикул

Название

Примечание

Количество

VOE 931212

Кольцо уплотнительное (О-кольцо)

1шт.

VOE 931212

Кольцо уплотнительное (О-кольцо)

1шт.

VOE 931219

Back-up ring

1шт.

VOE 931219

Back-up ring

1шт.

10

VOE 4779068

Масляный радиатор

1шт.

10

VOE 4779068

Масляный радиатор

1шт.

11

VOE 4949032

Кронштейн

1шт.

12

VOE 4881001

Expander

1шт.

12

VOE 4881001

Expander

1шт.

13

VOE 955300

Винт шестигранник

1шт.

13

VOE 955300

Винт шестигранник

1шт.

14

VOE 13955894

Шайба

1шт.

14

VOE 13955894

Шайба

1шт.

15

VOE 955782

Hexagon Nut

1шт.

15

VOE 955782

Hexagon Nut

1шт.

16

VOE 4881395

Nipple

1шт.

17

VOE 932404

Hose assembly

1шт.

18

VOE 931235

Nipple

1шт.

18

VOE 931235

Nipple

1шт.

19

VOE 11002041

Return Pipe

1шт.

2

VOE 964059

T-nipple

1шт.

2

VOE 964059

T-nipple

1шт.

20

VOE 929361

Пробка (заглушка)

1шт.

21

VOE 14013071

Sealing washer

1шт.

21

VOE 14013071

Sealing washer

1шт.

23

VOE 4881231

Check valve

1шт.

23

VOE 4881231

Клапан обратный

1шт.

24

VOE 4948024

Трубка

1шт.

25

VOE 13961198

Hydraulic Hose

1шт.

25

VOE 13961198

Hydraulic Hose

1шт.

26

VOE 4881440

Strip Clamp

1шт.

26

VOE 4881440

Strip Clamp

1шт.

27

VOE 11104606

Retaining Strap

1шт.

27

VOE 11104606

Retaining Strap

1шт.

3

VOE 13943988

Nipple

1шт.

3

VOE 13943988

Nipple

1шт.

4

VOE 14013070

Sealing washer

1шт.

4

VOE 14013070

Sealing washer

1шт.

5

VOE 13966165

Nipple

1шт.

6

VOE 964092

Пробка (заглушка)

1шт.

7

VOE 956988

Fitting Nut

1шт.

7

VOE 956988

Fitting Nut

1шт.

8

VOE 932457

Hose assembly

1шт.

9

VOE 4881395

Nipple

1шт.

Выбрано товаров: 44