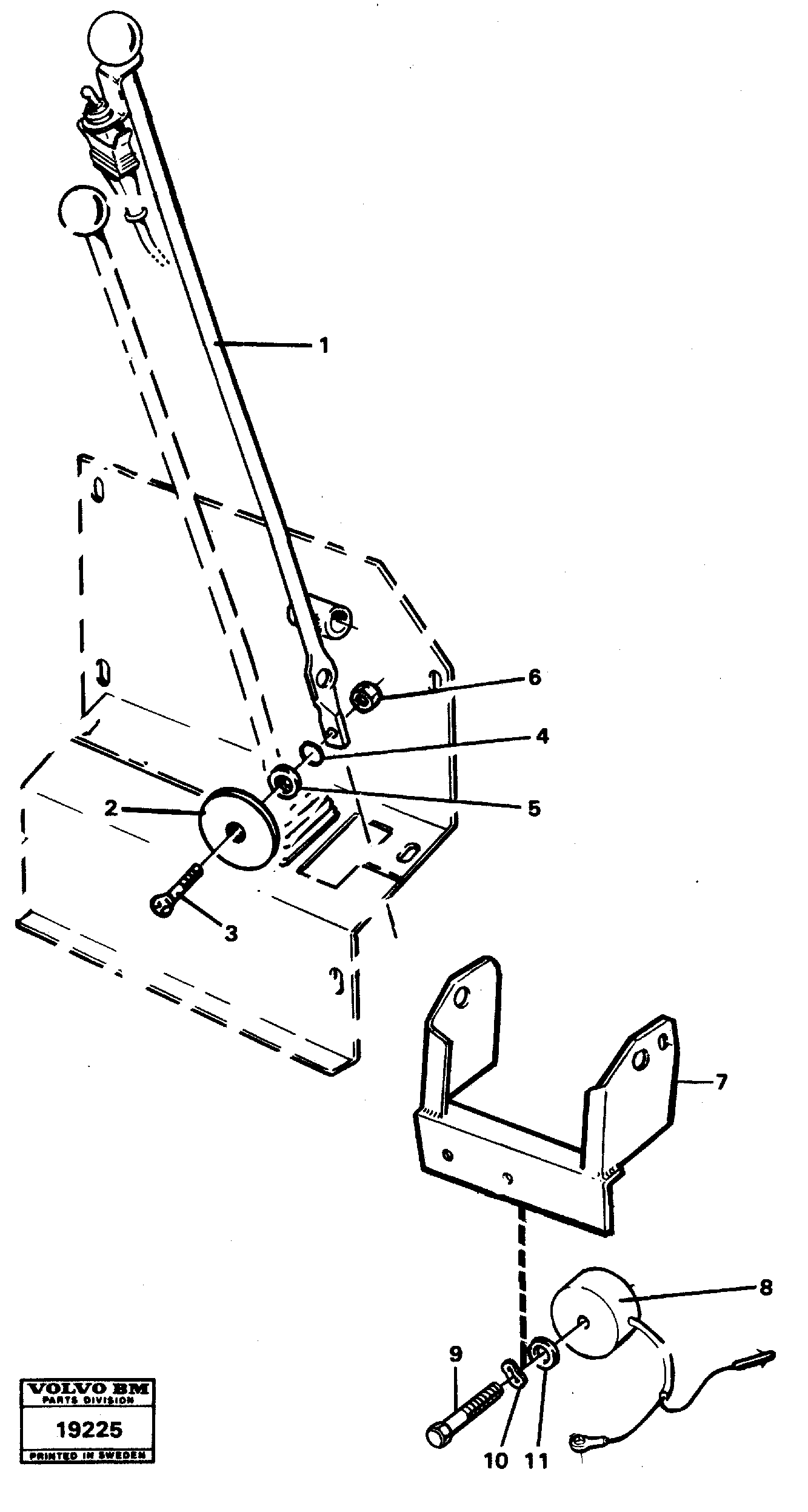
Запчасти Volvo L70 36634 Controls, bucket automatic L70 L70 S/N -7400/ -60500 USA

Схема запчастей Volvo L70 - 36634 Controls, bucket automatic L70 L70 S/N -7400/ -60500 USA
FIT
1:1
100%

Артикул

Название

Примечание

Количество

10

VOE 13941907

Шайба пружинная

1шт.

10

VOE 13941907

Шайба

1шт.

11

VOE 976944

Шайба

1шт.

11

VOE 976944

Шайба

1шт.

2

VOE 4824294

Mgn Armature

1шт.

3

VOE 956190

X Rec Sunk Scr

1шт.

3

VOE 956190

X Rec Sunk Scr

1шт.

4

VOE 13955971

Кольцо уплотнительное (О-кольцо)

1шт.

4

VOE 13955971

Кольцо уплотнительное (О-кольцо)

1шт.

5

VOE 13960138

Шайба

1шт.

5

VOE 13960138

Шайба

1шт.

6

VOE 13963104

Lock nut

1шт.

6

VOE 13963104

Lock nut

1шт.

8

VOE 4880355

Соленоид (электромагнитный клапан)

1шт.

8

VOE 4880355

Соленоид (электромагнитный клапан)

1шт.

9

VOE 13955294

Болт

1шт.

9

VOE 13955294

Болт

1шт.

Выбрано товаров: 17