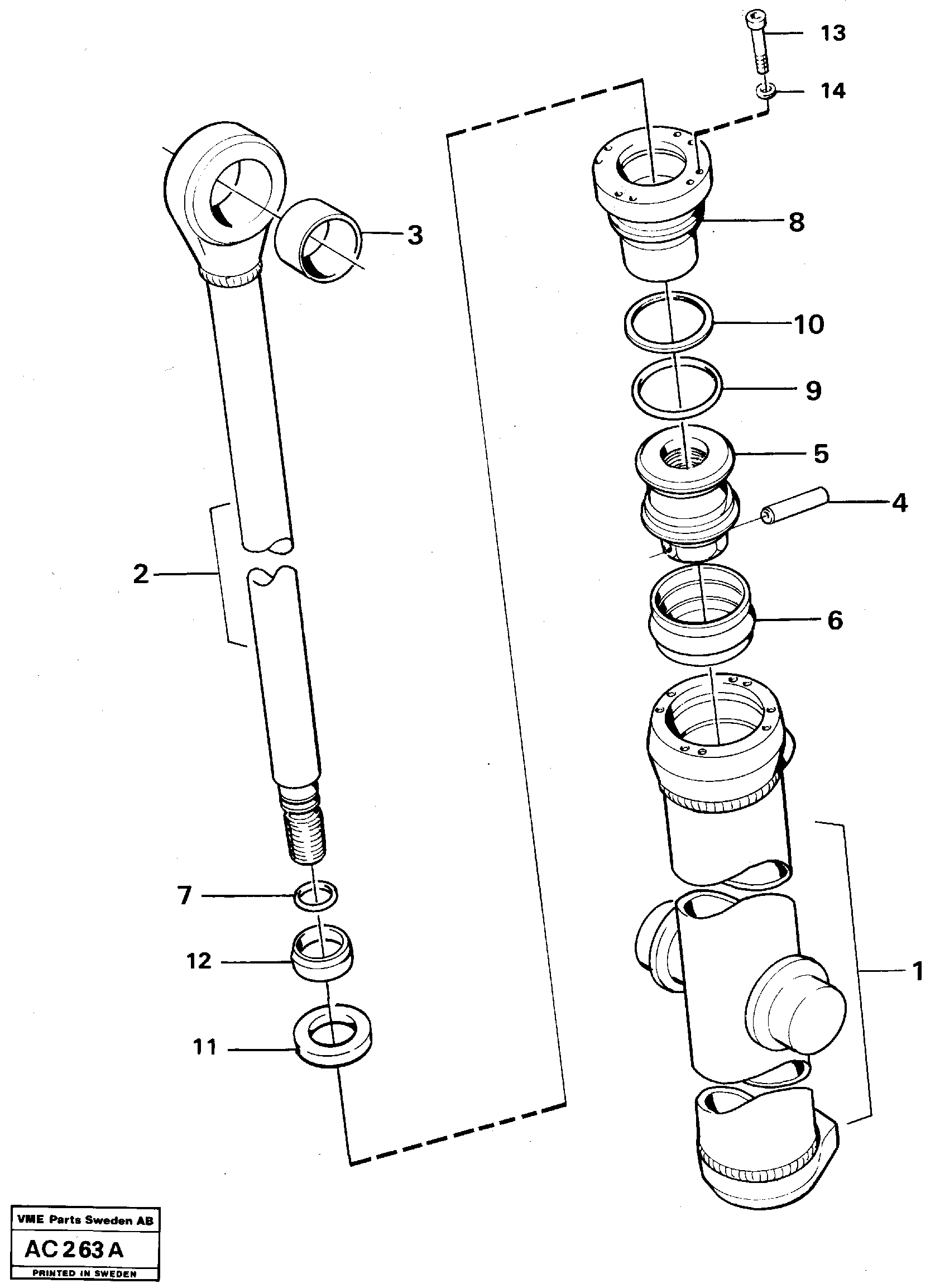
Запчасти Volvo L70 47649 Гидроцилиндр (цилиндр) подъемный L70 L70 S/N 7401- / 60501- USA

Схема запчастей Volvo L70 - 47649 Гидроцилиндр (цилиндр) подъемный L70 L70 S/N 7401- / 60501- USA
FIT
1:1
100%

Артикул

Название

Примечание

Количество

VOE 11990181

Gasket Kit

1шт.

VOE 11005288

Гидроцилиндр

1шт.

1

VOE 11005289

Cylinder tube

1шт.

10

VOE 4786834

Back-up ring

1шт.

11

VOE 4784863

Уплотнение штока поршня

1шт.

11

VOE 4784863

Уплотнение штока поршня

1шт.

12

VOE 11005055

Scraper

1шт.

13

VOE 4782857

Болт

1шт.

13

VOE 4782857

Болт

1шт.

14

VOE 941908

Шайба пружинная

1шт.

14

VOE 941908

Шайба пружинная

1шт.

2

VOE 11005292

Шток поршня

1шт.

3

VOE 4929199

Втулка

1шт.

3

VOE 4929199

Втулка

1шт.

4

VOE 4782719

Палец

1шт.

5

VOE 4782099

Поршень

1шт.

5

VOE 4782099

Поршень

1шт.

6

VOE 4833025

Сальник

1шт.

7

VOE 13960175

Кольцо уплотнительное (О-кольцо)

1шт.

7

VOE 13960175

Кольцо уплотнительное (О-кольцо)

1шт.

8

VOE 11005261

Pstn Rod Guide

1шт.

9

VOE 925079

Кольцо уплотнительное (О-кольцо)

1шт.

9

VOE 925079

Кольцо уплотнительное (О-кольцо)

1шт.

Выбрано товаров: 23