Запчасти Volvo L70B 31573 Гидроцилиндр ATTACHMENTS ATTACHMENTS WHEEL LOADERS GEN. - C

Схема запчастей Volvo L70B - 31573 Гидроцилиндр ATTACHMENTS ATTACHMENTS WHEEL LOADERS GEN. - C
FIT
1:1
100%

Артикул

Название

Примечание

Количество

VOE 925027

Кольцо уплотнительное (О-кольцо)

1шт.

VOE 925027

Кольцо уплотнительное (О-кольцо)

1шт.

VOE 925081

Кольцо уплотнительное (О-кольцо)

1шт.

VOE 925081

Кольцо уплотнительное (О-кольцо)

1шт.

VOE 4786743

Back-up ring

1шт.

VOE 4786743

Back-up ring

1шт.

VOE 4784047

Уплотнение штока поршня

1шт.

VOE 4784047

Уплотнение штока поршня

1шт.

VOE 11005055

Scraper

1шт.

VOE 13960178

Кольцо уплотнительное (О-кольцо)

1шт.

VOE 13960178

Кольцо уплотнительное (О-кольцо)

1шт.

VOE 6630513

Gasket kit

1шт.

VOE 6630513

Gasket kit

1шт.

VOE 11000107

Gasket kit

1шт.

VOE 11000107

Gasket kit

1шт.

VOE 6630511

Gasket kit

1шт.

VOE 6630511

Gasket kit

1шт.

VOE 914538

Retaining ring

1шт.

VOE 914538

Кольцо стопорное

1шт.

VOE 4784762

Шток поршня

1шт.

VOE 4784762

Шток поршня

1шт.

VOE 4784767

Шток поршня

1шт.

VOE 4784814

Гидроцилиндр

PART NO 4784814

1шт.

VOE 4784814

Гидроцилиндр

PART NO 4784814

1шт.

VOE 4784759

Гидроцилиндр

1шт.

VOE 4784759

Гидроцилиндр

1шт.

VOE 4784764

Гидроцилиндр

1шт.

VOE 4784764

Гидроцилиндр

1шт.

VOE 4784790

Гидроцилиндр

1шт.

VOE 4784790

Гидроцилиндр

1шт.

VOE 4784760

Cylinder tube

1шт.

VOE 4784760

Cylinder tube

1шт.

VOE 4784765

Cylinder Tube

1шт.

VOE 4784791

Cylinder tube

1шт.

VOE 4784791

Cylinder tube

1шт.

VOE 356313

Link bearing

1шт.

VOE 356313

Link bearing

1шт.

VOE 4784793

Шток поршня

1шт.

VOE 4784793

Шток поршня

1шт.

VOE 4833375

Поршень

1шт.

VOE 4833375

Поршень

1шт.

VOE 4782538

Поршень

1шт.

VOE 4782538

Поршень

1шт.

VOE 4833027

Сальник

1шт.

VOE 4833026

Сальник

1шт.

VOE 4782720

Палец

1шт.

VOE 4784691

Стакан штока поршня (направляющая)

1шт.

VOE 4784691

Piston rod guide

1шт.

VOE 4784690

Стакан штока поршня (направляющая)

1шт.

VOE 4784690

Piston rod guide

1шт.

VOE 914544

Кольцо стопорное

1шт.

VOE 914544

Retaining ring

1шт.

VOE 4786742

Back-up ring

1шт.

VOE 4786742

Back-up ring

1шт.

VOE 184062

Spherical plain bearing

1шт.

VOE 184062

Spherical plain bearing

1шт.

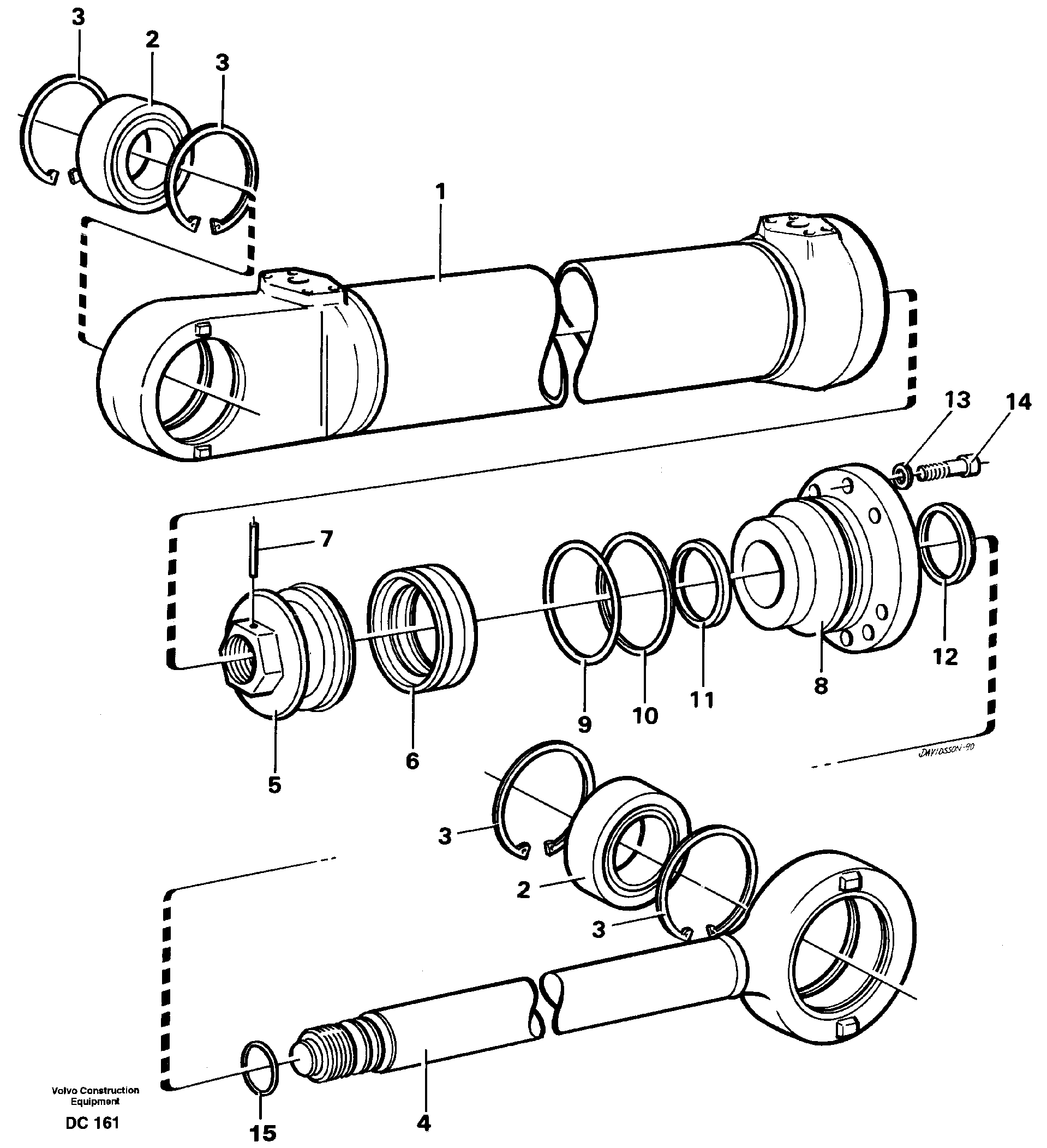
1

VOE 4784815

Cylinder tube

1шт.

1

VOE 4784815

Cylinder tube

1шт.

10

VOE 4786834

Back-up ring

1шт.

11

VOE 4784045

Уплотнение штока поршня

1шт.

11

VOE 4784045

Уплотнение штока поршня

1шт.

12

VOE 11005053

Scraper

1шт.

13

VOE 941908

Шайба пружинная

1шт.

13

VOE 941908

Шайба пружинная

1шт.

14

VOE 4782857

Болт

1шт.

14

VOE 4782857

Болт

1шт.

15

VOE 13960175

Кольцо уплотнительное (О-кольцо)

1шт.

15

VOE 13960175

Кольцо уплотнительное (О-кольцо)

1шт.

2

VOE 183787

Spherical plain bearing

1шт.

2

VOE 183787

Spherical plain bearing

1шт.

3

VOE 914535

Retaining ring

1шт.

3

VOE 914535

Кольцо стопорное

1шт.

4

VOE 4784817

Шток поршня

1шт.

4

VOE 4784817

Шток поршня

1шт.

5

VOE 4782099

Поршень

1шт.

5

VOE 4782099

Поршень

1шт.

6

VOE 4833025

Сальник

1шт.

7

VOE 4782719

Палец

1шт.

8

VOE 4784689

Piston rod guide

1шт.

8

VOE 4784689

Стакан штока поршня (направляющая)

1шт.

9

VOE 925079

Кольцо уплотнительное (О-кольцо)

1шт.

9

VOE 925079

Кольцо уплотнительное (О-кольцо)

1шт.

Выбрано товаров: 82