Запчасти Volvo L70B 19845 German version L70B/L70C VOLVO BM VOLVO BM L70B/L70C SER NO - 13115

Схема запчастей Volvo L70B - 19845 German version L70B/L70C VOLVO BM VOLVO BM L70B/L70C SER NO - 13115
FIT
1:1
100%

Артикул

Название

Примечание

Количество

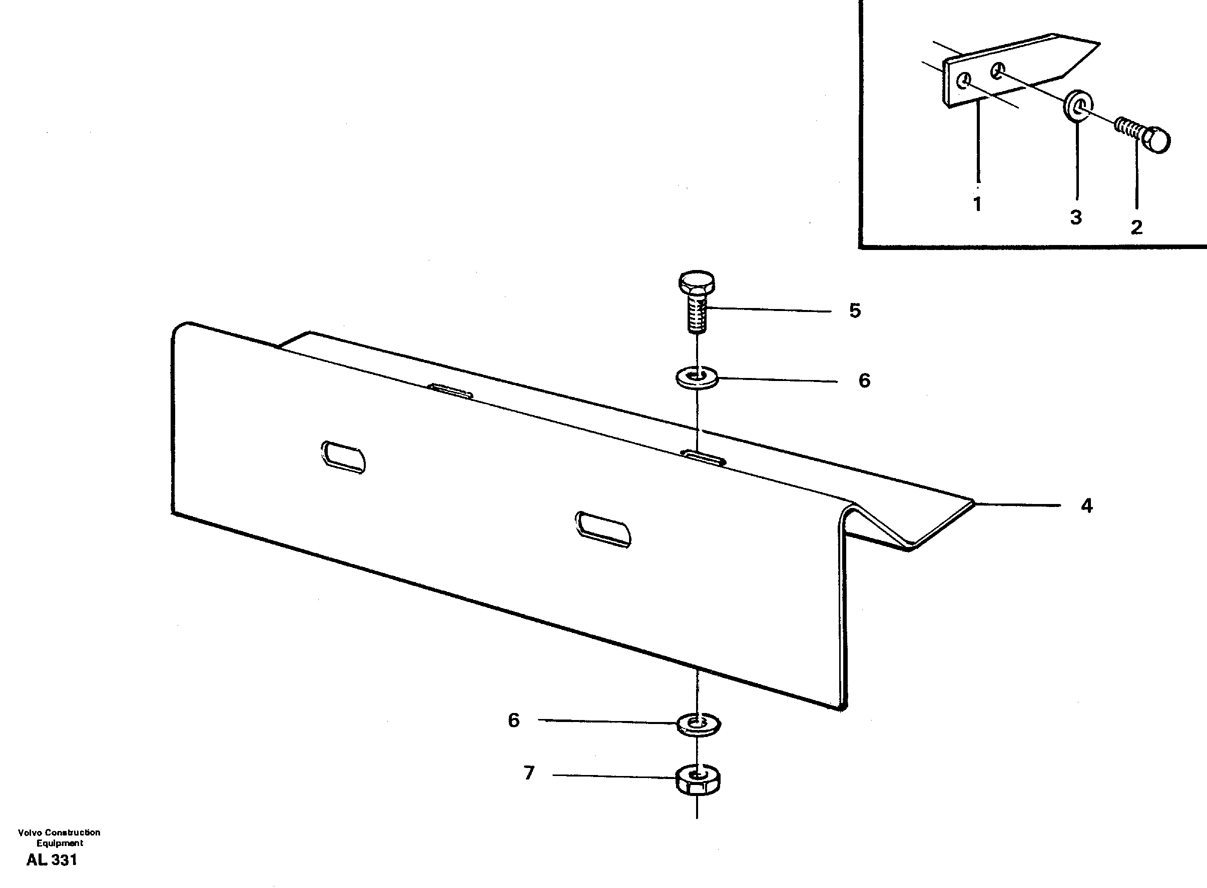
1

VOE 11091636

Position pointer

1шт.

2

VOE 956059

X Rec Screw

1шт.

2

VOE 956059

X Rec Screw

1шт.

3

VOE 13941904

Шайба

1шт.

3

VOE 13941904

Шайба

1шт.

4

VOE 11090910

Anchorage, numb.plate

1шт.

4

VOE 11090910

Anchorage, numb.plate

1шт.

5

VOE 13955272

Болт

1шт.

5

VOE 13955272

Болт

1шт.

6

VOE 976943

Шайба

1шт.

6

VOE 976943

Шайба

1шт.

7

VOE 13955781

Гайка

1шт.

7

VOE 13955781

Гайка

1шт.

Выбрано товаров: 13