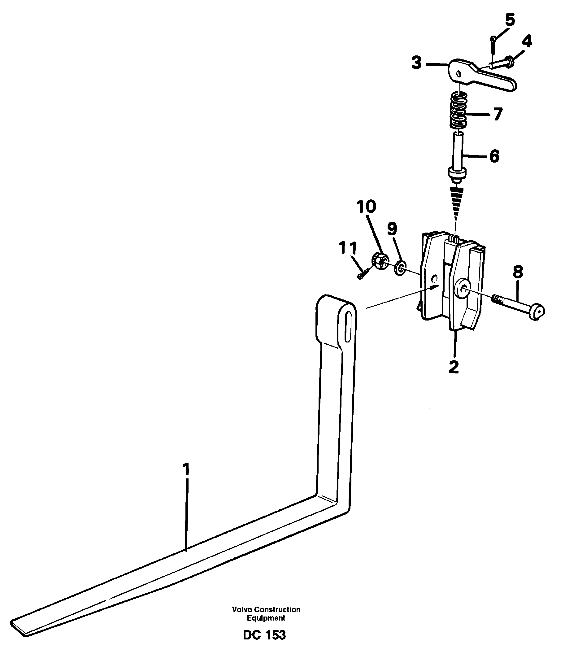
Запчасти Volvo L70C 33998 Fork tines ATTACHMENTS ATTACHMENTS WHEEL LOADERS GEN. - C

Схема запчастей Volvo L70C - 33998 Fork tines ATTACHMENTS ATTACHMENTS WHEEL LOADERS GEN. - C
FIT
1:1
100%

Артикул

Название

Примечание

Количество

10

VOE 13961297

Гайка

1шт.

11

VOE 907873

Cotter Pin

1шт.

3

VOE 11010638

Eccentric lock

1шт.

4

VOE 4808130

4808130

1шт.

5

VOE 907834

Cotter Pin

1шт.

6

VOE 11010637

11010637

1шт.

7

VOE 11010636

Пружина

1шт.

9

VOE 4809879

Шайба

1шт.

Выбрано товаров: 8