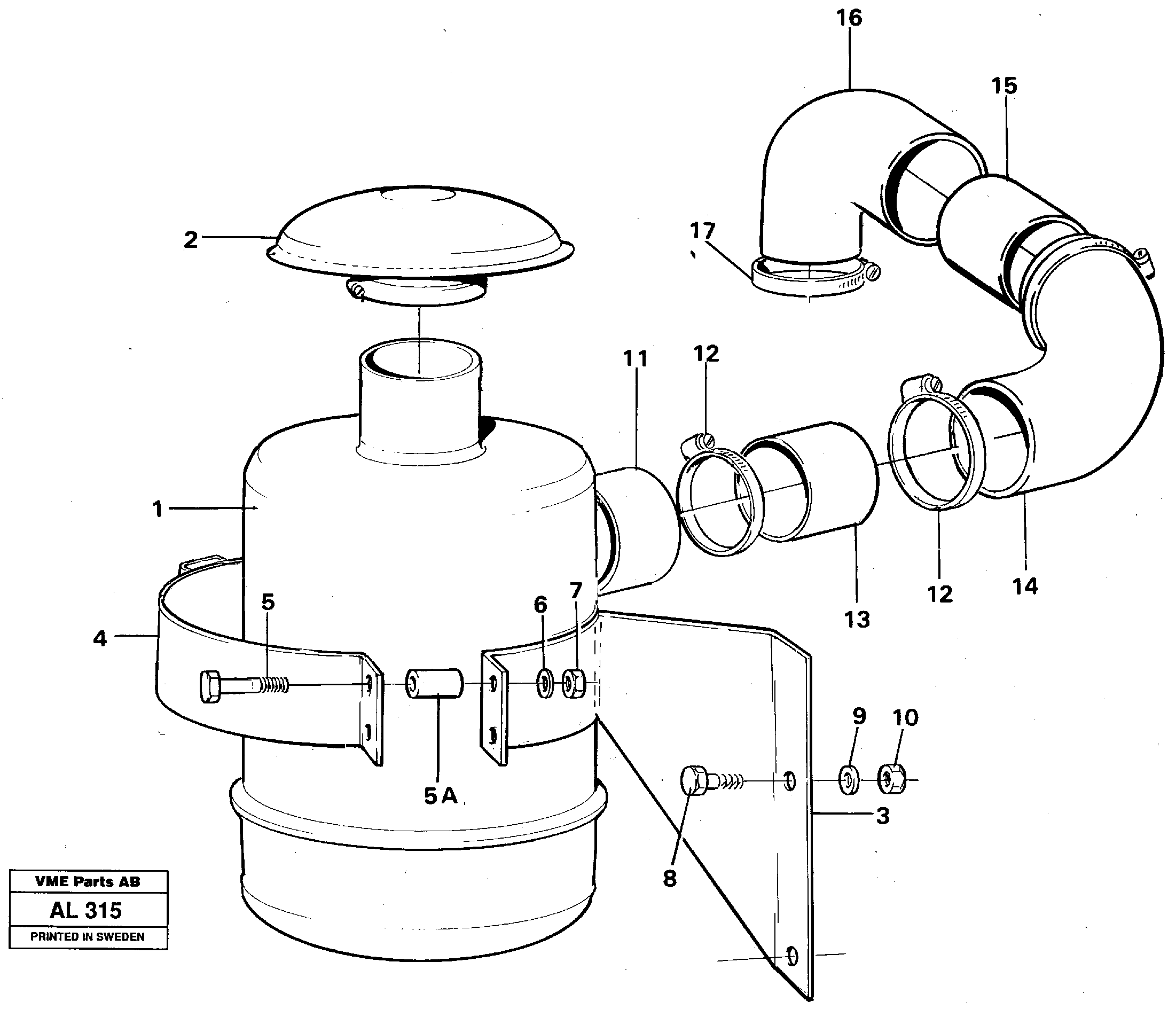
Запчасти Volvo L70C 103181 Oil bath filter L70B/L70C VOLVO BM VOLVO BM L70B/L70C SER NO - 13115

Схема запчастей Volvo L70C - 103181 Oil bath filter L70B/L70C VOLVO BM VOLVO BM L70B/L70C SER NO - 13115
FIT
1:1
100%

Артикул

Название

Примечание

Количество

VOE 943485

Hose clamp

SER NO 13229 -

1шт.

VOE 943485

Hose clamp

SER NO 13229 -

1шт.

VOE 11101114

Трубка

SER NO 13229 -

1шт.

10

VOE 13971083

Lock nut

1шт.

10

VOE 13971083

Lock nut

1шт.

11

VOE 4935990

Шланг

SER NO - 13228

1шт.

11

VOE 4935990

Шланг

SER NO - 13228

1шт.

12

VOE 943485

Hose clamp

SER NO - 13228

1шт.

12

VOE 943485

Hose clamp

SER NO - 13228

1шт.

13

VOE 4777010

Трубка

SER NO - 13228

1шт.

13

VOE 4777010

Трубка

SER NO - 13228

1шт.

14

VOE 4771573

Шланг

1шт.

14

VOE 4771573

Шланг

1шт.

15

VOE 4774283

Трубка

SER NO - 13228

1шт.

16

VOE 4774276

Pipe Bend

1шт.

17

VOE 943484

Hose clamp

1шт.

17

VOE 943484

Hose clamp

1шт.

2

VOE 11707307

Крышка

1шт.

2

VOE 11707307

Крышка

1шт.

3

VOE 11014609

11014609

1шт.

4

VOE 11014563

Brace

1шт.

4

VOE 11014563

Brace

1шт.

5

VOE 955304

Винт шестигранник

1шт.

5

VOE 955304

Винт шестигранник

1шт.

5A

VOE 930440

Spacer ring

1шт.

5A

VOE 930440

Spacer ring

1шт.

6

VOE 13955894

Шайба

1шт.

6

VOE 13955894

Шайба

1шт.

7

VOE 955782

Hexagon nut

1шт.

7

VOE 955782

Hexagon nut

1шт.

8

VOE 13970947

Винт шестигранник

1шт.

8

VOE 13970947

Винт шестигранник

1шт.

9

VOE 13960143

Шайба

1шт.

9

VOE 13960143

Шайба

1шт.

Выбрано товаров: 34