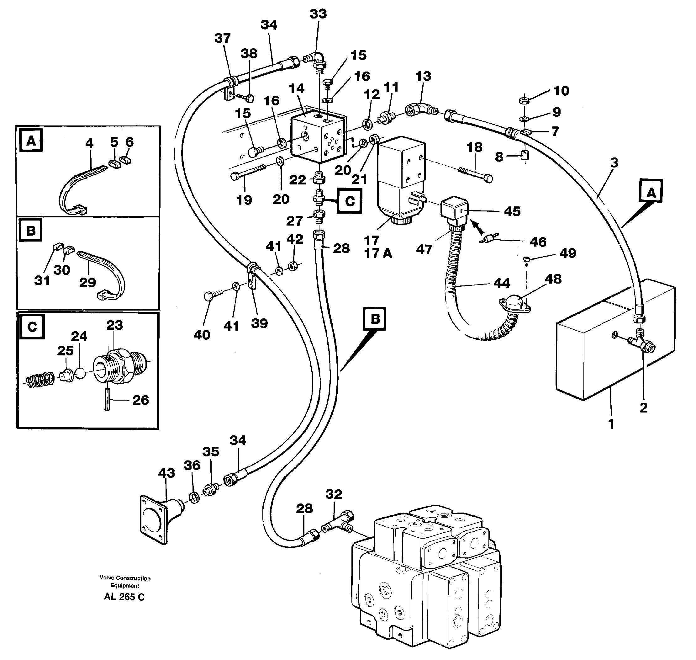
Запчасти Volvo L70C 82593 Controls, differential lock L70B/L70C VOLVO BM VOLVO BM L70B/L70C SER NO - 13115

Схема запчастей Volvo L70C - 82593 Controls, differential lock L70B/L70C VOLVO BM VOLVO BM L70B/L70C SER NO - 13115
FIT
1:1
100%

Артикул

Название

Примечание

Количество

VOE 11993536

Кольцо уплотнительное (О-кольцо)

1шт.

VOE 11993536

Кольцо уплотнительное (О-кольцо)

1шт.

VOE 4881452

Marking sleeve

WHITE. SER NO 12967 -

1шт.

VOE 4881452

Marking sleeve

WHITE. SER NO 12967 -

1шт.

VOE 4881456

Marking sleeve

OR. SER NO 12967 -

1шт.

VOE 4881456

Marking sleeve

OR. SER NO 12967 -

1шт.

10

VOE 946036

Lock nut

SER NO - 11245

1шт.

10

VOE 946036

Lock nut

SER NO - 11245

1шт.

11

VOE 941754

Nipple

1шт.

11

VOE 941754

Nipple

1шт.

12

VOE 13945653

Plane gasket

1шт.

12

VOE 13945653

Plane gasket

1шт.

13

VOE 13945357

Elbow nipple

1шт.

13

VOE 13945357

Elbow nipple

1шт.

14

VOE 11090363

Connection block

1шт.

14

VOE 11090363

Connection block

1шт.

15

VOE 960630

Пробка (заглушка)

1шт.

15

VOE 960630

Пробка (заглушка)

1шт.

16

VOE 13945653

Plane gasket

1шт.

16

VOE 13945653

Plane gasket

1шт.

17

VOE 11090349

Встроенный клапан в сборе

1шт.

17

VOE 11090349

Встроенный клапан в сборе

1шт.

17A

VOE 11993637

Sealing kit

1шт.

17A

VOE 11993637

Sealing kit

1шт.

18

VOE 959193

Hex. socket screw

1шт.

18

VOE 959193

Винт шестигранник (торцевой ключ)

1шт.

19

VOE 955304

Винт шестигранник

1шт.

19

VOE 955304

Винт шестигранник

1шт.

2

VOE 13944262

Joint nipple

1шт.

2

VOE 13944262

Joint nipple

1шт.

20

VOE 13955894

Шайба

1шт.

20

VOE 13955894

Шайба

1шт.

21

VOE 13945408

Гайка

1шт.

21

VOE 13945408

Гайка

1шт.

22

VOE 11090474

Nipple

1шт.

22

VOE 11090474

Nipple

1шт.

23

VOE 11090541

Non-return valve

1шт.

23

VOE 11090541

Клапан обратный

1шт.

24

VOE 192601

Ball

1шт.

24

VOE 192601

Ball

1шт.

25

VOE 11025647

Peg

1шт.

25

VOE 11025647

Peg

1шт.

26

VOE 13951941

Spring pin

1шт.

26

VOE 13951941

Spring pin

1шт.

27

VOE 11090446

Nipple

1шт.

27

VOE 11090446

Nipple

1шт.

28

VOE 13933489

Hose assembly

1шт.

28

VOE 13933489

Hose assembly

1шт.

29

VOE 4881440

Cable tie

1шт.

29

VOE 4881440

Cable tie

1шт.

3

VOE 13933491

Hose assembly

1шт.

3

VOE 13933491

Hose assembly

1шт.

30

VOE 4881451

Marking sleeve

YELL. SER NO - 12966

1шт.

30

VOE 4881451

Marking sleeve

YELL. SER NO - 12966

1шт.

31

VOE 4881455

Marking sleeve

RED. SER NO 12967 -

1шт.

31

VOE 4881455

Marking sleeve

RED. SER NO 12967 -

1шт.

32

VOE 4821861

Nipple

1шт.

32

VOE 4821861

Nipple

1шт.

33

VOE 4881083

Nipple

1шт.

33

VOE 4881083

Nipple

1шт.

34

VOE 13933488

Hose assembly

1шт.

35

VOE 4863732

Clutch

1шт.

36

VOE 11993536

Кольцо уплотнительное (О-кольцо)

1шт.

36

VOE 11993536

Кольцо уплотнительное (О-кольцо)

1шт.

37

VOE 941950

Зажим

1шт.

37

VOE 941950

Зажим

1шт.

38

VOE 946440

Flange screw

1шт.

38

VOE 946440

Flange screw

1шт.

39

VOE 952629

Зажим

1шт.

39

VOE 952629

Зажим

1шт.

4

VOE 4881440

Cable tie

1шт.

4

VOE 4881440

Cable tie

1шт.

40

VOE 955274

Винт шестигранник

1шт.

40

VOE 955274

Винт шестигранник

1шт.

41

VOE 955893

Шайба

1шт.

41

VOE 955893

Шайба

1шт.

42

VOE 946035

Lock nut

1шт.

42

VOE 946035

Lock nut

1шт.

44

VOE 11091269

11091269

1шт.

45

VOE 6646637

Contact housing

1шт.

45

VOE 6646637

Contact housing

1шт.

46

VOE 4803274

Диод

1шт.

46

VOE 4803274

Диод

1шт.

47

VOE 4803794

Гайка

1шт.

47

VOE 4803794

Гайка

1шт.

48

VOE 1589502

Foot operated switch

1шт.

48

VOE 1589502

Foot operated switch

1шт.

49

VOE 955126

Cross recessed screw

SER NO 12436 -

1шт.

49

VOE 955126

Cross recessed screw

SER NO 12436 -

1шт.

5

VOE 4881455

Marking sleeve

RED

1шт.

5

VOE 4881455

Marking sleeve

RED

1шт.

6

VOE 4881459

Marking sleeve

BLUE

1шт.

6

VOE 4881459

Marking sleeve

BLUE

1шт.

7

VOE 941950

Зажим

SER NO - 11245

1шт.

7

VOE 941950

Зажим

SER NO - 11245

1шт.

8

VOE 910373

Вставка

SER NO - 11245

1шт.

9

VOE 13955894

Шайба

SER NO - 11245

1шт.

9

VOE 13955894

Шайба

SER NO - 11245

1шт.

Выбрано товаров: 98