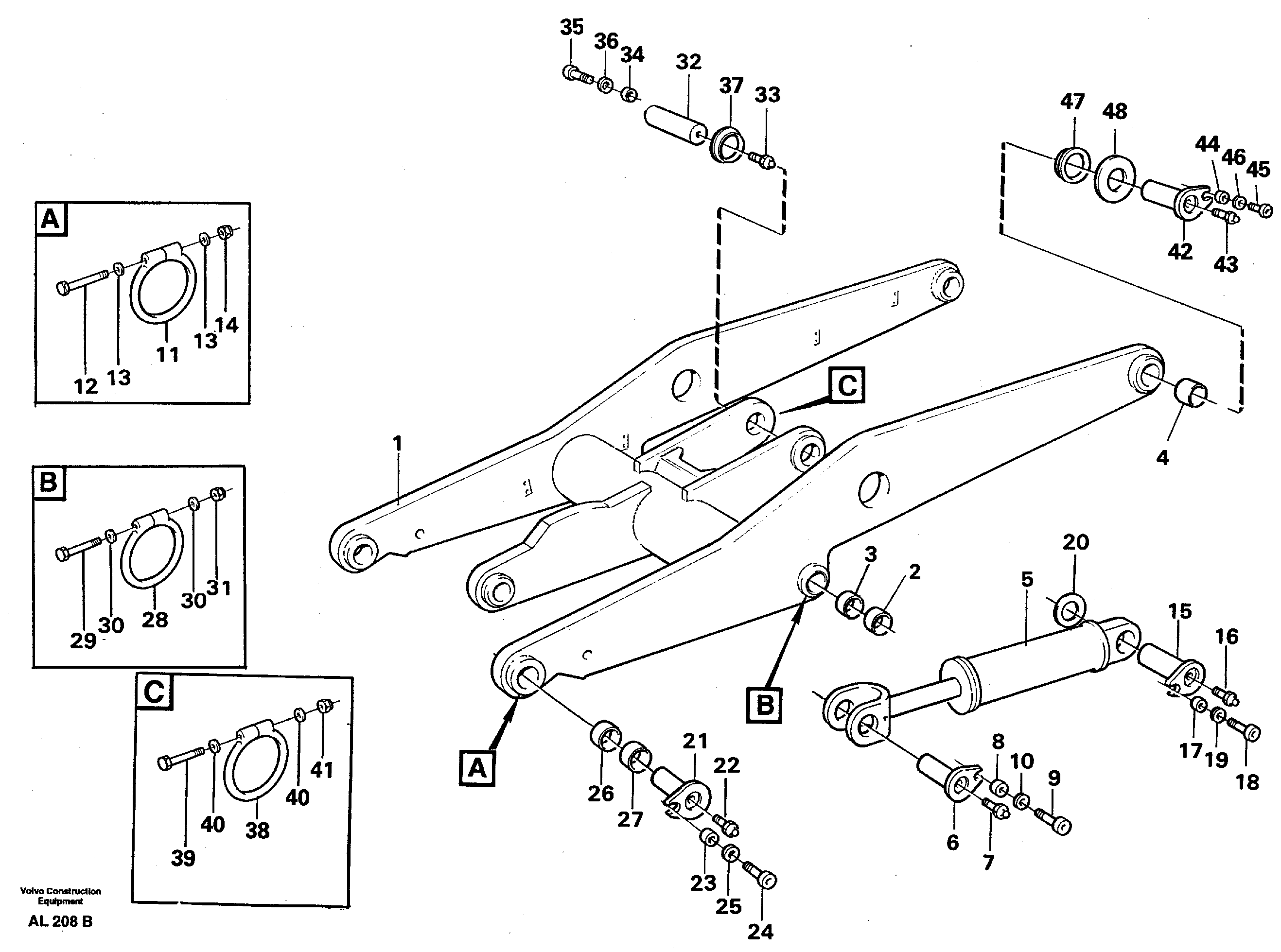
Запчасти Volvo L70C 23890 Lifting unit L70B/L70C VOLVO BM VOLVO BM L70B/L70C SER NO - 13115

Схема запчастей Volvo L70C - 23890 Lifting unit L70B/L70C VOLVO BM VOLVO BM L70B/L70C SER NO - 13115
FIT
1:1
100%

Артикул

Название

Примечание

Количество

VOE 11100597

Lifting frame work

SER NO 11777 - 12837

1шт.

VOE 4851533

Кольцо уплотнительное (О-кольцо)

SER NO 12260 -

1шт.

VOE 4851533

Кольцо уплотнительное (О-кольцо)

SER NO 12260 -

1шт.

1

VOE 11090076

Lifting frame work

SER NO - 11776

1шт.

10

VOE 13960145

Шайба

1шт.

10

VOE 13960145

Шайба

1шт.

11

VOE 4824482

Кольцо уплотнительное (О-кольцо)

SER NO - 12259

1шт.

11

VOE 4824482

Кольцо уплотнительное (О-кольцо)

SER NO - 12259

1шт.

12

VOE 955259

Винт шестигранник

1шт.

12

VOE 955259

Винт шестигранник

1шт.

13

VOE 13940090

Шайба

1шт.

13

VOE 13940090

Шайба

1шт.

14

VOE 13963104

Lock nut

1шт.

14

VOE 13963104

Lock nut

1шт.

15

VOE 11091998

Палец

1шт.

16

VOE 11025816

Lubricating nipple

1шт.

16

VOE 11025816

Lubricating nipple

1шт.

17

VOE 11025923

Вставка

1шт.

17

VOE 11025923

Вставка

1шт.

18

VOE 13970972

Винт шестигранник

1шт.

18

VOE 13970972

Винт шестигранник

1шт.

19

VOE 13960145

Шайба

1шт.

19

VOE 13960145

Шайба

1шт.

2

VOE 4880376

Втулка

1шт.

2

VOE 4880376

Втулка

1шт.

20

VOE 11004705

Шайба

1шт.

21

VOE 11091998

Палец

1шт.

22

VOE 11025816

Lubricating nipple

1шт.

22

VOE 11025816

Lubricating nipple

1шт.

23

VOE 11025923

Вставка

1шт.

23

VOE 11025923

Вставка

1шт.

24

VOE 13970972

Винт шестигранник

1шт.

24

VOE 13970972

Винт шестигранник

1шт.

25

VOE 13960145

Шайба

1шт.

25

VOE 13960145

Шайба

1шт.

26

VOE 4880376

Втулка

SE SB WLO 56,09.56

1шт.

26

VOE 4880376

Втулка

SE SB WLO 56,09.56

1шт.

27

VOE 4881136

Втулка

SE SB WLO 56,09.56

1шт.

27

VOE 4881136

Втулка

SE SB WLO 56,09.56

1шт.

28

VOE 4824482

Кольцо уплотнительное (О-кольцо)

1шт.

28

VOE 4824482

Кольцо уплотнительное (О-кольцо)

1шт.

29

VOE 955259

Винт шестигранник

1шт.

29

VOE 955259

Винт шестигранник

1шт.

3

VOE 4881136

Втулка

1шт.

3

VOE 4881136

Втулка

1шт.

30

VOE 13940090

Шайба

1шт.

30

VOE 13940090

Шайба

1шт.

31

VOE 13963104

Lock nut

1шт.

31

VOE 13963104

Lock nut

1шт.

32

VOE 11090111

11090111

1шт.

33

VOE 11025816

Lubricating nipple

1шт.

33

VOE 11025816

Lubricating nipple

1шт.

34

VOE 11100903

Striker plate

1шт.

34

VOE 11100903

Striker plate

1шт.

35

VOE 13970972

Винт шестигранник

1шт.

35

VOE 13970972

Винт шестигранник

1шт.

36

VOE 13955897

Шайба

1шт.

36

VOE 13955897

Шайба

1шт.

37

VOE 11048020

Кольцо уплотнительное

SER NO - 12259

1шт.

37

VOE 11048020

Кольцо уплотнительное

SER NO - 12259

1шт.

38

VOE 4824483

Кольцо уплотнительное (О-кольцо)

SER NO 12260 -

1шт.

38

VOE 4824483

Кольцо уплотнительное (О-кольцо)

SER NO 12260 -

1шт.

39

VOE 955259

Винт шестигранник

SER NO 12260 -

1шт.

39

VOE 955259

Винт шестигранник

SER NO 12260 -

1шт.

4

VOE 11090106

Втулка

1шт.

4

VOE 11090106

Втулка

1шт.

40

VOE 13940090

Шайба

SER NO 12260 -

1шт.

40

VOE 13940090

Шайба

SER NO 12260 -

1шт.

41

VOE 13963104

Lock nut

SER NO 12260 -

1шт.

41

VOE 13963104

Lock nut

SER NO 12260 -

1шт.

42

VOE 11090112

Палец

1шт.

43

VOE 11025816

Lubricating nipple

1шт.

43

VOE 11025816

Lubricating nipple

1шт.

44

VOE 11025923

Вставка

1шт.

44

VOE 11025923

Вставка

1шт.

45

VOE 13970972

Винт шестигранник

1шт.

45

VOE 13970972

Винт шестигранник

1шт.

46

VOE 13960145

Шайба

1шт.

46

VOE 13960145

Шайба

1шт.

47

VOE 11048020

Кольцо уплотнительное

1шт.

47

VOE 11048020

Кольцо уплотнительное

1шт.

48

VOE 11090188

Шайба

1шт.

48

VOE 11090188

Шайба

1шт.

6

VOE 11090110

Палец

1шт.

7

VOE 11025816

Lubricating nipple

1шт.

7

VOE 11025816

Lubricating nipple

1шт.

8

VOE 11025923

Вставка

1шт.

8

VOE 11025923

Вставка

1шт.

9

VOE 13970972

Винт шестигранник

1шт.

9

VOE 13970972

Винт шестигранник

1шт.

Выбрано товаров: 90