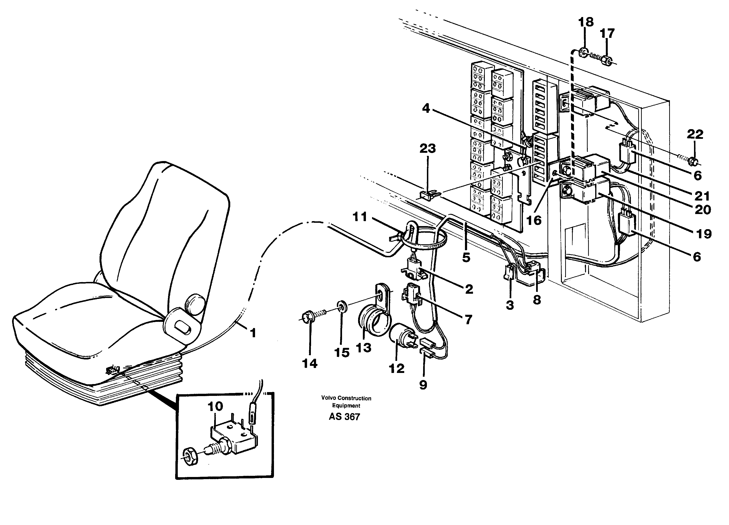
Запчасти Volvo L70C 24937 Electrical system, parking brake alarm L70C SER NO 13116-, SER NO BRAZIL 70007-

Схема запчастей Volvo L70C - 24937 Electrical system, parking brake alarm L70C SER NO 13116-, SER NO BRAZIL 70007-
FIT
1:1
100%

Артикул

Название

Примечание

Количество

1

VOE 11041829

11041829

1шт.

10

VOE 4787427

Microswitch

1шт.

10

VOE 4787427

Microswitch

1шт.

11

VOE 4881438

Cable tie

1шт.

11

VOE 4881438

Cable tie

1шт.

12

VOE 828587

Buzzer

1шт.

12

VOE 828587

Buzzer

1шт.

13

VOE 13949997

Зажим

1шт.

13

VOE 13949997

Зажим

1шт.

14

VOE 946671

Flange screw

1шт.

14

VOE 946671

Flange screw

1шт.

15

VOE 13955894

Шайба

1шт.

15

VOE 13955894

Шайба

1шт.

16

VOE 11014573

Attaching Plate

1шт.

17

VOE 190665

Винт шестигранник

1шт.

17

VOE 190665

Винт шестигранник

1шт.

18

VOE 13940090

Шайба

1шт.

18

VOE 13940090

Шайба

1шт.

19

VOE 4786690

Реле

RE24

1шт.

19

VOE 4786690

Реле

RE24

1шт.

2

VOE 13948995

Pin housing

1шт.

2

VOE 13948995

Pin housing

1шт.

20

VOE 4803319

Delay relay

RT1

1шт.

20

VOE 4803319

Delay relay

RT1

1шт.

21

VOE 11041913

Wire

1шт.

21

VOE 11041913

Wire

1шт.

22

VOE 947107

Flange screw

1шт.

22

VOE 947107

Flange screw

1шт.

23

VOE 13969160

Fuse

FU53, 5A

1шт.

23

VOE 13969160

Fuse

FU53, 5A

1шт.

3

VOE 13949597

Изолятор

1шт.

3

VOE 13949597

Protecting sleeve

1шт.

4

VOE 11041913

Wire

1шт.

4

VOE 11041913

Wire

1шт.

5

VOE 11041073

11041073

1шт.

6

VOE 977184

Изолятор

1шт.

6

VOE 977184

Картер (корпус)

1шт.

7

VOE 13948996

Изолятор

1шт.

7

VOE 13948996

Изолятор

1шт.

8

VOE 13949597

Изолятор

1шт.

8

VOE 13949597

Protecting sleeve

1шт.

9

VOE 13947848

Изолятор

1шт.

9

VOE 13947848

Картер (корпус)

1шт.

Выбрано товаров: 43