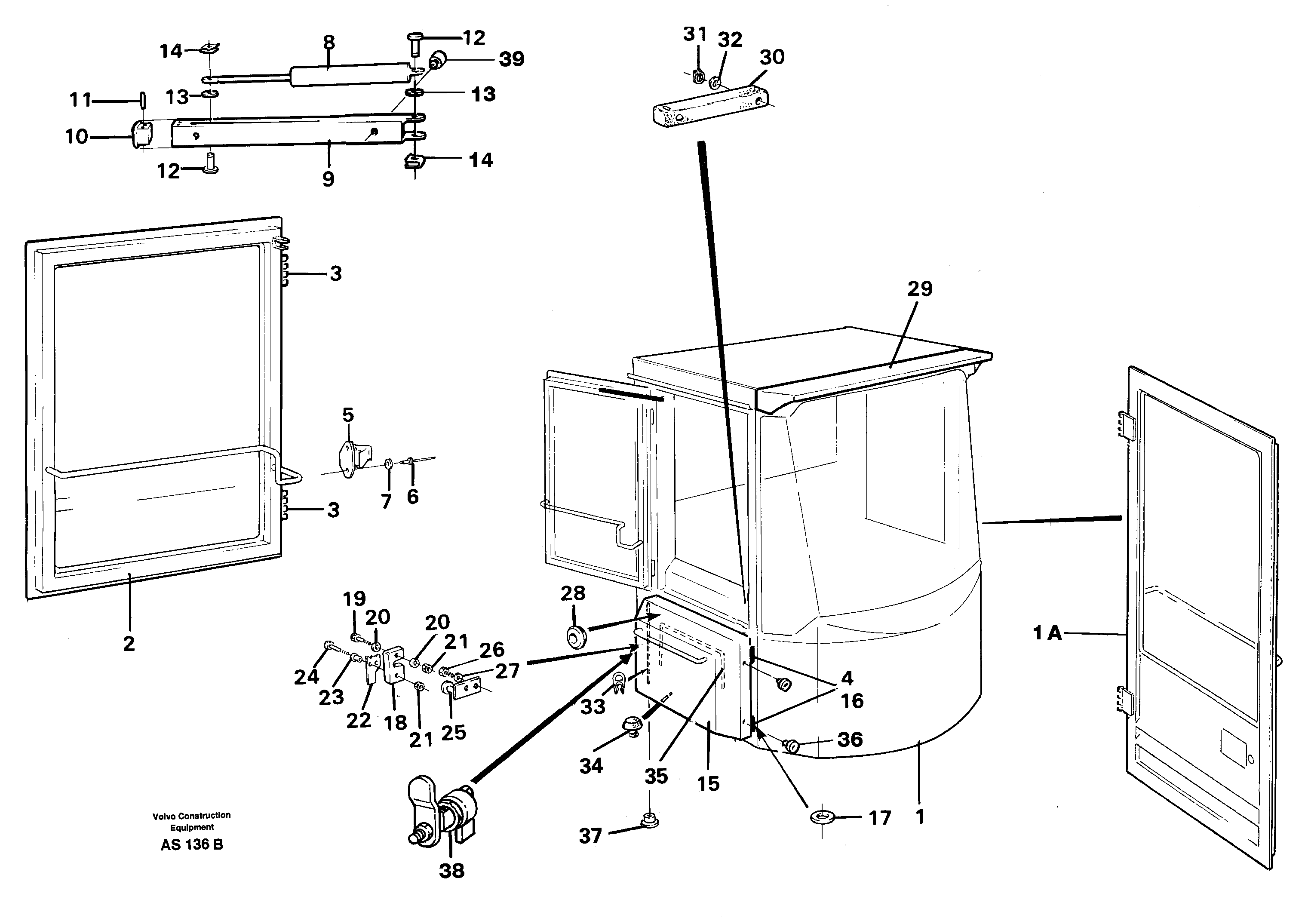
Запчасти Volvo L70C 65913 Cab body L70C SER NO 13116-, SER NO BRAZIL 70007-

Схема запчастей Volvo L70C - 65913 Cab body L70C SER NO 13116-, SER NO BRAZIL 70007-
FIT
1:1
100%

Артикул

Название

Примечание

Количество

VOE 11104810

Cab Framework

93675

1шт.

VOE 11708215

Hinge pin

1шт.

VOE 11708215

Hinge pin

1шт.

VOE 13962658

Шайба

1шт.

VOE 13962658

Шайба

1шт.

VOE 11104126

Rubber moulding

93675. L=2900MM

1шт.

VOE 4785415

4785415

L=810MM, CAB 14829 -

1шт.

1

VOE 11007600

Cab framework

1шт.

10

VOE 11100193

End Piece

1шт.

11

VOE 13951967

Spring pin

(951967)

1шт.

11

VOE 13951967

Spring pin

(951967)

1шт.

12

VOE 942290

Retaining ring bolt

1шт.

12

VOE 942290

Retaining ring bolt

1шт.

13

VOE 13947757

Шайба

(947757)

1шт.

13

VOE 13947757

Шайба

(947757)

1шт.

14

VOE 13969158

Lock brace

(969158)

1шт.

15

VOE 11104098

Hatch

1шт.

16

VOE 4936925

Weld hinge

1шт.

16

VOE 4936925

Weld hinge

1шт.

17

VOE 4936344

Шайба

1шт.

17

VOE 4936344

Шайба

1шт.

18

VOE 11006991

Lock

1шт.

19

VOE 940132

Винт шестигранник

1шт.

19

VOE 940132

Винт шестигранник

1шт.

2

VOE 11006700

Window

1шт.

2

VOE 11006700

Window

1шт.

20

VOE 13955894

Шайба

1шт.

20

VOE 13955894

Шайба

1шт.

21

VOE 955782

Hexagon nut

1шт.

21

VOE 955782

Hexagon nut

1шт.

22

VOE 11007042

11007042

1шт.

23

VOE 11006944

Spacer sleeve

1шт.

24

VOE 13955298

Болт

(955298)

1шт.

24

VOE 13955298

Болт

(955298)

1шт.

25

VOE 11007038

Anchorage

1шт.

26

VOE 971319

Болт

1шт.

26

VOE 971319

Винт шестигранник (торцевой ключ)

1шт.

27

VOE 955892

Шайба

1шт.

27

VOE 955892

Шайба

1шт.

28

VOE 941267

Пробка (заглушка)

1шт.

28

VOE 941267

Пробка (заглушка)

1шт.

29

VOE 11007964

Roof panel

1шт.

29

VOE 11007964

Roof panel

1шт.

3

VOE 11006738

Hinge

1шт.

3

VOE 11006738

Hinge

1шт.

30

VOE 11007034

Window catch

1шт.

30

VOE 11007034

Window catch

1шт.

31

VOE 13951669

Retaining ring

(951669)

1шт.

31

VOE 13951669

Retaining ring

(951669)

1шт.

32

VOE 13955894

Шайба

1шт.

32

VOE 13955894

Шайба

1шт.

33

VOE 4786044

Прокладка стекла

L=520MM

1шт.

34

VOE 667751

Buffer

1шт.

34

VOE 667751

Buffer

1шт.

35

VOE 4881656

Framework moulding

L=810MM, CAB - 14828

1шт.

35

VOE 4881656

Framework moulding

L=810MM, CAB - 14828

1шт.

36

VOE 667751

Buffer

1шт.

36

VOE 667751

Buffer

1шт.

37

VOE 11007797

Пробка (заглушка)

1шт.

39

VOE 667751

Buffer

1шт.

39

VOE 667751

Buffer

1шт.

4

VOE 4936924

Weld hinge

1шт.

4

VOE 4936924

Weld hinge

1шт.

5

VOE 11104075

Latch

1шт.

5

VOE 11104075

Latch

1шт.

6

VOE 13965596

Blind rivet

(13942672)

1шт.

6

VOE 13965596

Blind rivet

(13942672)

1шт.

7

VOE 13940090

Шайба

(940090)

1шт.

7

VOE 13940090

Шайба

(940090)

1шт.

8

VOE 11006826

Gas spring

1шт.

8

VOE 11006826

Gas spring

1шт.

9

VOE 11006706

Door stop

1шт.

9

VOE 11006706

Door stop

1шт.

Выбрано товаров: 73