Запчасти Volvo L70D 32564 Filter cover L70D

Схема запчастей Volvo L70D - 32564 Filter cover L70D
FIT
1:1
100%

Артикул

Название

Примечание

Количество

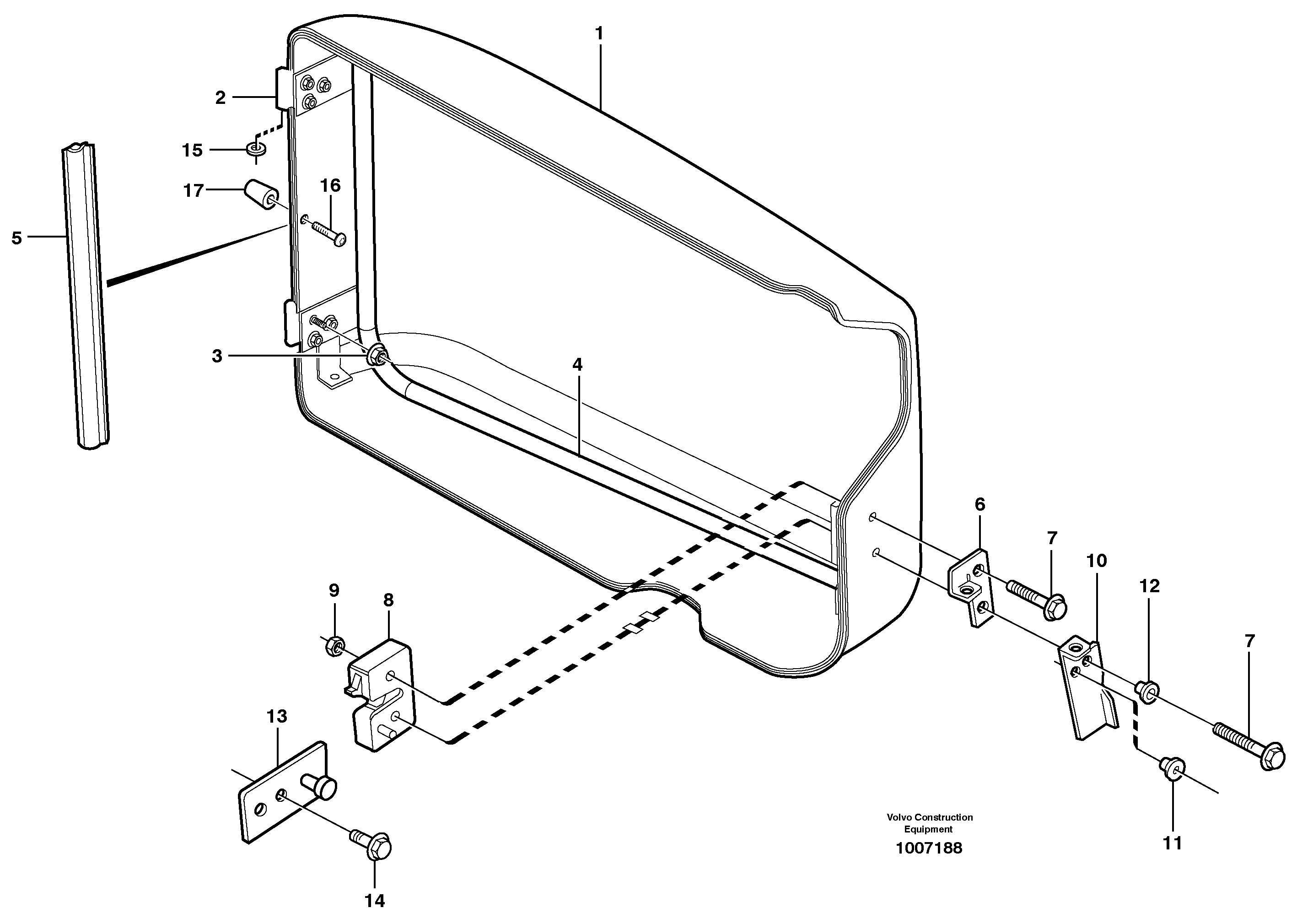
1

VOE 11104240

Hatch

1шт.

10

VOE 11104609

Handle

1шт.

11

VOE 1258140

Sealing sleeve

1шт.

12

VOE 11006944

Spacer sleeve

1шт.

13

VOE 11104776

Anchorage

1шт.

14

VOE 969420

Винт шестигранник (торцевой ключ)

1шт.

14

VOE 969420

Винт шестигранник (торцевой ключ)

1шт.

15

VOE 4936344

Шайба

1шт.

15

VOE 4936344

Шайба

1шт.

16

VOE 981208

Винт шестигранник (торцевой ключ)

1шт.

16

VOE 981208

Болт

1шт.

17

VOE 11007497

Damper

1шт.

2

VOE 11104523

Hinge

1шт.

3

VOE 981447

Flange lock nut

1шт.

3

VOE 981447

Flange lock nut

1шт.

4

VOE 11104545

Tube assembly

1шт.

5

VOE 11104519

11104519

L=2500MM

1шт.

6

VOE 11104610

11104610

1шт.

7

VOE 13965179

Болт

1шт.

7

VOE 13965179

Screw

1шт.

7

VOE 13947760

Болт

1шт.

7

VOE 13947760

Screw

1шт.

8

VOE 11006991

Lock

1шт.

9

VOE 948645

Flange lock nut

1шт.

9

VOE 948645

Flange lock nut

1шт.

Выбрано товаров: 25