Запчасти Volvo L70D 21025 Toolbox L70D

Схема запчастей Volvo L70D - 21025 Toolbox L70D
FIT
1:1
100%

Артикул

Название

Примечание

Количество

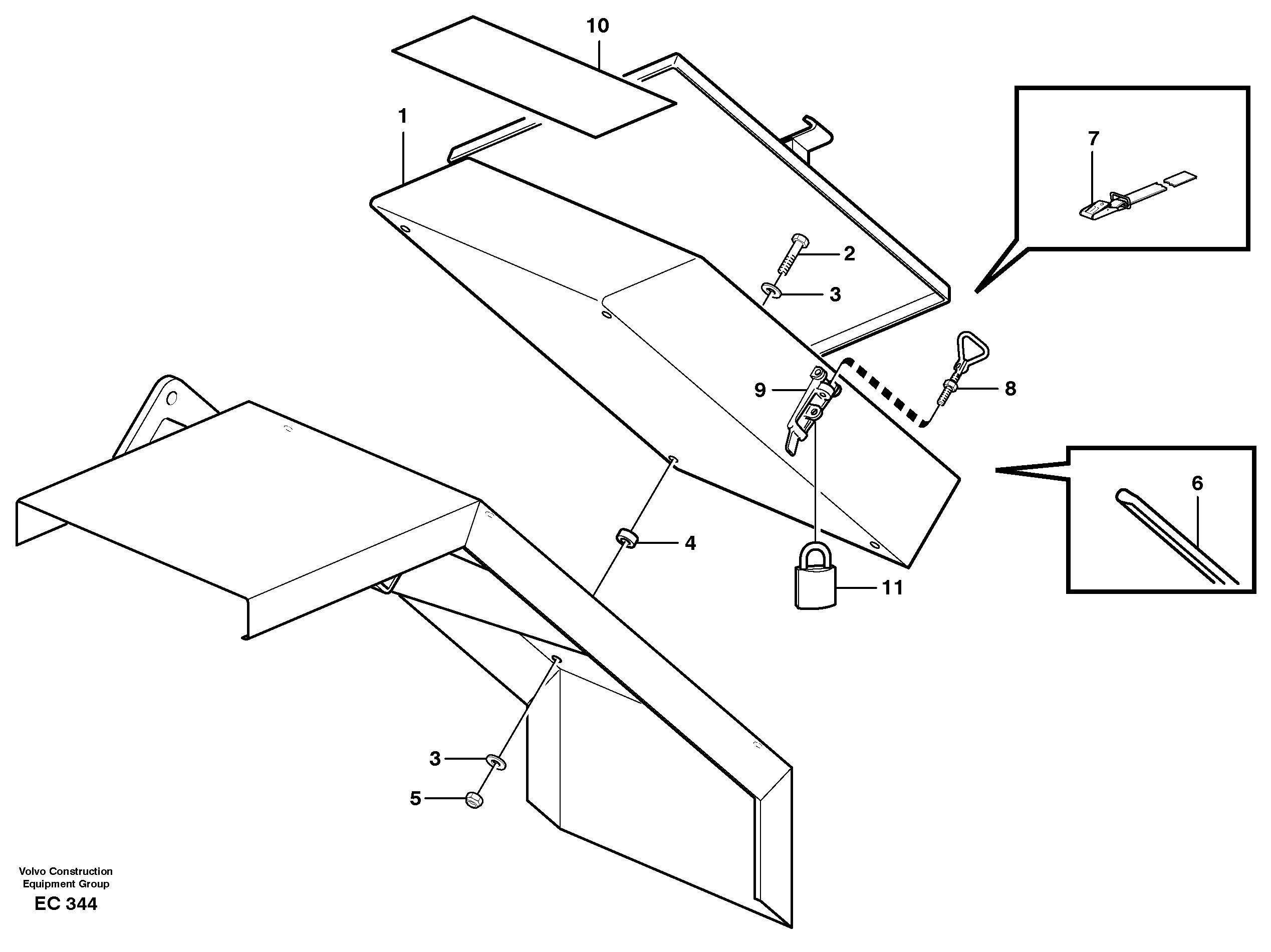
1

VOE 11090791

Tool Box

1шт.

1

VOE 11090791

Tool Box

1шт.

10

VOE 11091424

Slip Protection

L=260MM

1шт.

10

VOE 11091424

Slip Protection

L=260MM

1шт.

11

VOE 7000878

Padlock

1шт.

11

VOE 7000878

Padlock

1шт.

2

VOE 13965185

Flange screw

M10 X 40

1шт.

2

VOE 13965185

Болт

M10 X 40

1шт.

3

VOE 13960143

Шайба

1шт.

3

VOE 13960143

Шайба

1шт.

4

VOE 4974453

Вставка

1шт.

4

VOE 4974453

Вставка

1шт.

5

VOE 13971098

Flange nut

1шт.

5

VOE 13971098

Flange nut

1шт.

6

VOE 4785436

Protecting Moulding

L=320MM

1шт.

6

VOE 4785436

Protecting Moulding

L=320MM

1шт.

7

VOE 11104606

Retaining Strap

1шт.

7

VOE 11104606

Retaining Strap

1шт.

8

VOE 11015638

Откидной (рым, с ушком, с петлей) болт (винт)

1шт.

8

VOE 11015638

Откидной (рым, с ушком, с петлей) болт (винт)

1шт.

9

VOE 11015639

Eccentric Lock

1шт.

9

VOE 11015639

Eccentric Lock

1шт.

Выбрано товаров: 22