Запчасти Volvo L70F 99272 CDC - steering, foldable arm rest L70F

Схема запчастей Volvo L70F - 99272 CDC - steering, foldable arm rest L70F
FIT
1:1
100%

Артикул

Название

Примечание

Количество

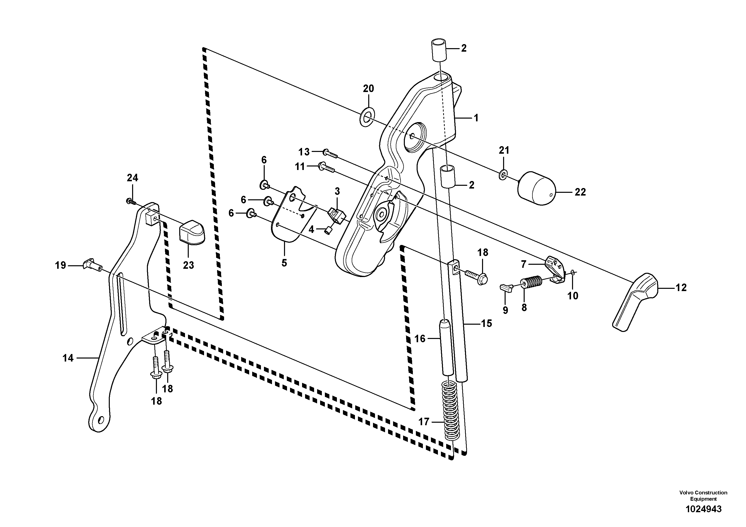
VOE 11164957

Release mechanism

1шт.

1

VOE 11164765

Support arm

1шт.

10

VOE 955961

Retaining ring

1шт.

11

VOE 13946544

Болт

1шт.

11

VOE 13946544

Screw

1шт.

12

VOE 11412842

Крышка

1шт.

13

VOE 975367

Винт шестигранник (торцевой ключ)

1шт.

14

VOE 11429270

Attaching plate

1шт.

15

VOE 11164766

Вал

1шт.

16

VOE 11164762

Вал

1шт.

17

VOE 11164764

Пружина

1шт.

18

VOE 13946173

Screw

1шт.

18

VOE 13946173

Болт

1шт.

19

VOE 11164767

Lock brace

1шт.

19

VOE 11164767

Lock brace

1шт.

2

VOE 11164763

Втулка

1шт.

20

VOE 11444420

Wear Washer

1шт.

21

VOE 955892

Шайба

1шт.

21

VOE 955892

Шайба

1шт.

22

VOE 11164780

Knob

1шт.

22

VOE 11164780

Knob

1шт.

23

VOE 11412841

Крышка

1шт.

23

VOE 11412841

Крышка

1шт.

24

VOE 975370

Винт шестигранник (торцевой ключ)

1шт.

24

VOE 975370

Болт

1шт.

3

VOE 11164771

Втулка (распорная)

1шт.

4

VOE 11164796

Button

1шт.

5

VOE 11164931

Шайба

1шт.

6

VOE 971304

Болт

1шт.

6

VOE 971304

Винт шестигранник (торцевой ключ)

1шт.

7

VOE 11164799

Корпус клапана

1шт.

8

VOE 11412844

Disc spring

1шт.

9

VOE 11429089

Корпус клапана

1шт.

Выбрано товаров: 33