Запчасти Volvo L90 25711 Головка блока цилиндров L90 L90

Схема запчастей Volvo L90 - 25711 Головка блока цилиндров L90 L90
FIT
1:1
100%

Артикул

Название

Примечание

Количество

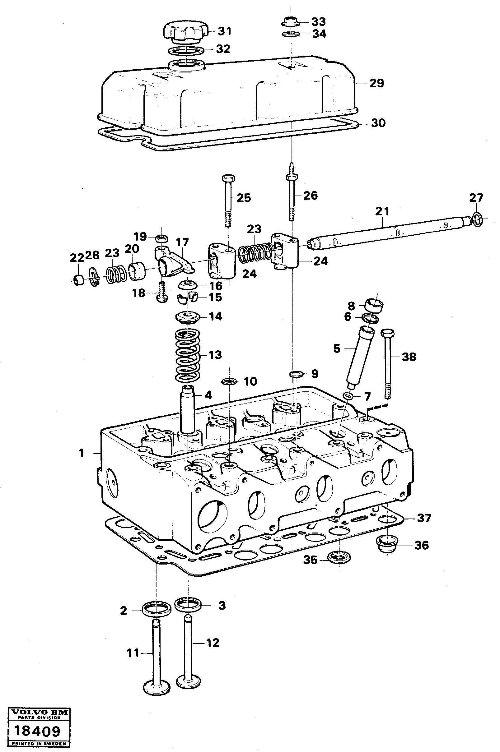
VOE 477024

Заглушка

1шт.

VOE 477024

Заглушка

1шт.

VOE 420132

Коромысло клапанов

EXHAUST

1шт.

VOE 420132

Коромысло клапанов

EXHAUST

1шт.

VOE 465950

Крышка клапанная (головки цилиндров)

1шт.

VOE 465951

Крышка клапанная (головки цилиндров)

ENG - 5051

1шт.

VOE 465951

Крышка клапанная (головки цилиндров)

ENG - 5051

1шт.

VOE 465951

Крышка клапанная (головки цилиндров)

ENG 5052 -

1шт.

VOE 465951

Крышка клапанная (головки цилиндров)

ENG 5052 -

1шт.

VOE 421753

Filler cap

1шт.

VOE 421753

Filler cap

1шт.

VOE 275774

Gasket Kit

1шт.

VOE 421309

Sign

VENTILSPEL/

1шт.

VOE 420508

Головка блока цилиндров

1шт.

VOE 465238

Valve seat

0,20 O SZ

1шт.

VOE 465238

Valve seat

0,20 O SZ

1шт.

VOE 465236

Valve seat

0,20 O SZ

1шт.

VOE 465236

Valve seat

0,20 O SZ

1шт.

VOE 465951

Крышка клапанная (головки цилиндров)

1шт.

VOE 465951

Крышка клапанная (головки цилиндров)

1шт.

VOE 1275379

Прокладка

1шт.

VOE 1275379

Прокладка

1шт.

10

VOE 947626

Прокладка

1шт.

10

VOE 947626

Прокладка

1шт.

11

VOE 420553

Клапан впускной

1шт.

11

VOE 420553

Клапан впускной

1шт.

12

VOE 8192143

Клапан выпускной

1шт.

12

VOE 8192143

Клапан выпускной

1шт.

13

VOE 465233

Пружина клапана

1шт.

13

VOE 465233

Пружина клапана

1шт.

14

VOE 465550

Шайба

1шт.

14

VOE 465550

Шайба

1шт.

15

VOE 1677875

Valve Collet

1шт.

16

VOE 465551

Protecting Sleeve

1шт.

16

VOE 465551

Protecting Sleeve

1шт.

17

VOE 7420129

Коромысло клапанов

INLET

1шт.

17

VOE 7420129

Коромысло клапанов

INLET

1шт.

18

VOE 422993

Болт

1шт.

19

VOE 940175

Гайка

1шт.

19

VOE 940175

Гайка

1шт.

2

VOE 465158

Valve seat

STD D,INLET

1шт.

2

VOE 465158

Valve seat

STD D,INLET

1шт.

20

VOE 420125

Втулка

1шт.

20

VOE 420125

Втулка

1шт.

21

VOE 465790

Вал

1шт.

21

VOE 465790

Вал

1шт.

22

VOE 13955083

Cap Plug

1шт.

22

VOE 13955083

Cap Plug

1шт.

23

VOE 411139

Пружина

1шт.

23

VOE 411139

Пружина

1шт.

24

VOE 1665204

Bearing Bracket

1шт.

25

VOE 471513

Болт

1шт.

25

VOE 471513

Болт

1шт.

26

VOE 471512

Болт

1шт.

26

VOE 471512

Болт

1шт.

27

VOE 7400722

Прокладка

1шт.

27

VOE 7400722

Прокладка

1шт.

28

VOE 914456

Кольцо стопорное

1шт.

28

VOE 914456

Snap Ring

1шт.

29

VOE 465950

Крышка клапанная (головки цилиндров)

ENG- 5051 OIL FILLER CAP

1шт.

3

VOE 465155

Valve seat

STD D,EXHAUST

1шт.

3

VOE 465155

Valve seat

STD D,EXHAUST

1шт.

30

VOE 465952

Прокладка

1шт.

30

VOE 465952

Прокладка

1шт.

31

VOE 421753

Filler cap

ENG - 5051

1шт.

31

VOE 421753

Filler cap

ENG - 5051

1шт.

32

VOE 1275379

Прокладка

ENG - 5051

1шт.

32

VOE 1275379

Прокладка

ENG - 5051

1шт.

33

VOE 465961

Cap Nut

1шт.

33

VOE 465961

Cap Nut

1шт.

34

VOE 471856

Кольцо уплотнительное

1шт.

34

VOE 471856

Кольцо уплотнительное

1шт.

35

VOE 465784

Сальник

1шт.

36

VOE 466421

Кольцо уплотнительное

1шт.

36

VOE 466421

Кольцо уплотнительное

1шт.

38

VOE 465840

Болт

1шт.

38

VOE 465840

Болт

1шт.

4

VOE 465157

Guide

1шт.

5

VOE 8192085

Втулка (распорная)

1шт.

5

VOE 8192085

Socket

1шт.

6

VOE 466405

Кольцо уплотнительное

1шт.

6

VOE 466405

Кольцо уплотнительное

1шт.

7

VOE 466922

Кольцо уплотнительное

1шт.

7

VOE 466922

Кольцо уплотнительное

1шт.

8

VOE 466420

Кольцо

1шт.

8

VOE 466420

Кольцо

1шт.

9

VOE 477026

Заглушка

1шт.

9

VOE 477026

Заглушка

1шт.

9A

VOE 477024

Заглушка

1шт.

9A

VOE 477024

Заглушка

1шт.

Выбрано товаров: 90