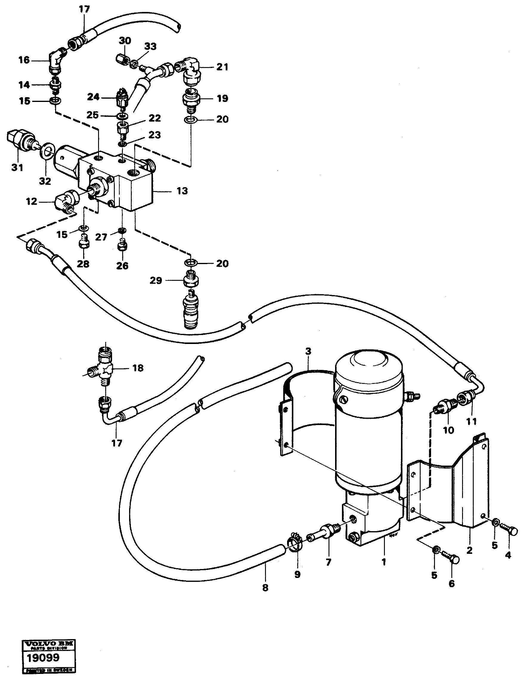
Запчасти Volvo L90 2388 Secondary steering system L90 L90

Схема запчастей Volvo L90 - 2388 Secondary steering system L90 L90
FIT
1:1
100%

Артикул

Название

Примечание

Количество

VOE 11992840

Electric motor

1шт.

VOE 11992840

Electric motor

1шт.

VOE 11991390

Насос

1шт.

VOE 11991390

Насос

1шт.

VOE 931622

Hose assembly

1шт.

VOE 931622

Hose assembly

1шт.

VOE 14012387

14012387

1шт.

1

VOE 4881450

Pump unit

1шт.

1

VOE 4881450

Pump unit

1шт.

10

VOE 13944177

Nipple

1шт.

10

VOE 13944177

Nipple

1шт.

11

VOE 932405

Hose assembly

1шт.

12

VOE 13946369

Nipple

1шт.

12

VOE 13946369

Nipple

1шт.

13

VOE 11048018

Клапан

1шт.

14

VOE 957029

Nipple

1шт.

14

VOE 957029

Nipple

1шт.

15

VOE 958225

Кольцо уплотнительное (О-кольцо)

1шт.

15

VOE 958225

Кольцо уплотнительное (О-кольцо)

1шт.

16

VOE 13963371

Nipple

1шт.

16

VOE 13963371

Nipple

1шт.

17

VOE 931873

Hose assembly

1шт.

17

VOE 931873

Hose assembly

1шт.

18

VOE 13964057

Joint nipple

1шт.

18

VOE 13964057

Joint nipple

1шт.

19

VOE 11018059

Nipple

1шт.

19

VOE 11018059

Nipple

1шт.

20

VOE 958227

Кольцо уплотнительное (О-кольцо)

1шт.

20

VOE 958227

Кольцо уплотнительное (О-кольцо)

1шт.

21

VOE 13964023

Nipple

1шт.

21

VOE 13964023

Nipple

1шт.

22

VOE 963804

Nipple

1шт.

22

VOE 963804

Nipple

1шт.

23

VOE 947083

Прокладка

1шт.

23

VOE 947083

Прокладка

1шт.

24

VOE 4803590

Pressure monitor

1шт.

24

VOE 4803590

Pressure monitor

1шт.

25

VOE 14013067

Sealing washer

1шт.

25

VOE 14013067

Sealing washer

1шт.

27

VOE 947083

Прокладка

1шт.

27

VOE 947083

Прокладка

1шт.

28

VOE 926370

Пробка (заглушка)

1шт.

28

VOE 926370

Пробка (заглушка)

1шт.

29

VOE 11018226

Nipple

1шт.

30

VOE 11043010

Nipple

1шт.

30

VOE 11043010

Nipple

1шт.

31

VOE 1594043

Contact

SE15

1шт.

32

VOE 948884

Plane gasket

1шт.

32

VOE 948884

Plane gasket

1шт.

33

VOE 14013067

Sealing washer

1шт.

33

VOE 14013067

Sealing washer

1шт.

4

VOE 970945

Винт шестигранник

1шт.

4

VOE 970945

Винт шестигранник

1шт.

5

VOE 13955894

Шайба

1шт.

5

VOE 13955894

Шайба

1шт.

6

VOE 955297

Винт шестигранник

1шт.

6

VOE 955297

Винт шестигранник

1шт.

7

VOE 479974

Nipple

1шт.

7

VOE 479974

Nipple

1шт.

8

VOE 13961193

Hydraulic hose

L=900

1шт.

8

VOE 13961193

Hydraulic hose

L=900

1шт.

9

VOE 13968211

Зажим

1шт.

9

VOE 13968211

Зажим

1шт.

Выбрано товаров: 63