Запчасти Volvo L90 19258 Control lines L90 L90

Схема запчастей Volvo L90 - 19258 Control lines L90 L90
FIT
1:1
100%

Артикул

Название

Примечание

Количество

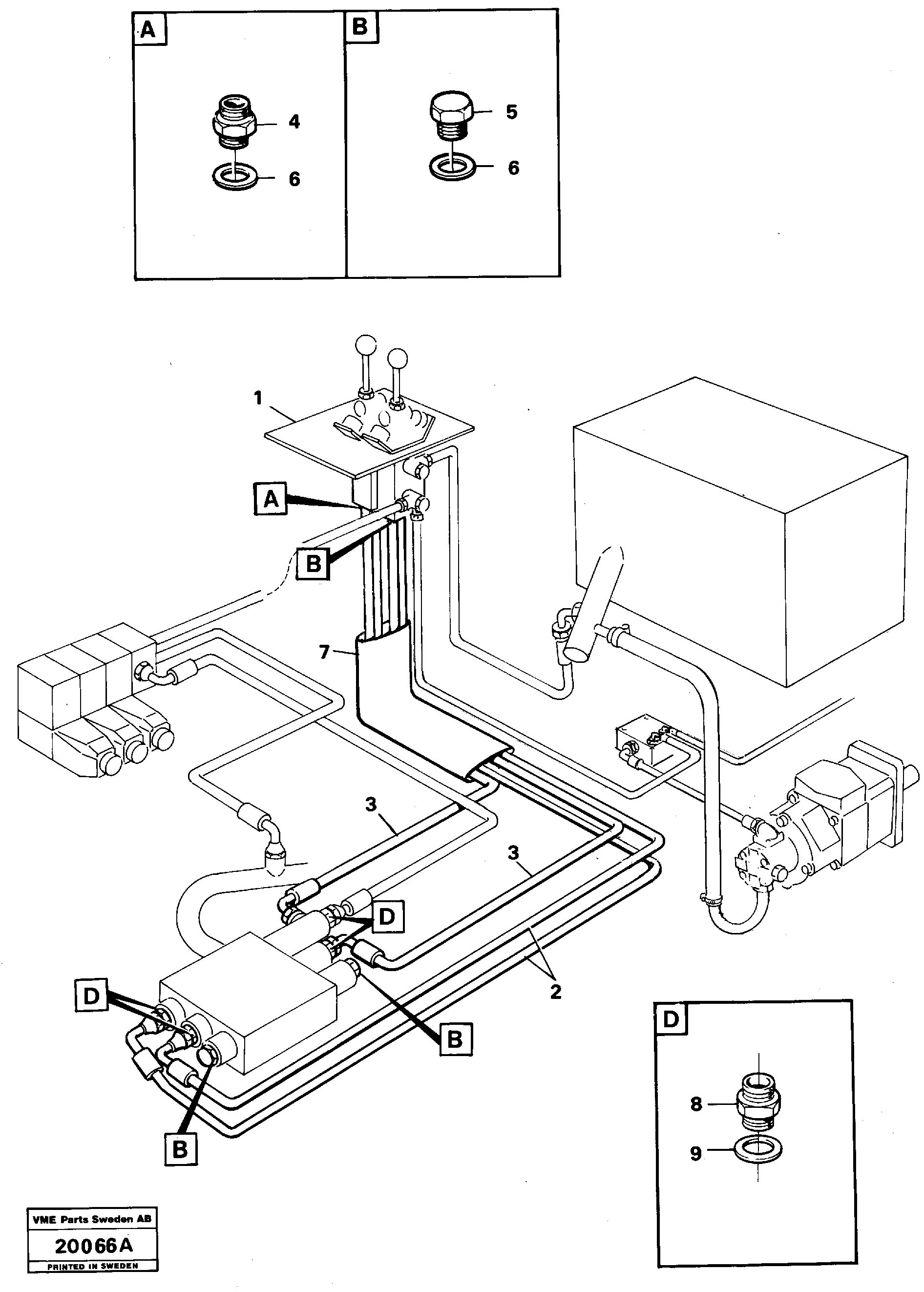
2

VOE 13932835

Hose assembly

1шт.

2

VOE 13932835

Hose assembly

1шт.

3

VOE 13932833

Hose assembly

1шт.

3

VOE 13932833

Hose assembly

1шт.

4

VOE 13944524

Nipple

1шт.

4

VOE 13944524

Nipple

1шт.

5

VOE 914390

Пробка (заглушка)

1шт.

5

VOE 914390

Пробка (заглушка)

1шт.

6

VOE 14013067

Sealing washer

1шт.

6

VOE 14013067

Sealing washer

1шт.

7

VOE 6639176

Шланг

L=1300

1шт.

7

VOE 6639176

Шланг

L=1300

1шт.

8

VOE 13944524

Nipple

1шт.

8

VOE 13944524

Nipple

1шт.

9

VOE 14013067

Sealing washer

1шт.

9

VOE 14013067

Sealing washer

1шт.

Выбрано товаров: 16