Запчасти Volvo L90 24327 Automatic hose coupling (ahc) L90 L90

Схема запчастей Volvo L90 - 24327 Automatic hose coupling (ahc) L90 L90
FIT
1:1
100%

Артикул

Название

Примечание

Количество

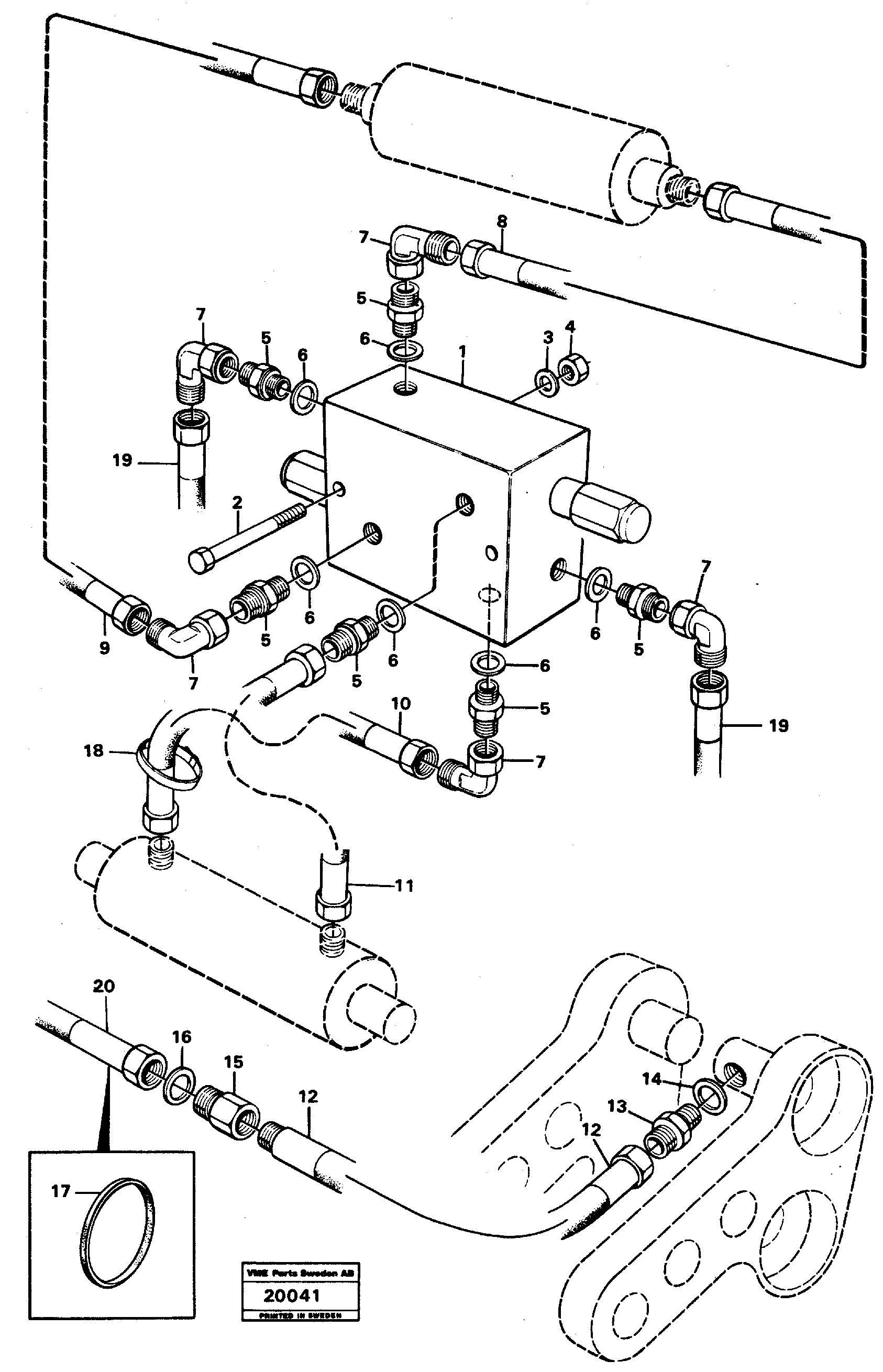
1

VOE 11010939

Клапан

1шт.

10

VOE 932301

Hose assembly

L = 700

1шт.

10

VOE 932301

Hose assembly

L = 700

1шт.

11

VOE 11418052

Hose assembly

L = 300

1шт.

11

VOE 11418052

Hose assembly

L = 300

1шт.

12

VOE 13932829

Hose assembly

L = 1550

1шт.

13

VOE 13943988

Nipple

1шт.

13

VOE 13943988

Nipple

1шт.

14

VOE 14013070

Sealing washer

1шт.

14

VOE 14013070

Sealing washer

1шт.

15

VOE 11010707

Фиттинг

1шт.

16

VOE 14013070

Sealing washer

1шт.

16

VOE 14013070

Sealing washer

1шт.

17

VOE 11048019

Кольцо уплотнительное

1шт.

17

VOE 11048019

Кольцо уплотнительное

1шт.

18

VOE 4881440

Strip Clamp

1шт.

18

VOE 4881440

Strip Clamp

1шт.

2

VOE 955282

Винт шестигранник

1шт.

2

VOE 955282

Винт шестигранник

1шт.

3

VOE 955892

Шайба

1шт.

3

VOE 955892

Шайба

1шт.

4

VOE 946035

Lock nut

1шт.

4

VOE 946035

Lock nut

1шт.

5

VOE 13963959

Nipple

1шт.

5

VOE 13963959

Nipple

1шт.

6

VOE 14042936

Sealing washer

1шт.

6

VOE 14042936

Sealing washer

1шт.

7

VOE 13964016

Nipple

1шт.

7

VOE 13964016

Nipple

1шт.

8

VOE 13932762

Hose assembly

L = 450

1шт.

9

VOE 13932763

Hose assembly

L = 1050

1шт.

Выбрано товаров: 31