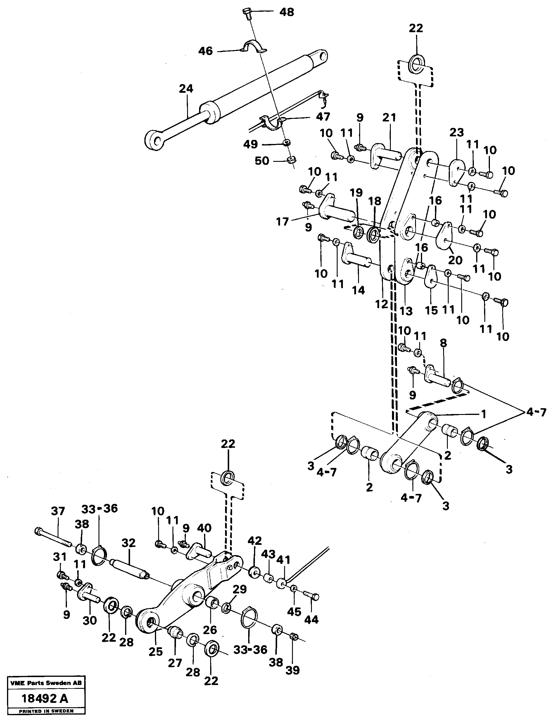
Запчасти Volvo L90 58177 Links with fitting parts L90 L90

Схема запчастей Volvo L90 - 58177 Links with fitting parts L90 L90
FIT
1:1
100%

Артикул

Название

Примечание

Количество

VOE 11013714

Тяга поворотная

SER NO 8725 -

1шт.

VOE 11018337

11018337

SER NO 8725 -

1шт.

1

VOE 4974179

Тяга поворотная

1шт.

10

VOE 13970970

Винт шестигранник

1шт.

10

VOE 13970970

Винт шестигранник

1шт.

11

VOE 13955897

Шайба

1шт.

11

VOE 13955897

Шайба

1шт.

12

VOE 4856238

Тяга поворотная

1шт.

13

VOE 4856239

Тяга поворотная

1шт.

14

VOE 4761102

4761102

1шт.

15

VOE 4763247

Lock plate

1шт.

16

VOE 4850822

Вставка

1шт.

16

VOE 4850822

Вставка

1шт.

17

VOE 4761100

4761100

1шт.

18

VOE 4786735

Кольцо

1шт.

19

VOE 11005016

11005016

1шт.

2

VOE 4974176

Втулка

1шт.

20

VOE 4763269

Lock plate

1шт.

21

VOE 4851726

4851726

1шт.

22

VOE 4782564

Link bearing seal

1шт.

22

VOE 4782564

Link bearing seal

1шт.

23

VOE 4763269

Lock plate

1шт.

25

VOE 4974180

Тяга поворотная

1шт.

25

VOE 4974180

Тяга поворотная

SER NO - 8724

1шт.

26

VOE 4974102

Втулка

1шт.

27

VOE 356313

Link bearing

1шт.

27

VOE 356313

Link bearing

1шт.

28

VOE 914544

Кольцо стопорное

1шт.

28

VOE 914544

Retaining ring

1шт.

29

VOE 11005012

Scraper

1шт.

3

VOE 11005013

11005013

1шт.

30

VOE 4954088

4954088

1шт.

31

VOE 13970969

Винт шестигранник

1шт.

32

VOE 4761106

4761106

1шт.

33

VOE 4824482

Кольцо уплотнительное (О-кольцо)

1шт.

33

VOE 4824482

Кольцо уплотнительное (О-кольцо)

1шт.

34

VOE 955259

Винт шестигранник

1шт.

34

VOE 955259

Винт шестигранник

1шт.

35

VOE 13940090

Шайба

1шт.

35

VOE 13940090

Шайба

1шт.

36

VOE 13963104

Lock nut

1шт.

36

VOE 13963104

Lock nut

1шт.

37

VOE 13974302

Винт шестигранник

1шт.

37

VOE 13974302

Винт шестигранник

1шт.

38

VOE 4851505

Шайба

1шт.

39

VOE 963111

Lock nut

1шт.

39

VOE 963111

Lock nut

1шт.

4

VOE 4824482

Кольцо уплотнительное (О-кольцо)

1шт.

4

VOE 4824482

Кольцо уплотнительное (О-кольцо)

1шт.

40

VOE 4761320

Палец

SER NO - 8724

1шт.

41

VOE 4954581

Indicator

1шт.

42

VOE 4761459

Шайба

1шт.

43

VOE 4928109

Вставка

1шт.

43

VOE 4928109

Вставка

1шт.

44

VOE 13970974

Винт шестигранник

1шт.

44

VOE 13970974

Винт шестигранник

1шт.

45

VOE 13960145

Шайба

1шт.

45

VOE 13960145

Шайба

1шт.

46

VOE 4741767

Зажим

1шт.

47

VOE 4850133

Тарелка клапана

1шт.

48

VOE 13955295

Болт

1шт.

48

VOE 13955295

Болт

1шт.

49

VOE 13955894

Шайба

1шт.

49

VOE 13955894

Шайба

1шт.

5

VOE 955259

Винт шестигранник

1шт.

5

VOE 955259

Винт шестигранник

1шт.

50

VOE 963106

Lock nut

1шт.

50

VOE 963106

Lock nut

1шт.

6

VOE 13940090

Шайба

1шт.

6

VOE 13940090

Шайба

1шт.

7

VOE 13963104

Lock nut

1шт.

7

VOE 13963104

Lock nut

1шт.

8

VOE 4761101

4761101

1шт.

9

VOE 784323

Nipple

1шт.

9

VOE 784323

Nipple

1шт.

Выбрано товаров: 75