Запчасти Volvo L90C 93533 Reversing valve ATTACHMENTS ATTACHMENTS WHEEL LOADERS GEN. - C

Схема запчастей Volvo L90C - 93533 Reversing valve ATTACHMENTS ATTACHMENTS WHEEL LOADERS GEN. - C
FIT
1:1
100%

Артикул

Название

Примечание

Количество

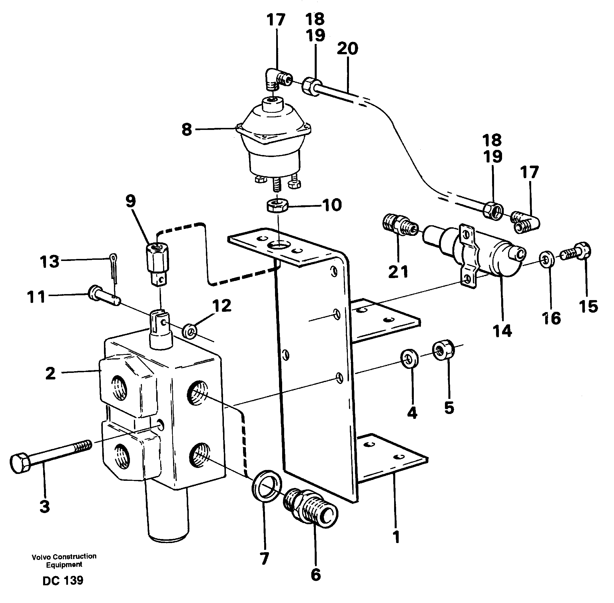
10

VOE 13955847

Гайка

1шт.

10

VOE 13955847

Гайка

1шт.

11

VOE 4741637

Палец

1шт.

12

VOE 13940097

Шайба

1шт.

12

VOE 13940097

Шайба

1шт.

13

VOE 907845

Cotter Pin

1шт.

14

VOE 1584894

Встроенный клапан в сборе

1шт.

14

VOE 1584894

Встроенный клапан в сборе

1шт.

15

VOE 955269

Винт шестигранник

1шт.

15

VOE 955269

Винт шестигранник

1шт.

16

VOE 13941906

Шайба

1шт.

16

VOE 13941906

Шайба

1шт.

17

VOE 13948414

Nipple

1шт.

17

VOE 13948414

Nipple

1шт.

18

VOE 13956967

Ferrule

1шт.

18

VOE 13956967

Ferrule

1шт.

19

VOE 941521

Fitting nut

1шт.

19

VOE 941521

Fitting nut

1шт.

2

VOE 4780754

Hydraulic valve

1шт.

2

VOE 4780754

Hydraulic valve

1шт.

20

VOE 6225917

Plastic pipe

1шт.

20

VOE 6225917

Plastic pipe

1шт.

21

VOE 942006

Nipple

1шт.

21

VOE 942006

Nipple

1шт.

3

VOE 970960

Винт шестигранник

1шт.

4

VOE 941908

Шайба пружинная

1шт.

4

VOE 941908

Шайба пружинная

1шт.

5

VOE 971071

Hexagon nut

1шт.

5

VOE 971071

Hexagon nut

1шт.

6

VOE 13943988

Nipple

1шт.

6

VOE 13943988

Nipple

1шт.

7

VOE 14013070

Sealing washer

1шт.

7

VOE 14013070

Sealing washer

1шт.

8

VOE 4785007

Rcpt Housing

1шт.

9

VOE 4741636

Extension

1шт.

Выбрано товаров: 35