Запчасти Volvo L90C 98508 Extra fuel filter L90C

Схема запчастей Volvo L90C - 98508 Extra fuel filter L90C
FIT
1:1
100%

Артикул

Название

Примечание

Количество

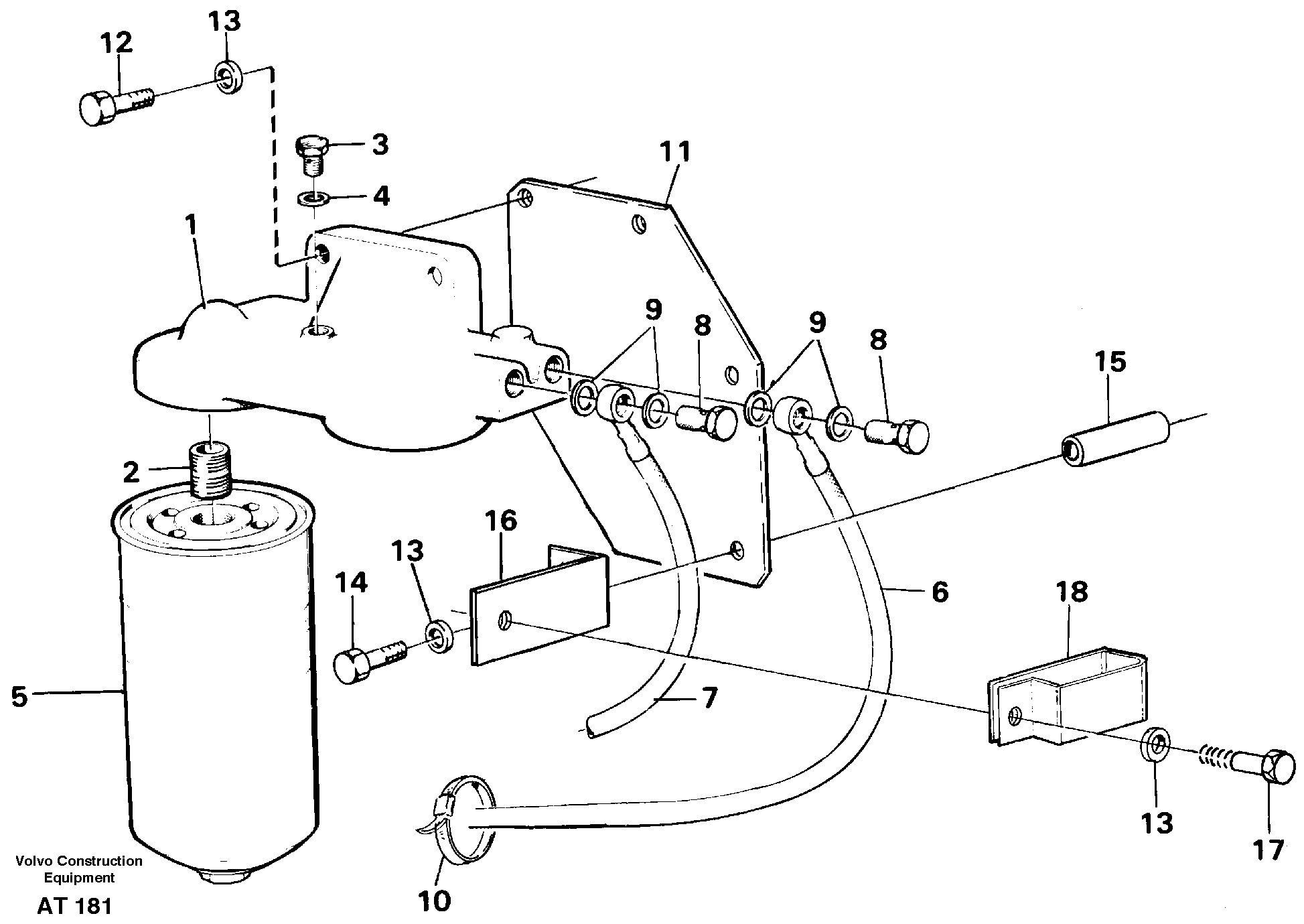
1

VOE 787029

Cover

1шт.

1

VOE 787029

Крышка

1шт.

10

VOE 4881440

Cable tie

1шт.

10

VOE 4881440

Cable tie

1шт.

11

VOE 11014936

Attachment

1шт.

12

VOE 13955298

Болт

M8x40

1шт.

12

VOE 13955298

Болт

M8x40

1шт.

13

VOE 13955894

Шайба

1шт.

13

VOE 13955894

Шайба

1шт.

14

VOE 955312

Винт шестигранник

M8x150

1шт.

14

VOE 955312

Винт шестигранник

M8x150

1шт.

15

VOE 930457

Spacer ring

1шт.

15

VOE 930457

Spacer ring

1шт.

16

VOE 11024650

Angle plate

1шт.

16

VOE 11024650

Angle plate

1шт.

17

VOE 13955294

Болт

M8x16

1шт.

17

VOE 13955294

Болт

M8x16

1шт.

18

VOE 13949386

Зажим

1шт.

18

VOE 13949386

Зажим

1шт.

2

VOE 781644

Nipple

1шт.

2

VOE 781644

Nipple

1шт.

3

VOE 11000051

Болт

1шт.

3

VOE 11000051

Болт

1шт.

4

VOE 957171

Прокладка

1шт.

4

VOE 957171

Gasket

1шт.

5

VOE 795210

Фильтр топливный

1шт.

5

VOE 795210

Фильтр топливный

1шт.

6

VOE 11014944

Шланг топливный

1шт.

6

VOE 11014944

Шланг топливный

1шт.

7

VOE 11014943

Шланг топливный

1шт.

8

VOE 7025167

Hollow screw

1шт.

8

VOE 7025167

Hollow screw

1шт.

9

VOE 13947621

Plane gasket

1шт.

9

VOE 13947621

Plane gasket

1шт.

Выбрано товаров: 34