Запчасти Volvo L90C 98758 Tool box L90C

Схема запчастей Volvo L90C - 98758 Tool box L90C
FIT
1:1
100%

Артикул

Название

Примечание

Количество

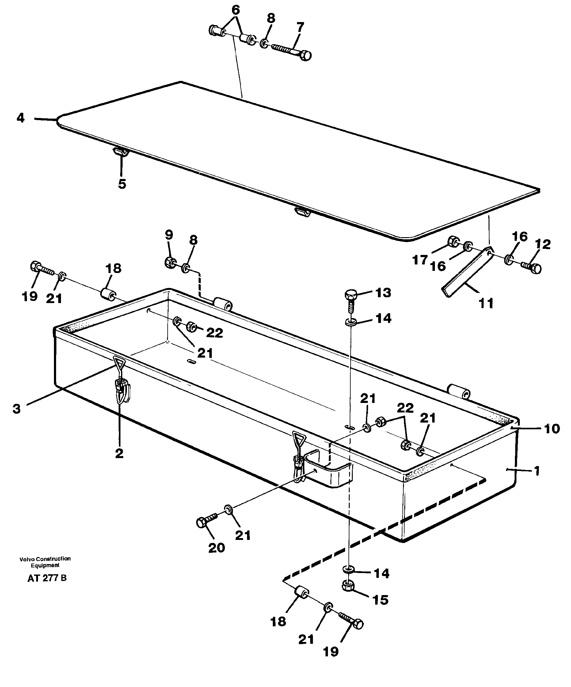
VOE 11023860

Tool Box

L PROD

1шт.

1

VOE 11020725

11020725

1шт.

10

VOE 4786044

Прокладка стекла

L = 2330

1шт.

11

VOE 11025661

Опора

1шт.

12

VOE 946671

Flange screw

1шт.

12

VOE 946671

Flange screw

1шт.

13

VOE 13970948

Винт шестигранник

1шт.

13

VOE 13970948

Винт шестигранник

1шт.

14

VOE 13960143

Шайба

1шт.

14

VOE 13960143

Шайба

1шт.

15

VOE 13971098

Flange nut

1шт.

15

VOE 13971098

Flange nut

1шт.

16

VOE 976944

Шайба

1шт.

16

VOE 976944

Шайба

1шт.

17

VOE 955782

Hexagon nut

1шт.

17

VOE 955782

Hexagon nut

1шт.

18

VOE 4943026

Spacer sleeve

1шт.

18

VOE 4943026

Spacer sleeve

1шт.

19

VOE 13955298

Болт

1шт.

19

VOE 13955298

Болт

1шт.

2

VOE 11015639

Eccentric lock

1шт.

2

VOE 11015639

Eccentric lock

1шт.

20

VOE 955297

Винт шестигранник

1шт.

20

VOE 955297

Винт шестигранник

1шт.

21

VOE 976944

Шайба

1шт.

21

VOE 976944

Шайба

1шт.

22

VOE 955782

Hexagon nut

1шт.

22

VOE 955782

Hexagon nut

1шт.

3

VOE 11015638

Откидной (рым, с ушком, с петлей) болт (винт)

1шт.

3

VOE 11015638

Откидной (рым, с ушком, с петлей) болт (винт)

1шт.

4

VOE 11014739

Крышка

1шт.

5

VOE 4739976

Anchorage

1шт.

5

VOE 4739976

Anchorage

1шт.

6

VOE 4954431

Втулка

1шт.

6

VOE 4954431

Втулка

1шт.

7

VOE 955306

Винт шестигранник

1шт.

7

VOE 955306

Винт шестигранник

1шт.

8

VOE 13955894

Шайба

1шт.

8

VOE 13955894

Шайба

1шт.

9

VOE 946036

Lock nut

1шт.

9

VOE 946036

Lock nut

1шт.

Выбрано товаров: 0