Запчасти Volvo L90C 91999 Hydraulic - oil pump, Assembly L90C

Схема запчастей Volvo L90C - 91999 Hydraulic - oil pump, Assembly L90C
FIT
1:1
100%

Артикул

Название

Примечание

Количество

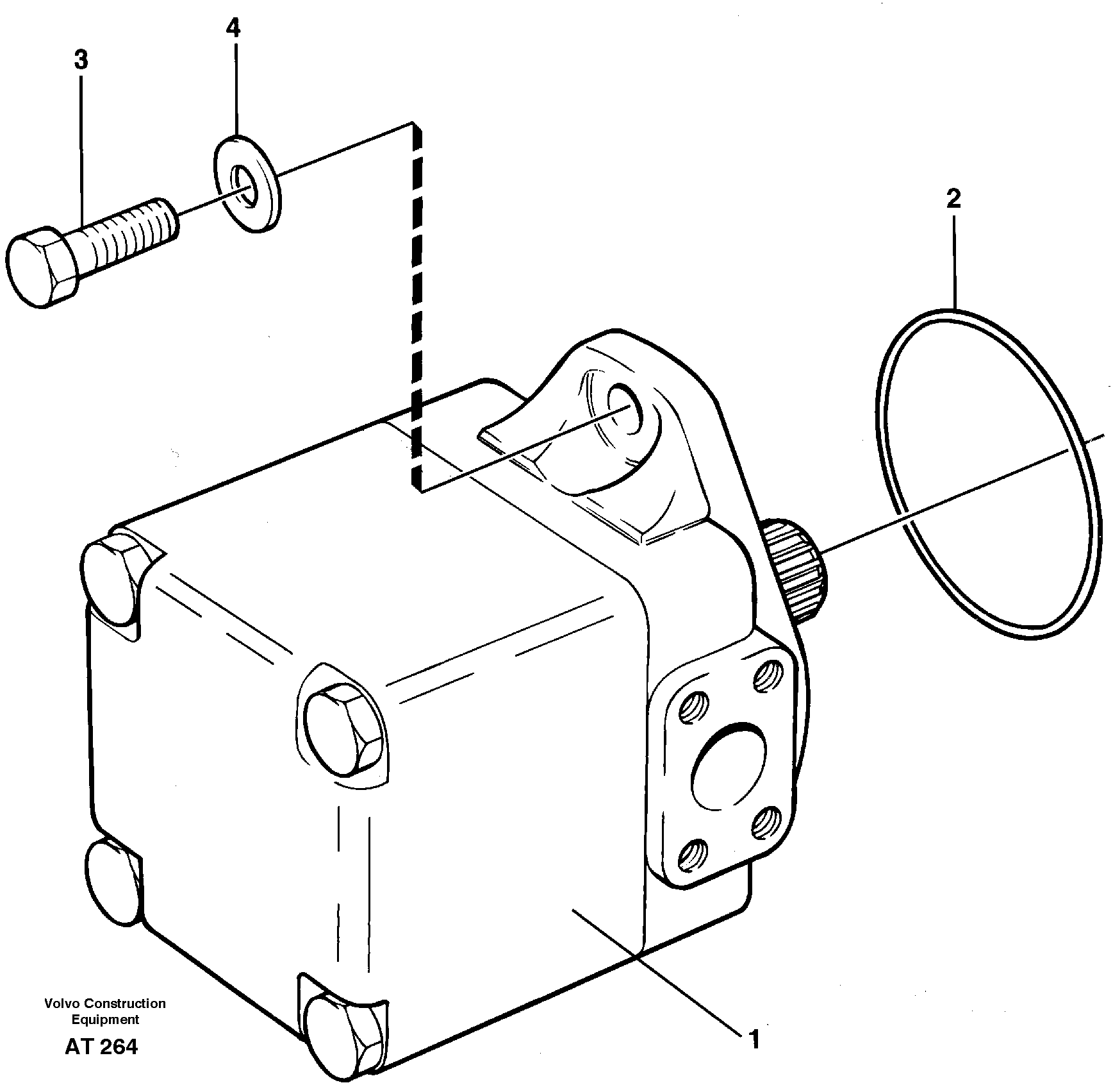
VOE 955364

Винт шестигранник

M16x40

1шт.

VOE 955364

Винт шестигранник

M16x40

1шт.

2

VOE 925096

Кольцо уплотнительное (О-кольцо)

1шт.

2

VOE 925096

Кольцо уплотнительное (О-кольцо)

1шт.

3

VOE 13955366

Болт

M16x50

1шт.

3

VOE 13955366

Болт

M16x50

1шт.

4

VOE 13955900

Шайба

1шт.

4

VOE 13955900

Шайба

1шт.

Выбрано товаров: 0