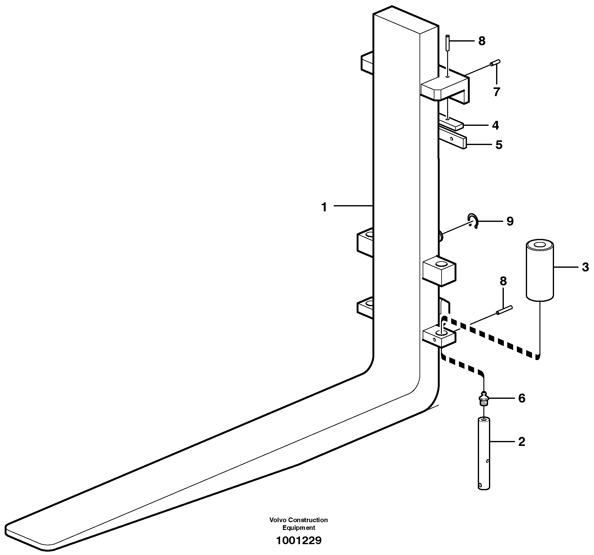
Запчасти Volvo L90D 4395 Fork tines ATTACHMENTS ATTACHMENTS WHEEL LOADERS GEN. D - E

Схема запчастей Volvo L90D - 4395 Fork tines ATTACHMENTS ATTACHMENTS WHEEL LOADERS GEN. D - E
FIT
1:1
100%

Артикул

Название

Примечание

Количество

VOE 11156986

Tine

1шт.

VOE 11157015

Tine

1шт.

VOE 11157016

Tine

1шт.

1

VOE 11157017

Tine

1шт.

2

11156020

Мост (ось)

1шт.

3

11156021

Roller

1шт.

4

VOE 11156022

Slide plate

1шт.

4

VOE 11156022

Slide plate

1шт.

5

VOE 11156025

Slide plate

1шт.

5

VOE 11156025

Slide plate

1шт.

6

VOE 914167

Lubricating nipple

1шт.

6

VOE 914167

Lubricating nipple

1шт.

7

VOE 13951977

Spring pin

1шт.

7

VOE 13951977

Spring pin

1шт.

8

VOE 13951981

Spring pin

1шт.

8

VOE 13951981

Spring pin

1шт.

9

VOE 914459

Retaining ring

1шт.

9

VOE 914459

Кольцо стопорное

1шт.

Выбрано товаров: 18