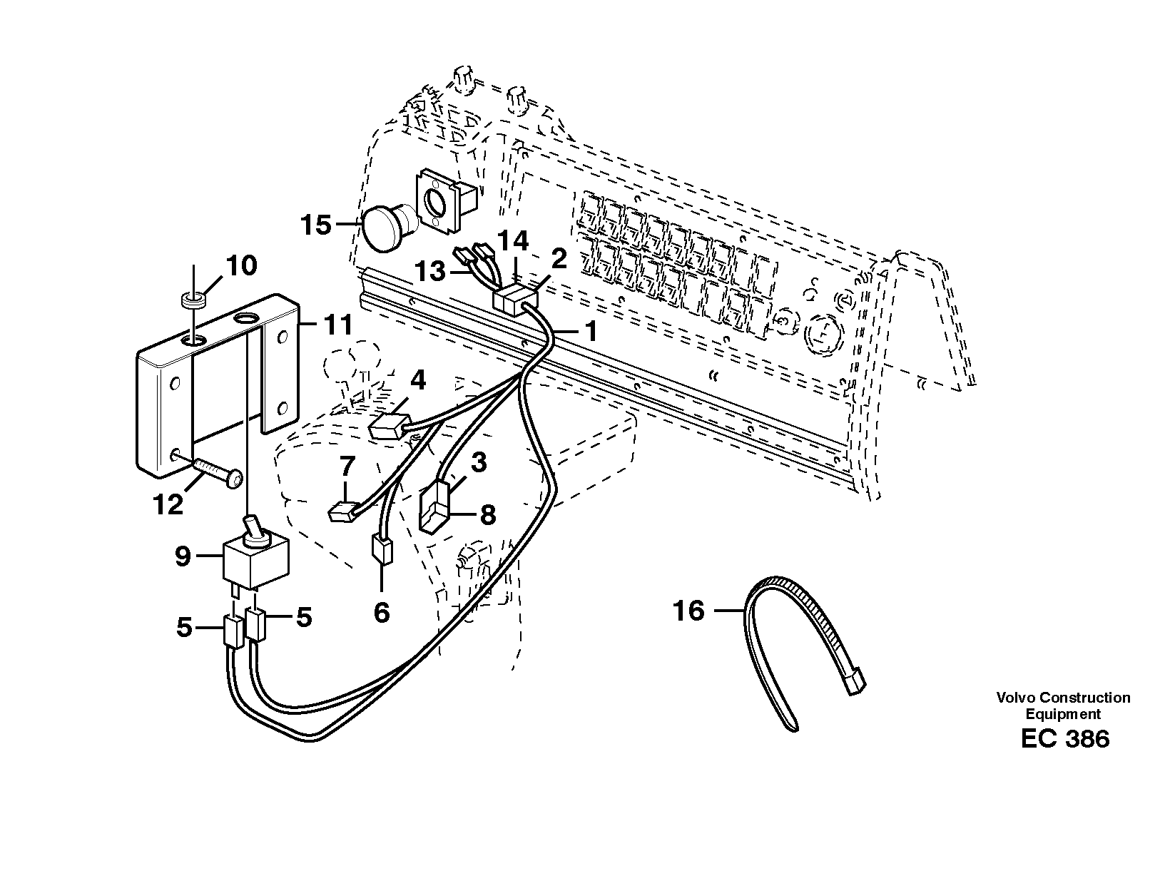
Запчасти Volvo L90D 35599 Cable harness, detent, 3rd hydraulic function L90D

Схема запчастей Volvo L90D - 35599 Cable harness, detent, 3rd hydraulic function L90D
FIT
1:1
100%

Артикул

Название

Примечание

Количество

VOE 4803274

Диод

1шт.

VOE 4803274

Диод

1шт.

VOE 969830

Cable terminal

1шт.

VOE 11039341

Переключатель

SW913

1шт.

1

VOE 11040682

11040682

1шт.

10

VOE 941266

Пробка (заглушка)

E PROD

1шт.

10

VOE 941266

Пробка (заглушка)

E PROD

1шт.

11

VOE 11104975

11104975

E PROD

1шт.

12

VOE 972079

Болт

E PROD

1шт.

12

VOE 972079

Винт шестигранник (торцевой ключ)

E PROD

1шт.

13

VOE 11100854

11100854

1шт.

14

VOE 13948995

Pin housing

1шт.

14

VOE 13948995

Pin housing

1шт.

15

VOE 11009043

Датчик давления (переключатель, реле)

1шт.

16

VOE 4881440

Cable tie

1шт.

16

VOE 4881440

Cable tie

1шт.

2

VOE 13948996

Изолятор

1шт.

2

VOE 13948996

Изолятор

1шт.

3

VOE 13958210

Receptacle housing

1шт.

3

VOE 13958210

Receptacle housing

1шт.

4

VOE 13948995

Pin housing

1шт.

4

VOE 13948995

Pin housing

1шт.

5

VOE 13949597

Изолятор

1шт.

5

VOE 13949597

Protecting sleeve

1шт.

6

VOE 958209

Изолятор

1шт.

6

VOE 958209

Картер (корпус)

1шт.

7

VOE 13958210

Receptacle housing

1шт.

7

VOE 13958210

Receptacle housing

1шт.

8

VOE 4940327

Диод

DI906

1шт.

8

VOE 4940327

Диод

DI906

1шт.

9

VOE 4786696

Переключатель

SW918

1шт.

Выбрано товаров: 0