Запчасти Volvo L90E 11774 Fender, rear L90E

Схема запчастей Volvo L90E - 11774 Fender, rear L90E
FIT
1:1
100%

Артикул

Название

Примечание

Количество

VOE 11400143

Rear fender

LH

1шт.

VOE 11400143

Rear fender

LH

1шт.

VOE 11400131

Rear fender

LH

1шт.

VOE 11400131

Rear fender

LH

1шт.

VOE 11174795

Mudguard widener

LH

1шт.

VOE 11174795

Mudguard widener

LH

1шт.

VOE 11174809

Mudguard widener

LH

1шт.

VOE 11174809

Mudguard widener

LH

1шт.

VOE 11400129

Rear fender

LH

1шт.

VOE 11174808

Mudguard widener

RH

1шт.

VOE 11174808

Mudguard widener

RH

1шт.

VOE 11400141

Rear fender

LH

1шт.

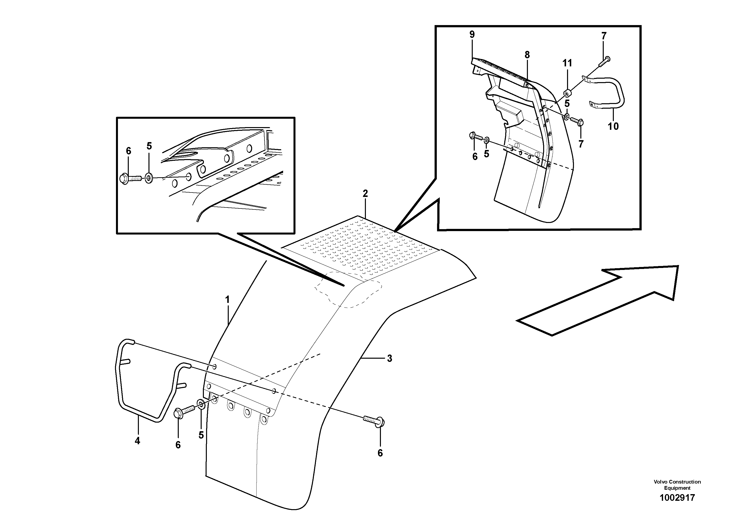
1

VOE 11400142

Rear fender

RH

1шт.

1

VOE 11400142

Rear fender

RH

1шт.

10

VOE 11175869

Handle

1шт.

11

VOE 4859489

Spacer

1шт.

11

VOE 4859489

Вставка

1шт.

2

VOE 11400130

Rear fender

RH

1шт.

2

VOE 11400130

Rear fender

RH

1шт.

3

VOE 11174794

Mudguard widener

RH

1шт.

3

VOE 11174794

Mudguard widener

RH

1шт.

4

VOE 11175609

Handle

1шт.

5

VOE 13960145

Шайба

1шт.

5

VOE 13960145

Шайба

1шт.

6

VOE 946329

Flange screw

1шт.

6

VOE 946329

Flange screw

1шт.

7

VOE 946472

Flange screw

1шт.

7

VOE 946472

Flange screw

1шт.

8

VOE 11400140

Rear fender

RH

1шт.

9

VOE 11400128

Rear fender

RH

1шт.

Выбрано товаров: 30