Запчасти Volvo L90E 15462 Фильтр воздушный L90E

Схема запчастей Volvo L90E - 15462 Фильтр воздушный L90E
FIT
1:1
100%

Артикул

Название

Примечание

Количество

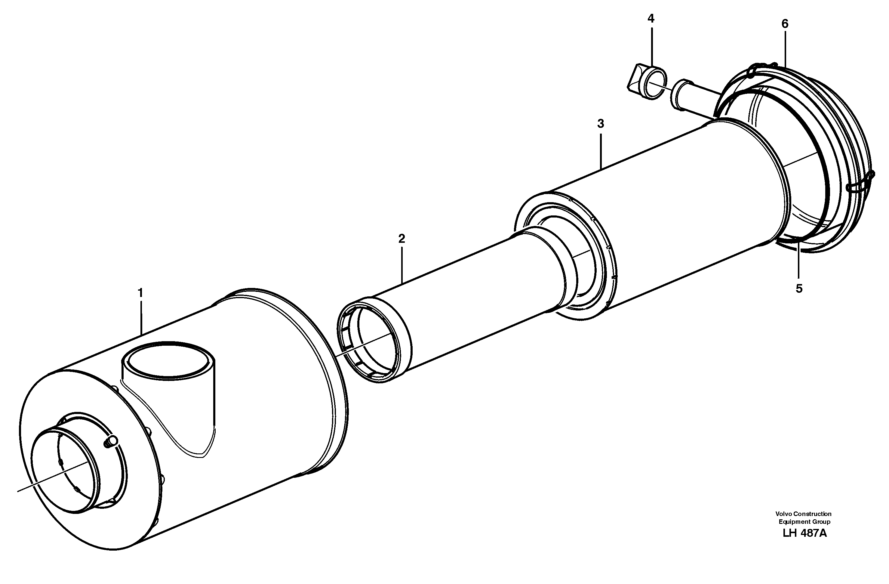
VOE 11708377

Nipple

1шт.

VOE 11708377

Nipple

1шт.

1

VOE 14346120

Air cleaner

1шт.

1

VOE 14346120

Air cleaner

1шт.

2

VOE 11110176

Safety filter

1шт.

3

VOE 11110175

Фильтр топливный

1шт.

3

VOE 11110175

Фильтр топливный

1шт.

4

VOE 11705911

Клапан

1шт.

4

VOE 11705911

Клапан

1шт.

5

VOE 11705910

Кольцо уплотнительное (О-кольцо)

1шт.

5

VOE 11705910

Кольцо уплотнительное (О-кольцо)

1шт.

6

VOE 11705909

Cover

1шт.

6

VOE 11705909

Крышка

1шт.

Выбрано товаров: 13