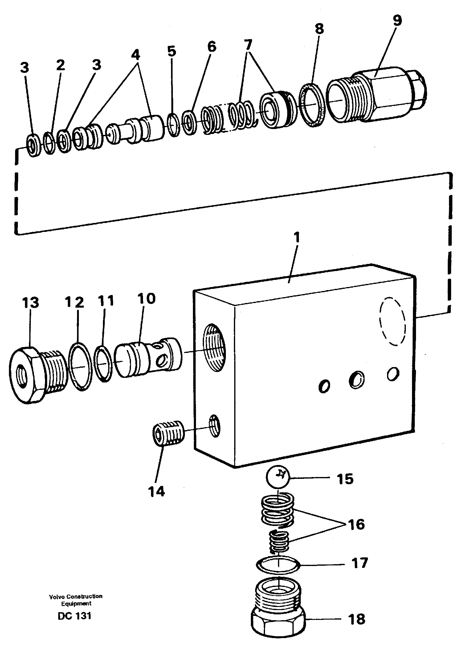
Запчасти Volvo L90E 5135 Overcenter valve ATTACHMENTS ATTACHMENTS WHEEL LOADERS GEN. D - E

Схема запчастей Volvo L90E - 5135 Overcenter valve ATTACHMENTS ATTACHMENTS WHEEL LOADERS GEN. D - E
FIT
1:1
100%

Артикул

Название

Примечание

Количество

VOE 4786767

Hose break valve

1шт.

VOE 4786767

Hose break valve

1шт.

11

VOE 6623036

Кольцо уплотнительное (О-кольцо)

1шт.

11

VOE 6623036

Кольцо уплотнительное (О-кольцо)

1шт.

12

VOE 6623045

Кольцо уплотнительное (О-кольцо)

1шт.

12

VOE 6623045

Кольцо уплотнительное (О-кольцо)

1шт.

17

VOE 6623045

Кольцо уплотнительное (О-кольцо)

1шт.

17

VOE 6623045

Кольцо уплотнительное (О-кольцо)

1шт.

2

VOE 6623044

Кольцо уплотнительное (О-кольцо)

1шт.

2

VOE 6623044

Кольцо уплотнительное (О-кольцо)

1шт.

3

VOE 6623043

Back-up ring

1шт.

5

VOE 6623041

Кольцо уплотнительное (О-кольцо)

1шт.

5

VOE 6623041

Кольцо уплотнительное (О-кольцо)

1шт.

6

VOE 6623040

Back-up ring

1шт.

8

VOE 6623036

Кольцо уплотнительное (О-кольцо)

1шт.

8

VOE 6623036

Кольцо уплотнительное (О-кольцо)

1шт.

Выбрано товаров: 16