Запчасти Volvo PL4608 3396 Instrument panel, radio panel

Схема запчастей Volvo PL4608 - 3396 Instrument panel, radio panel
FIT
1:1
100%

Артикул

Название

Примечание

Количество

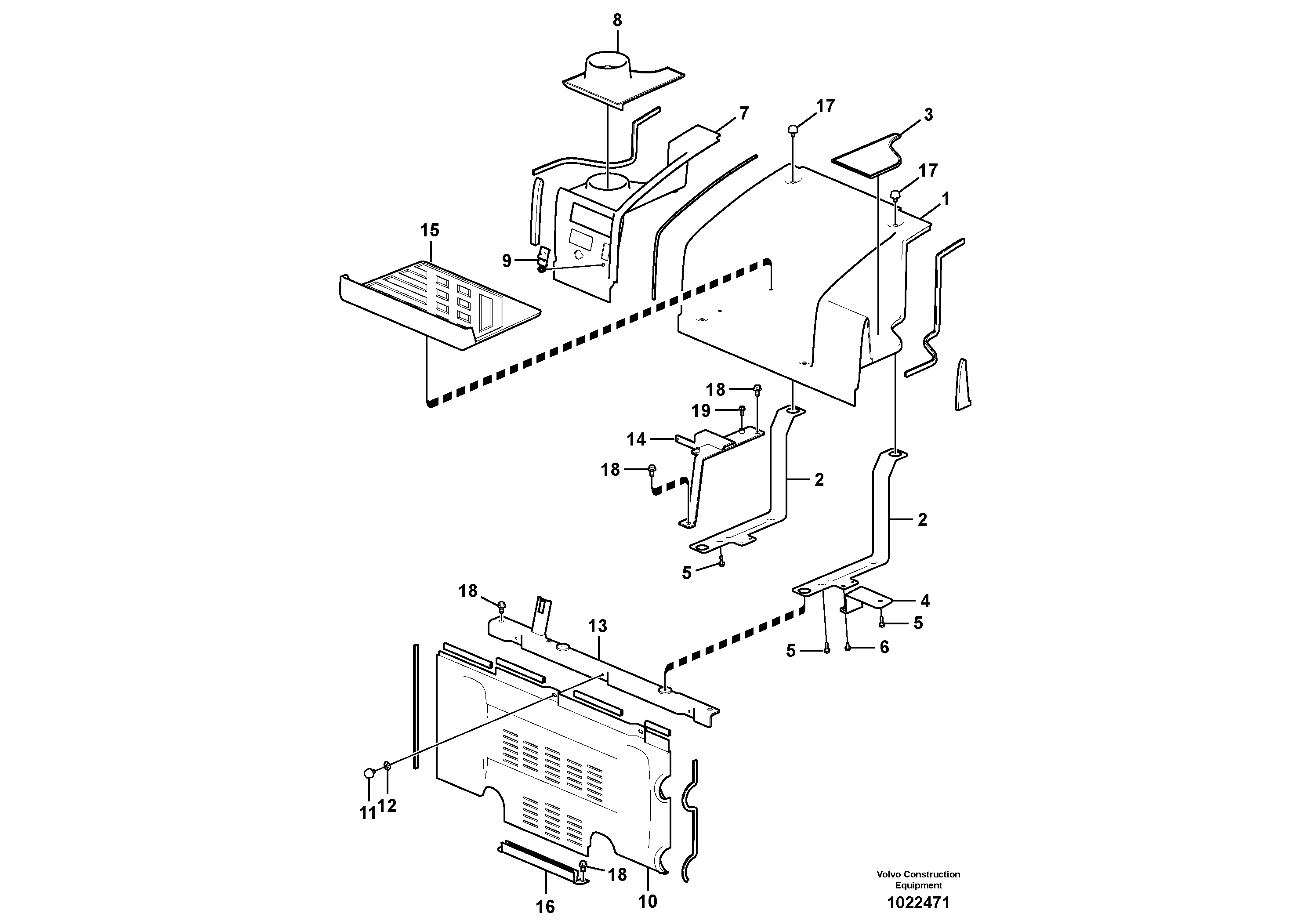
1

VOE 14534492

Крышка

1шт.

1

VOE 14534492

Крышка

1шт.

10

VOE 14534490

Крышка

1шт.

10

VOE 14534490

Крышка

1шт.

11

VOE 14508096

Knob

1шт.

11

VOE 14508096

Knob

1шт.

12

VOE 14527817

Тарелка клапана

1шт.

12

VOE 14527817

Тарелка клапана

1шт.

13

VOE 14534499

Outrigger

1шт.

13

VOE 14534499

Опора

1шт.

14

VOE 14534500

Outrigger

1шт.

14

VOE 14534500

Опора

1шт.

15

VOE 14534495

Floor

1шт.

15

VOE 14534495

Floor

1шт.

16

VOE 14508099

Channel

1шт.

17

VOE 14508096

Knob

1шт.

17

VOE 14508096

Knob

1шт.

18

VOE 946441

Flange screw

1шт.

18

VOE 946441

Flange screw

1шт.

19

VOE 946544

Flange screw

1шт.

19

VOE 946544

Flange screw

1шт.

2

VOE 14534494

Кронштейн

1шт.

2

VOE 14534494

Кронштейн

1шт.

3

VOE 14534501

Floor

1шт.

3

VOE 14534501

Floor

1шт.

4

VOE 14547422

Кронштейн

1шт.

4

VOE 14547422

Кронштейн

1шт.

5

VOE 946934

Flange screw

1шт.

5

VOE 946934

Flange screw

1шт.

6

VOE 965175

Flange screw

1шт.

6

VOE 965175

Flange screw

1шт.

7

VOE 14567352

Крышка

1шт.

7

VOE 14567352

Крышка

1шт.

8

VOE 14534498

Floor

1шт.

8

VOE 14534498

Floor

1шт.

9

VOE 14554749

Крышка

1шт.

Выбрано товаров: 36