Запчасти Volvo PL4611 44992 Гидравлика, мотор вентилятора масляного охлаждения

Схема запчастей Volvo PL4611 - 44992 Гидравлика, мотор вентилятора масляного охлаждения
FIT
1:1
100%

Артикул

Название

Примечание

Количество

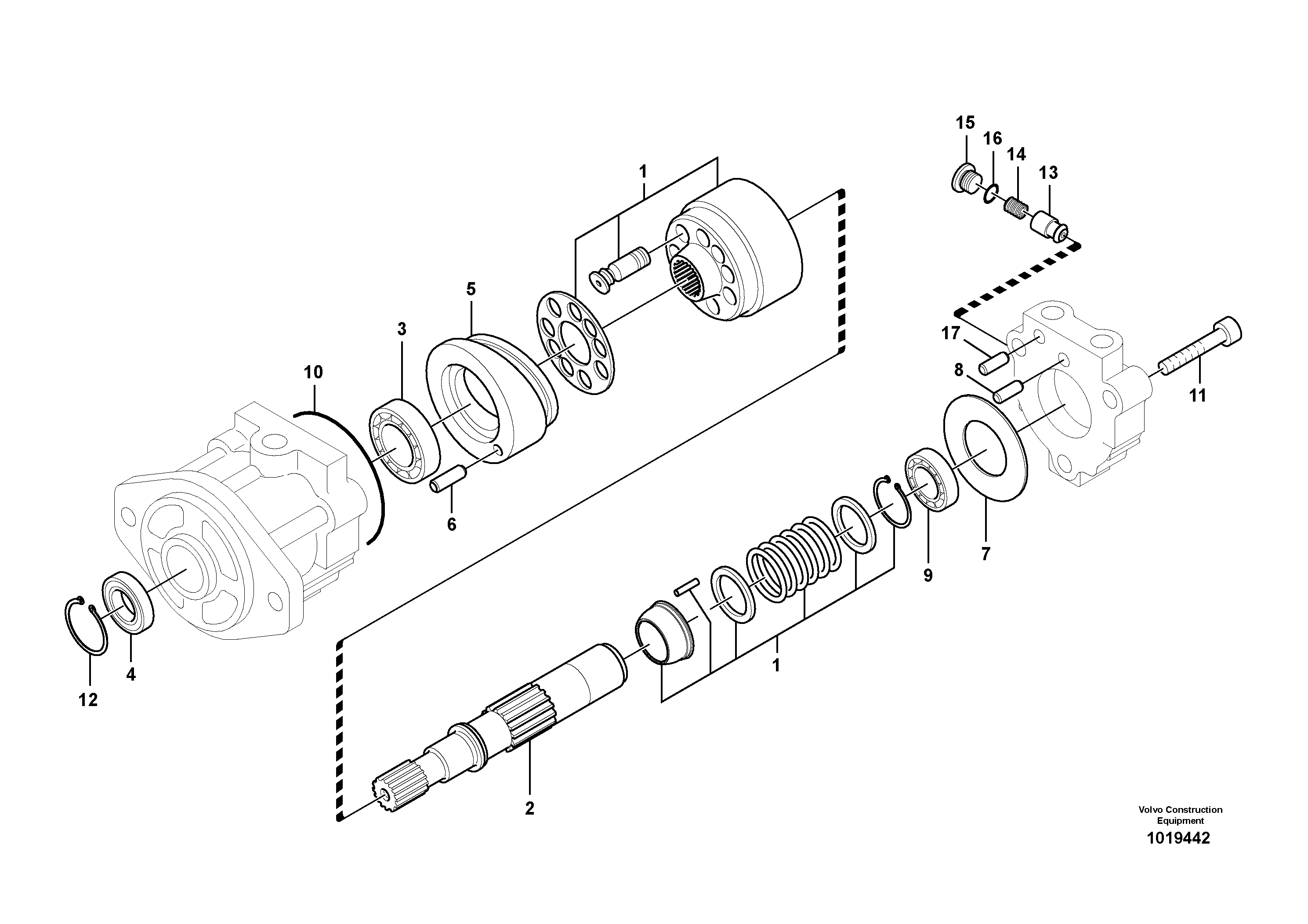
VOE 14533496

Motor

1шт.

1

VOE 14537417

Блок цилиндров

1шт.

10

VOE 14536018

Кольцо уплотнительное (О-кольцо)

1шт.

10

VOE 14536018

Кольцо уплотнительное (О-кольцо)

1шт.

100

VOE 14537416

Sealing Kit

1шт.

11

SA 8230-33220

Болт

1шт.

12

VOE 14512772

Кольцо

1шт.

13

VOE 14536020

Клапан обратный

1шт.

13

VOE 14536020

Check valve

1шт.

14

VOE 14536021

Пружина

1шт.

14

VOE 14536021

Пружина

1шт.

15

VOE 14536022

Пробка (заглушка)

1шт.

16

SA 9511-12014

Кольцо уплотнительное (О-кольцо)

1шт.

17

SA 8230-32410

Палец

1шт.

2

VOE 14537413

Вал

1шт.

2

VOE 14537413

Вал

1шт.

3

SA 8230-33970

Ball Bearing

1шт.

3

SA 8230-33970

Ball Bearing

1шт.

4

VOE 14537414

Сальник

1шт.

5

VOE 14537415

Пластина

1шт.

6

VOE 14512771

Палец

1шт.

7

VOE 14536015

Пластина

1шт.

7

VOE 14536015

Пластина

1шт.

8

VOE 14536016

Палец

1шт.

9

VOE 14536017

Подшипник

1шт.

Выбрано товаров: 25