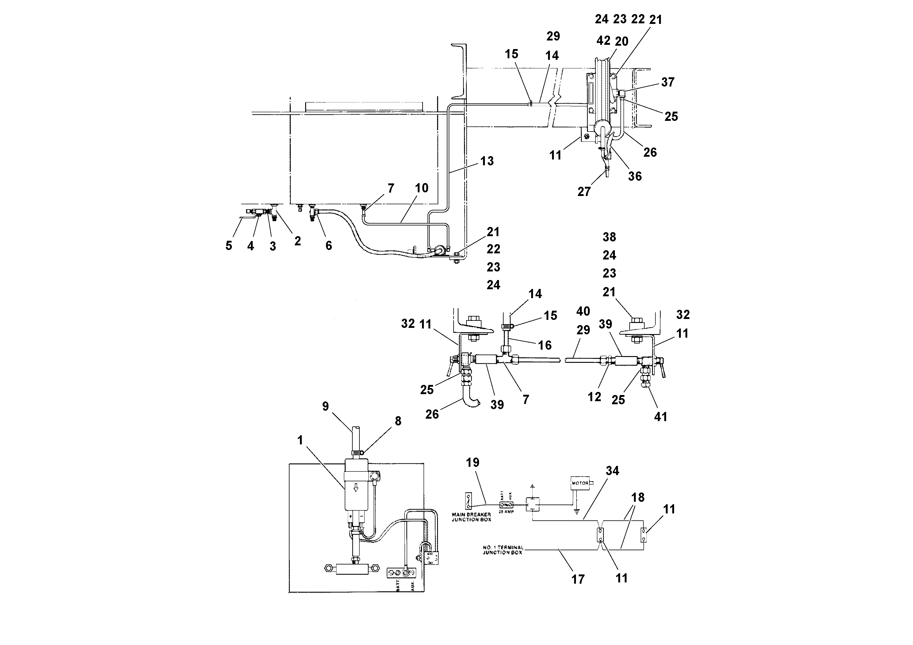
Запчасти Volvo RW100A S/N 196960 - 96936 Wash-down System Installation

Схема запчастей Volvo RW100A S/N 196960 - - 96936 Wash-down System Installation
FIT
1:1
100%

Артикул

Название

Примечание

Количество

10

RM 20196176

Трубка

1шт.

12

RM 15500150

Адаптер

1шт.

13

RM 20196176

Трубка

1шт.

14

RM 13813753

Hose assembly

1шт.

15

RM 20935987

Зажим

1шт.

16

RM 20196176

Трубка

1шт.

17

RM 15533268

Wire

1шт.

18

RM 15533565

Wire

1шт.

19

RM 15533557

Wire

1шт.

2

RM 20186714

Nipple

1шт.

21

RM 95934584

Винт шестигранник

1шт.

21

RM 95934584

Винт шестигранник

1шт.

22

RM 95922233

Шайба

1шт.

22

RM 95922233

Шайба

1шт.

23

RM 95931432

Стопорная шайба (кольцо)

1шт.

23

RM 95931432

Стопорная шайба (кольцо)

1шт.

24

RM 95922894

Hexagon nut

1шт.

24

RM 95922894

Hexagon nut

1шт.

25

RM 20343620

Адаптер

1шт.

29

RM 20933677

Cable

1шт.

29

RM 20933677

Cable

1шт.

3

RM 95352738

Nipple

1шт.

32

RM 20957130

Sign

1шт.

34

RM 15533276

Wire

1шт.

38

RM 95338356

Шайба

1шт.

39

RM 20936605

Фиттинг

1шт.

4

RM 20187092

Клапан

1шт.

40

RM 20196176

Трубка

1шт.

41

RM 59924050

Cap

1шт.

41

RM 59924050

Cap

1шт.

5

RM 95279501

Адаптер

1шт.

6

RM 95339560

Фиттинг

1шт.

7

RM 20196796

T-nipple

1шт.

8

RM 15504517

Шланг

1шт.

9

RM 95526653

Hose clamp

1шт.

Выбрано товаров: 35