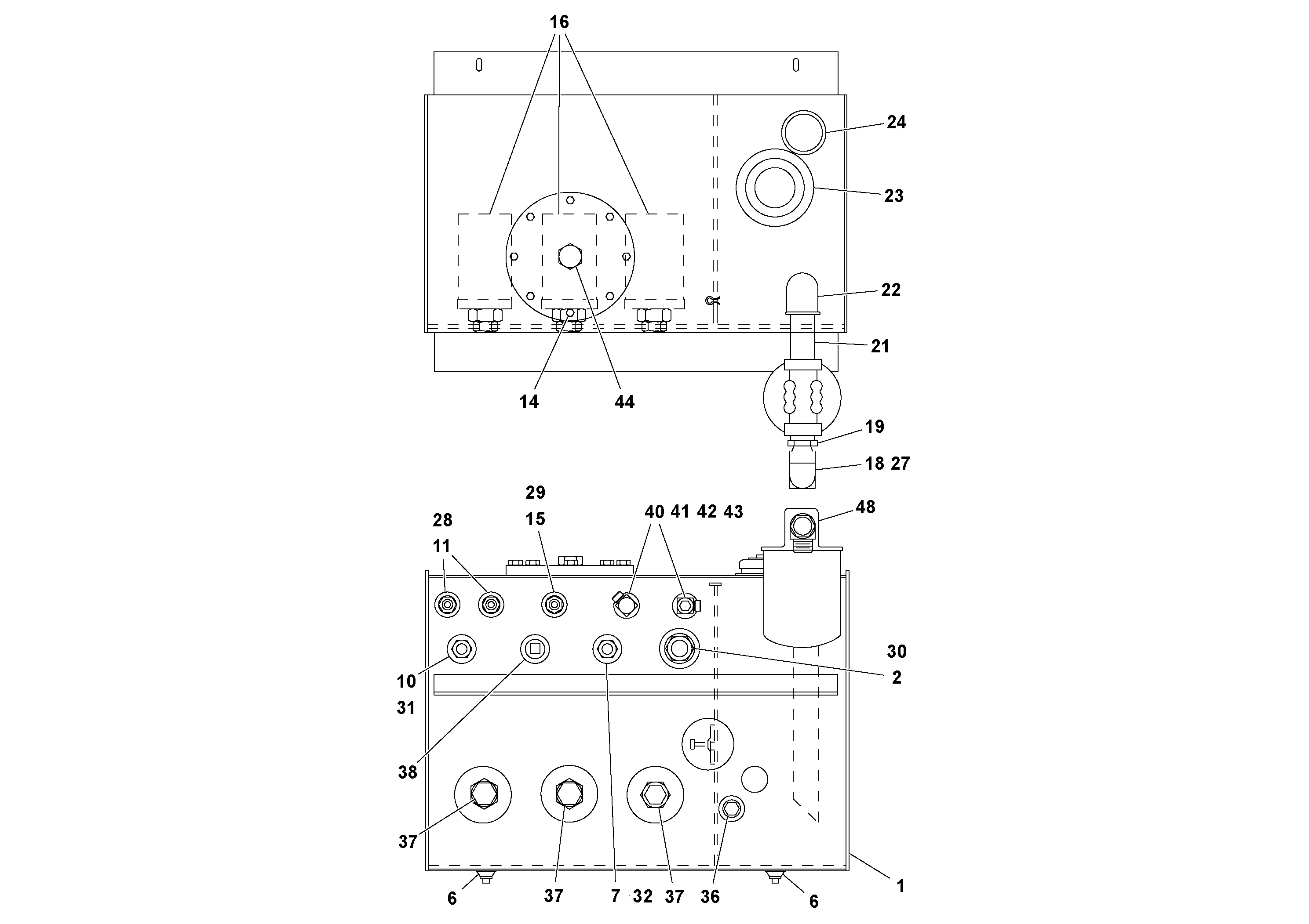
Запчасти Volvo RW100A S/N 196960 - 101191 Hydraulic Tank Assembly

Схема запчастей Volvo RW100A S/N 196960 - - 101191 Hydraulic Tank Assembly
FIT
1:1
100%

Артикул

Название

Примечание

Количество

RM 20956181

Dipstick

1шт.

RM 15613029

Cap

1шт.

RM 95934642

Винт шестигранник

1шт.

RM 95934642

Винт шестигранник

1шт.

RM 95922894

Hexagon nut

1шт.

RM 95922894

Hexagon nut

1шт.

RM 43921949

Фильтр масляный

ELEMENT

1шт.

RM 43921949

Фильтр масляный

ELEMENT

1шт.

RM 95920674

Винт шестигранник

1шт.

RM 95920674

Винт шестигранник

1шт.

RM 21063847

Kit

1шт.

RM 43800242

Прокладка

1шт.

RM 13777701

Прокладка

1шт.

RM 95943080

Lock nut

1шт.

RM 95943080

Lock nut

1шт.

RM 95931432

Стопорная шайба (кольцо)

1шт.

RM 95931432

Стопорная шайба (кольцо)

1шт.

RM 43800234

Lid

1шт.

RM 20925798

Hydraulic fluid filter

1шт.

RM 20932331

Кольцо

1шт.

1

RM 13654967

Hydraulic Tank Weldment

1шт.

10

RM 95219747

Адаптер

1шт.

11

RM 95219721

Адаптер

1шт.

15

RM 95330023

Адаптер

1шт.

16

RM 20925038

Фильтр

SUCTION FILTER

1шт.

18

RM 95279436

Фиттинг

1шт.

19

RM 95038097

Втулка

1шт.

2

RM 20185476

Адаптер

1шт.

21

RM 13788880

Nipple

1шт.

22

RM 95372868

Адаптер

1шт.

23

RM 21063888

Cap

1шт.

24

RM 20937439

Venting

1шт.

27

RM 15509011

Cap

1шт.

28

RM 15508997

Cap

1шт.

29

RM 15508989

Cap Plug

1шт.

30

RM 20258745

Cap

1шт.

31

RM 20258745

Cap

1шт.

32

RM 95257325

Гайка

1шт.

32

RM 95257325

Гайка

1шт.

36

RM 13810320

Cap

1шт.

37

RM 13810106

Cap

1шт.

38

RM 20937199

Пробка (заглушка)

1шт.

40

RM 95734455

Адаптер

1шт.

41

RM 95037347

Втулка

1шт.

42

RM 95257341

Cap

1шт.

42

RM 95257341

Cap

1шт.

43

RM 20300828

Cap plug

1шт.

44

RM 95939856

Пробка (заглушка)

1шт.

44

RM 95939856

Пробка (заглушка)

1шт.

48

RM 20925756

Фильтр масляный

1шт.

6

RM 20937140

Tube plug

1шт.

6

RM 20937140

Tube plug

1шт.

7

RM 95219739

Фиттинг

1шт.

Выбрано товаров: 53