Запчасти Volvo RW100A S/N 196960 - 100567 Control Pedestal Assembly

Схема запчастей Volvo RW100A S/N 196960 - - 100567 Control Pedestal Assembly
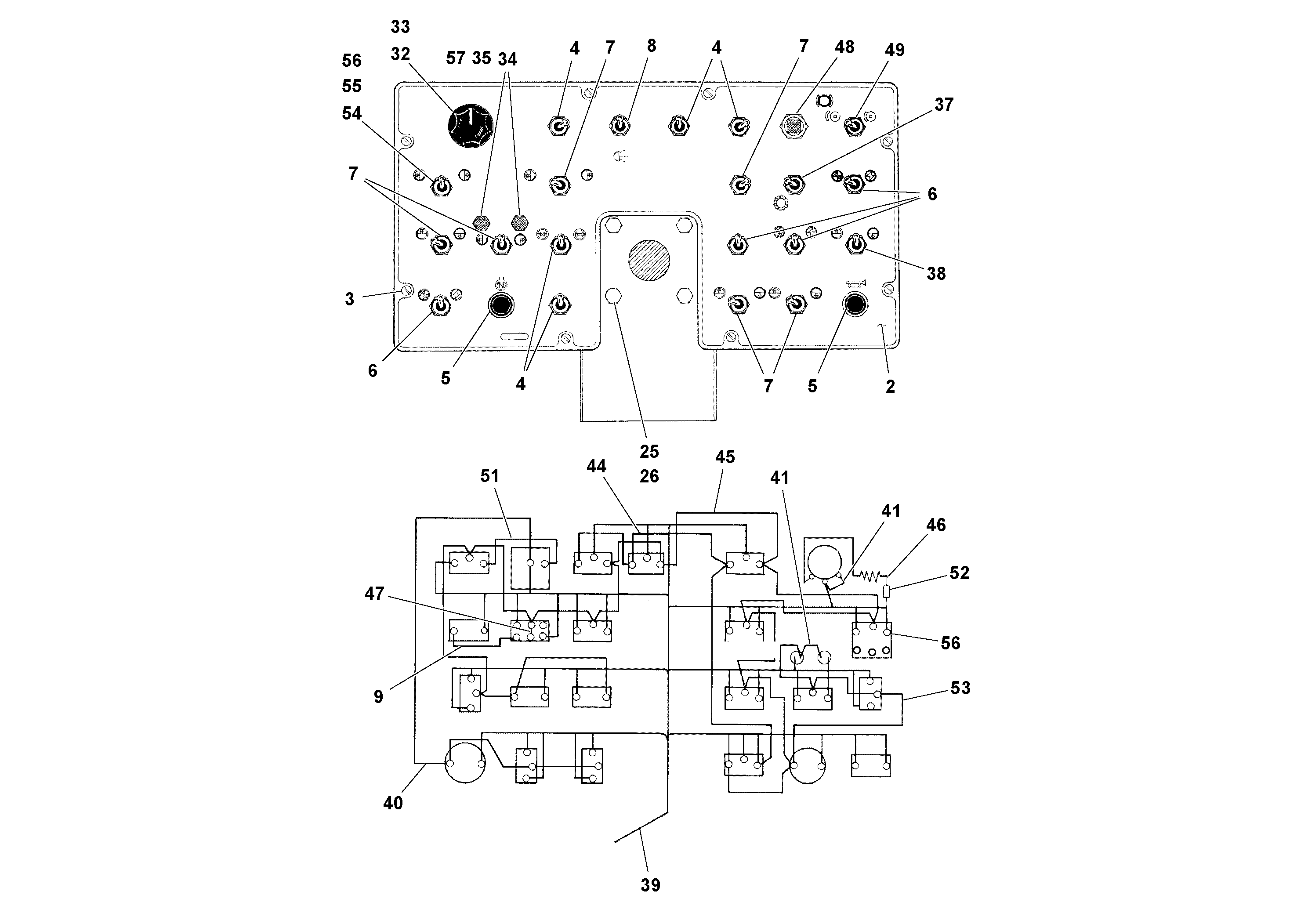
FIT
1:1
100%

Артикул

Название

Примечание

Количество

2

RM 20207361

Instrument frame

1шт.

25

RM 95934584

Винт шестигранник

1шт.

25

RM 95934584

Винт шестигранник

1шт.

26

RM 95931432

Стопорная шайба (кольцо)

1шт.

26

RM 95931432

Стопорная шайба (кольцо)

1шт.

3

RM 95996690

Болт

1шт.

3

RM 95996690

Болт

1шт.

32

RM 20934477

Rheostat

50W150, CONVEYOR SPEED

1шт.

33

RM 20933453

Knob

CONVEYOR SPEED

1шт.

34

RM 20933735

Socket

1шт.

35

RM 20933743

Bulb

1шт.

37

RM 20934535

Toggle switch

1шт.

38

RM 20934022

Переключатель

1шт.

39

RM 20214359

Cable harness

1шт.

4

RM 20934055

Переключатель

1шт.

40

RM 15532005

Wire

GROUND

1шт.

41

RM 15503568

Wire

1шт.

44

RM 15527633

Wire

1шт.

45

RM 15527658

Wiring Harness

1шт.

46

RM 20214391

Resistor

1шт.

47

RM 15531940

Wire

1шт.

48

RM 20934170

Lamp

1шт.

49

RM 20934568

Toggle switch

1шт.

5

RM 20933545

Переключатель

1шт.

51

RM 15531932

Wire

1шт.

52

RM 20940656

Splice

1шт.

53

RM 15527641

Wire

1шт.

54

RM 20190260

Переключатель

HESITATION

1шт.

55

RM 20182960

Крышка

1шт.

56

RM 15503683

Spade

1шт.

57

RM 20933727

Lens

W/GASKET

1шт.

6

RM 20934014

Переключатель

1шт.

7

RM 20934048

Переключатель

1шт.

8

RM 20933875

Пробка (заглушка)

1шт.

9

RM 15531890

Wire

1шт.

Выбрано товаров: 35