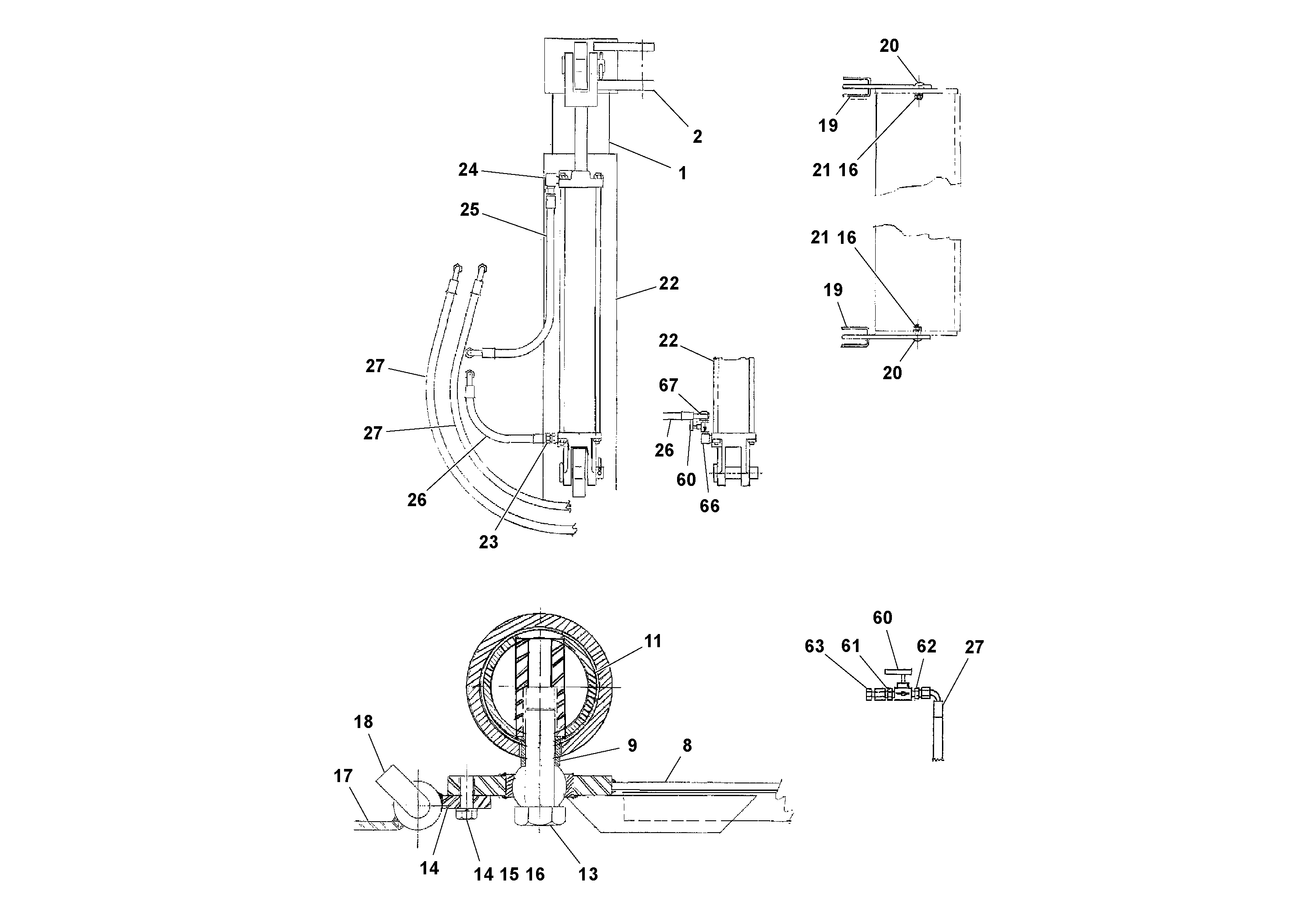
Запчасти Volvo RW100A S/N 196960 - 100570 Strike-off Support Assembly

Схема запчастей Volvo RW100A S/N 196960 - - 100570 Strike-off Support Assembly
FIT
1:1
100%

Артикул

Название

Примечание

Количество

10

RM 95494787

Split pin

1шт.

14

RM 20977963

Hinge

1шт.

15

RM 95920708

Винт шестигранник

1шт.

15

RM 95920708

Винт шестигранник

1шт.

16

RM 95931226

Стопорная шайба (кольцо)

1шт.

16

RM 95931226

Стопорная шайба (кольцо)

1шт.

17

RM 20977922

Hinge

1шт.

18

RM 20213765

Палец

1шт.

19

RM 20215471

Guide

INNER CUT-OFF

1шт.

20

RM 95997045

Болт

1шт.

20

RM 95997045

Болт

1шт.

21

RM 95922902

Hexagon nut

1шт.

21

RM 95922902

Hexagon nut

1шт.

27

RM 20199725

Шланг

1шт.

8

RM 20215489

Пластина

INNER CUT-OFF

1шт.

Выбрано товаров: 15