Запчасти Volvo RW195D S/N 197517- 86618 Control Station

Схема запчастей Volvo RW195D S/N 197517- - 86618 Control Station
FIT
1:1
100%

Артикул

Название

Примечание

Количество

RM 20944997

Lock

1шт.

RM 21143433

Control unit

1шт.

RM 20945010

Lock

1шт.

RM 20165411

Болт

1шт.

RM 21143136

Крышка

NOT SHOWN

1шт.

RM 20940151

Lock nut

1шт.

RM 95996450

Болт

1шт.

RM 95996450

Болт

1шт.

RM 20257259

Болт

1шт.

RM 20165338

Болт

1шт.

RM 20165338

Болт

1шт.

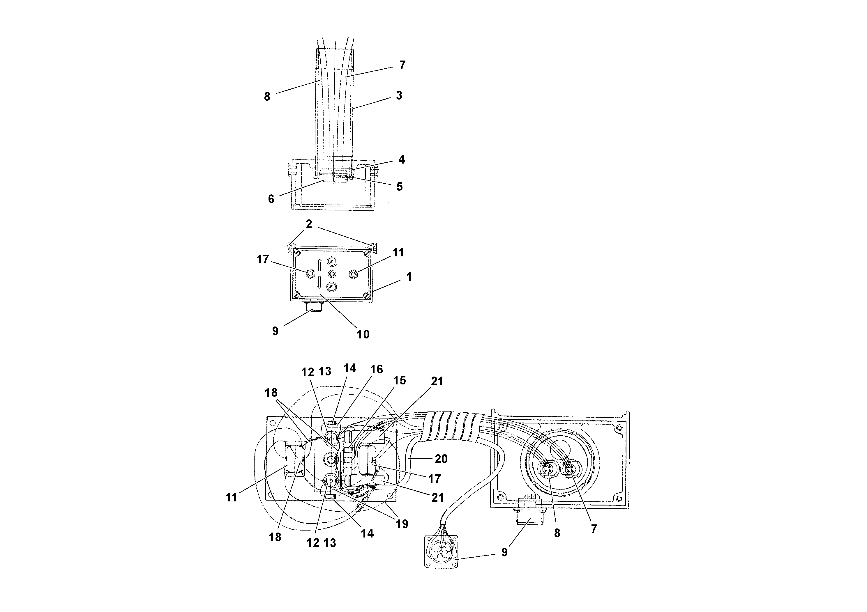
1

RM 20251880

Control unit

1шт.

10

RM 21143631

Indicator plate

1шт.

11

RM 20934105

Переключатель

1шт.

12

RM 20933719

Lamp

1шт.

13

RM 20933743

Bulb

1шт.

14

RM 20934089

Диод

1шт.

15

RM 20183273

Terminal block

1шт.

16

RM 21143201

Кронштейн

1шт.

17

RM 20933701

Переключатель

1шт.

18

RM 15633092

Wire

1шт.

19

RM 15633100

Cable

1шт.

2

RM 20936282

Latch

1шт.

20

RM 20189890

Cable

1шт.

21

RM 20934196

Capacitor

1шт.

3

RM 20251997

Cable sheating

1шт.

4

RM 20258695

Втулка

1шт.

5

RM 20252003

Cable conduit

1шт.

6

RM 20934063

Втулка

1шт.

6

RM 20934063

Втулка

1шт.

7

RM 21143342

Cable

1шт.

8

RM 21143367

Cable harness

1шт.

9

RM 20934139

Socket

1шт.

9

RM 20934139

Socket

1шт.

Выбрано товаров: 34