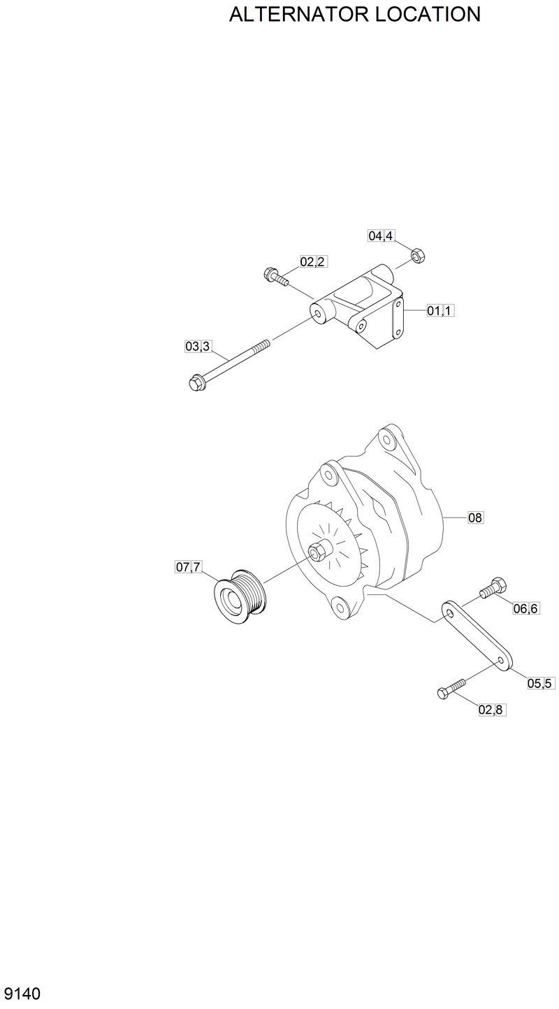
1117645 Генератор
Заказать расчет, стоимость и сроки поставки 1117645
Применимость запчасти
Всего используется в 6 узлов, посмотреть полную применимостьПроизводители
Применяется в спецтехнике
- Hyundai
- Старые фронтальные погрузчики
- Старые экскаваторы гусеничные
- Старые экскаваторы колесные
Категории товара
Похожие запчасти
- 124655005 ГЕНЕРАТОР 28V 90A BOSCH
- 12459n Генератор
- 10497081 Генератор BUICK, CADILLAC, 12В 94А
- 600-861-3111 Генератор 40A U40903PK 6735-81-6230
- 600-821-9810 Генератор
- 600-821-6190 Генератор 30A 8PK U40904PK 600-821-6110 600-821-6120 600-821-6130 600-821-6150 600-821-616
- 4892318 Генератор 24V 70A Cummins 6ISBe 4892318 5259577
- 600-821-7220 Генератор, шт
- 600-821-9440 Генератор
- 600-821-8340 Генератор S6D155 600-821-8340 600-821-7540 600-825-3111 600-825-3250
- 6678205 Генератор 90А BOBCAT 6678205 Krauf
- 600-821-9311 Генератор
- 6n9294 Генератор 3T6352
- 320-08719 Генератор 14В 95А (аналог) KRAUF
- 5266781 Генератор Cummins ISF 2.8 5266781/5318120
- 600-821-8990 Генератор 600-821-9440
- 4061007 Генератор NTA855 24V, 70A SHANTUI SD22/32 JFZ256 4061007, 3040307
- 612630060039 Генератор ручейковый шкиф WP12
- 3415609 Генератор для КАМАЗ,ПАЗ,КАВЗ Cummins EQB 180,210-20 24V 70А 3415609
- 133-4995 Прокладка ГБЦ 133-4995 (WG