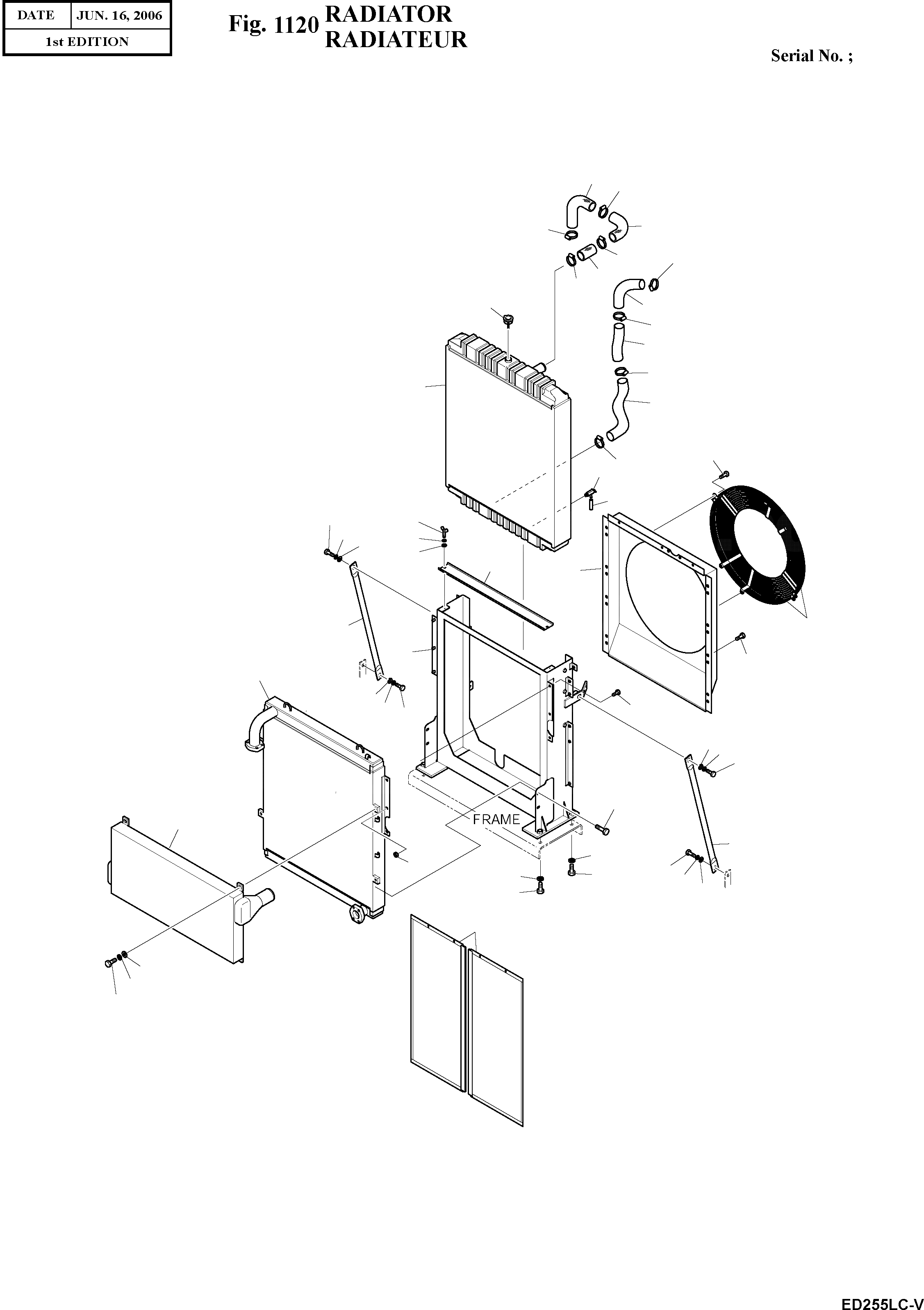
13g11000 Радиатор основной S255NLC-V WELL, 13G11000
Заказать расчет, стоимость и сроки поставки 13g11000
Применимость запчасти
Всего используется в 2 узлов, посмотреть полную применимостьПрименяется в спецтехнике
Категории товара
Похожие запчасти
- 20y-03-42452 20Y-03-42452 Радиатор
- 13b81000a Радиатор основной S225NLC-V WELL, 13B81000A
- 4454113 Радиатор водяной (см примечание
- 11na-40031 Радиатор основной R360LC-7 WELL, 11NA-40031
- 11n8-40212 Радиатор основной R290LC-7 WELL, 11N8-40212
- 206-03-21411 Радиатор водяной (алюминиевый
- 11n5-40021 Радиатор основной R160LC-7 WELL, 11N5-40021
- 207-03-75120 Радиатор 208-03-71110
- xb00001928 Радиатор водяной
- 208-03-75110 Радиатор (алюминиевый), шт
- 206-03-21412 Радиатор , шт
- 20y-03-31111 Радиатор OEM
- 206-03-71111 Радиатор
- 4467592 Ремкомплект, шт
- xb00001051 Радиатор отопителя, шт
- 9207291 Гидронасос основной, шт
- 206-03-24110 Радиатор в сборе
- 207-03-75121 Радиатор
- 195-03-51110 Радиатора сердцевина D375A (195-03-51110
- nd116140-0050 Радиатор отопителя OEM