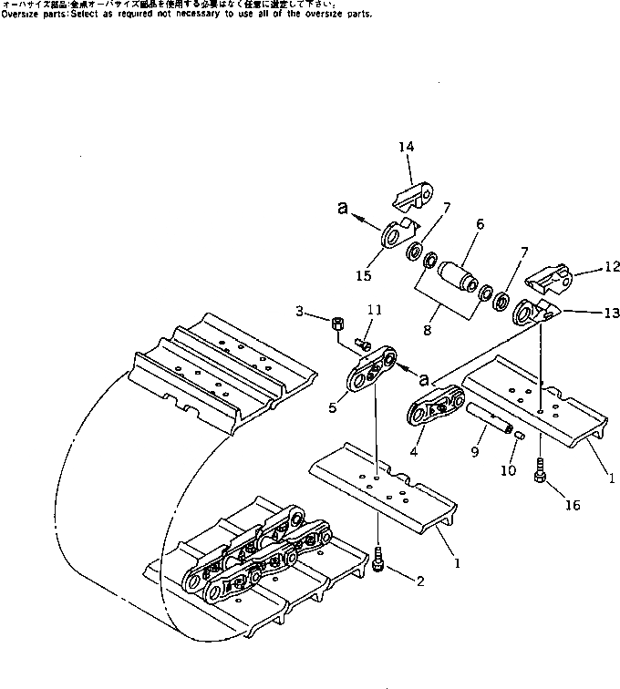
144-32-21342 МАСТЕР БОЛТ БАШМАЧНЫЙ
Заказать расчет, стоимость и сроки поставки 144-32-21342
Аналоги 144-32-21342
Производители
Применяется в спецтехнике
- Komatsu
- Бульдозеры гусеничные
- Погрузчики
Название запчасти
- БАШМАЧНЫЙ БОЛТ
- МАСТЕР БОЛТ БАШМАЧНЫЙ, 144-32-21342
Варианты написания артикула
- 1443221342
- 144-32-21342
Похожие запчасти
- 198-32-31340 Болт башмачный (мастер-болт) (D475) М33x2х, 198-32-31340
- 195-32-23140 Болт M27X2X148 KL026.00.51
- 195-32-41431 Мастер болт KL026-00-51 195-32-23140
- 154-32-21261 Болт башмачный (мастер-болт) (D85) М20x1,5x110, 154-32-21261
- 195-32-61350 Болт KL028-00-51
- 175-32-41261 Болт M24X2X127,5 175-32-41260 KL025-00-51
- 208-32-51210 Болт М24*2*65
- 20y-32-11210 14X-32-11210 болт
- 154-32-31210 Болт M20X1.5X68 154-32-11230 154-32-31211 154-32-21323 154-32-31230 154-820-1240
- 71401179 Болт башмачный 207-32-11350
- 207-27-51311 Болт 01010-52055 01010-62055 01010-82055 207-27-51310 01010-32055 207-27-K1120 207-27-K1130
- 17a-71-12451 17A-71-12451 Болт
- 02090-11270 Болт
- 320-02711 Болт головки блока (JCB (ОРИГИНАЛ) , 320/02711
- 195-71-11452 Болт крепления ножей отвала
- 01580-12419 Гайка 801920112 01503-32418 01580-02419
- 826-00892 Болт крепления фиксатора JCB 826/00892
- 3t8601 Болт башмачный, замыкающего звена (3T8601
- 826-01080 Болт дифференциала (аналог) 826/01080 Aries (Индия
- 5348889 Прокладка турбокомпрессора(к выпускному коллектору) �