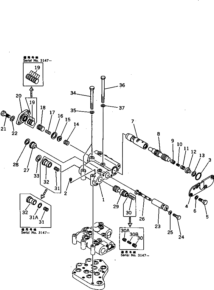
154-15-01132 Клапан в сборе Komatsu
Заказать расчет, стоимость и сроки поставки 154-15-01132
Аналоги 154-15-01132
Применяется в спецтехнике
- Komatsu
- Бульдозеры гусеничные
Название запчасти
- КЛАПАН В СБОРЕ
- Клапан в сборе Komatsu, 154-15-01132
Варианты написания артикула
- 1541501132
- 154-15-01132
Похожие запчасти
- 175-33-28310 Клапан регулирующий в сборе, 175-33-28310
- f934201210590 Клапан впускной (нов. F946201210200) ВПУСКНОЙ КЛАПАН (F934201210590,
- 17m-61-49610 РВД Komatsu 17M-61-49610
- 095420-0260 Клапан топливной рейки Е3
- 1110010028 1110010028 bosch клапан ограничения давления CUMMINS
- 0445120236 Форсунка
- 1110010013 Клапан ограничения давления
- 0928400617 0928400617 bosch дозировочный блок SFH POWERTRAIN (5037751370
- 705-52-40160 Насос в сборе
- 387-9434 Форсунка 387-9434 с импортными распылителями
- 3974093 Клапан редукционный рампы дв.Cummins ISF2.8, ISF3.8, ISBe 3974093 11100100
- f00vc01383 F00VC01383 bosch комплект клапанов CR CUMMINS (0445110376 ISF 2.8s3129T/ISF 2.8s314
- 1110010024 1110010024 bosch клапан ограничения давления
- 6i9668 Цепь гусеничная 39 зв., с жидк. смазкой, без башмаков (6I966
- 0445120123 Форсунка 0445120123/0986435560
- 206-06-61130 Датчик
- 0445120231 0445120231 bosch форсунка CUMMINS (5263262
- 0445120199 0445120199 bosch форсунка в сборе CUMMINS (4994541
- 5262500 Ролик натяжной дв.Cummins ISF 2,8 5262500
- 7w7026 Форсунка