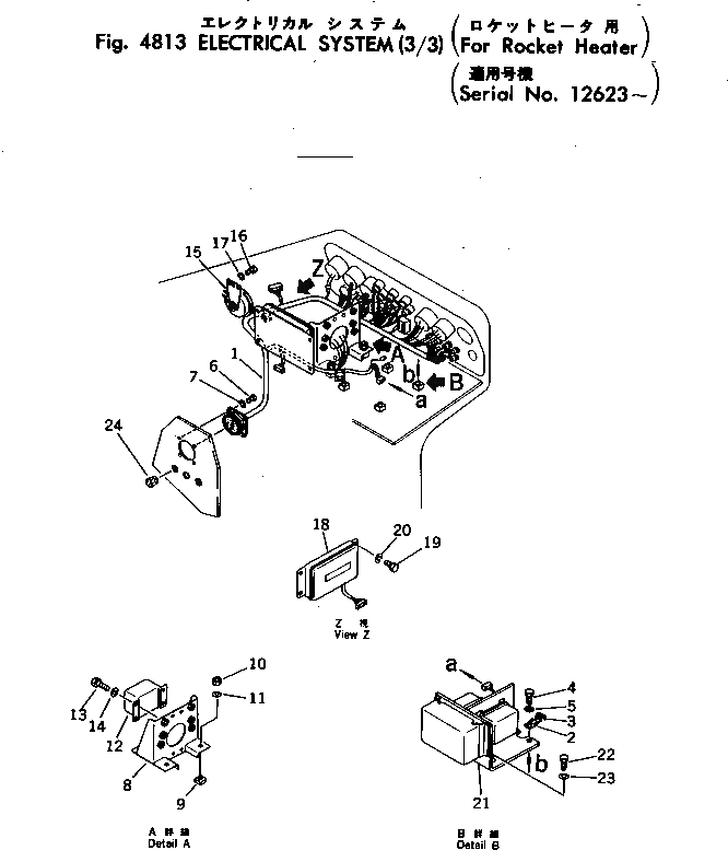
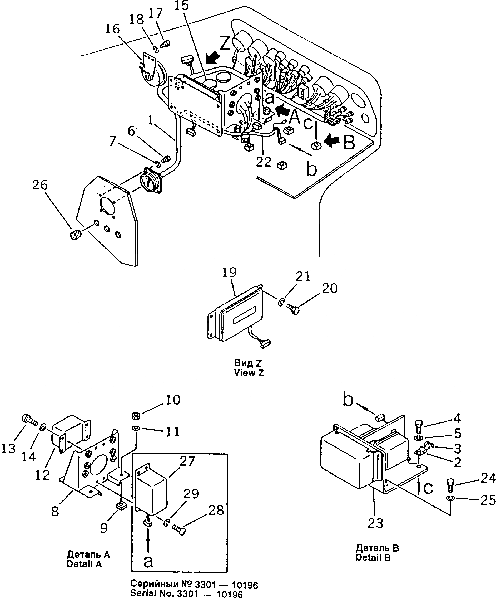
175-06-39913 Модуль предупреждения Д375-А2 Komatsu
Наличие 175-06-39913 на складах, цены и сроки отгрузки
Артикул
Название
Производитель
Код
Город отгрузки
Срок отгрузки
Наличие
Стоимость
175-06-39913
ПАНЕЛЬ УПРАВЛЕНИЯ, 175-06-39913
188
Москва
1-2дня
по запросу
по запросу
Показать больше
175-06-39913
Модуль предупреждения Д375-А2 Komatsu, 175-06-39913
Komatsu
199
Магадан
1-2дня
7 шт.
по запросу
Показать больше
Информация, указанная на сайте, не является публичной офертой, носит справочно-информационный характер, может быть изменена в любое время без предварительного уведомления. Для получения актуальной информации о наличии, стоимости, сроков поставки товаров обращайтесь по адресу zakaz@partsell.ru
Заказать расчет, стоимость и сроки поставки 175-06-39913
Аналоги 175-06-39913
Применяется в спецтехнике
- Komatsu
- Бульдозеры гусеничные
Варианты написания артикула
- 1750639913
- 175-06-39913
Похожие запчасти
- 1695656086 ПАНЕЛЬ УПРАВЛЕНИЯ WBE 4110/4100
- sp00100927 ПАНЕЛЬ УПРАВЛЕНИЯ ROBINAIR AC690 PRO
- 7835-31-1012 ПАНЕЛЬ УПРАВЛЕНИЯ
- 561-07-81142 ПАНЕЛЬ УПРАВЛЕНИЯ
- 4988820 Блок управления двс Cummins ISLe,ISBe,ISDe,B3.3,QSB Eвро-3 4943133 4988820 4988
- 5370551 Жгут проводов модуля управления Cummins ISF2.8 Евро-5 5370551
- 07442-71102 Насос рулевого управления
- 319-0678 Гидравлический насос управления форсунками 319-0678/319-0677
- 4995445 Блок управления двигателем Евро 4 Cummins 6ISBe, ISLe 4995444 4995445
- 07440-72202 Насос рулевого управления D155
- 4181700 Насос линии управления, шт
- 244-3114 Клапан 1608408
- 4933503 Жгут электрический на двигатель Cummins 6ISBe 5321101 4933503
- 4921776 Блок управления двигателем
- 4426564 Трос а, шт
- 4360509 Мотор управления подачи топлива, 4614911, 9095590, шт
- 3990517 Блок управления двигателем QSB5.9 3990517 , 3945868 , 3944124
- 4933502 Жгут электрический на двигатель Cummins 4ISBe 4933502
- 705-41-01050 Насос в сборе
- 7835-10-2005 Монитор OEM