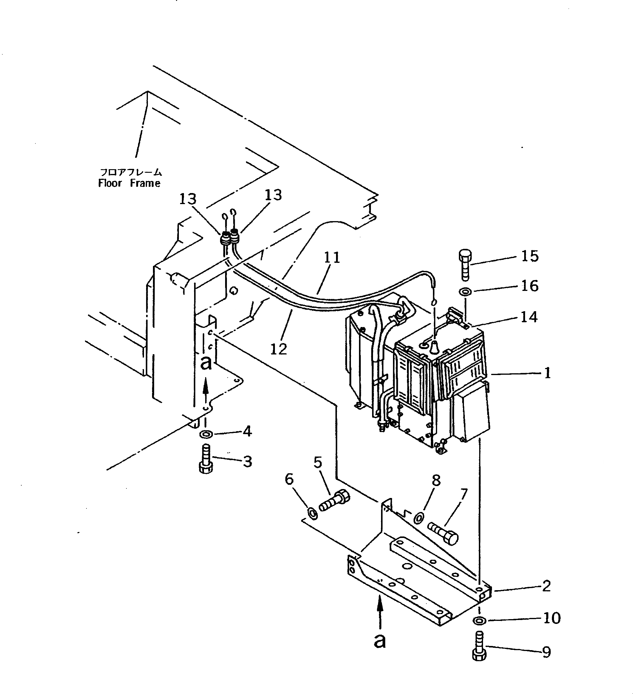
17M-911-4640 КОНДИЦИОНЕР
Наличие 17M-911-4640 на складах, цены и сроки отгрузки
Артикул
Название
Производитель
Код
Город отгрузки
Срок отгрузки
Наличие
Стоимость
17m-911-4640
17M-911-4640 КОНДИЦИОНЕР
KOMATSU
1000034
Екатеринбург
2-3 дня
по запросу
по запросу
Показать больше
17M-911-4640
17M-911-4640 КОНДИЦИОНЕР
KOMATSU
1000034
Екатеринбург
2-3 дня
по запросу
по запросу
Показать больше
Информация, указанная на сайте, не является публичной офертой, носит справочно-информационный характер, может быть изменена в любое время без предварительного уведомления. Для получения актуальной информации о наличии, стоимости, сроков поставки товаров обращайтесь по адресу zakaz@partsell.ru
Заказать расчет, стоимость и сроки поставки 17M-911-4640
Применимость запчасти
Всего используется в 6 узлов, посмотреть полную применимостьПрименяется в спецтехнике
- Komatsu
- Бульдозеры гусеничные
Варианты написания артикула
- 17m9114640
- 17M-911-4640
Категории товара
Похожие запчасти
- 287-33-00010 Плавающее уплотнение
- 17m-30-56201 Палец в сборе
- 17m-27-00102 Доукон 17M-27-00100 287-33-00010 561-33-00010 208-27-00210 17M-27-00121 17M-27-00180 287-33-00090 1
- 17m-27-00102 Доукон 17M-27-00100 287-33-00010 561-33-00010 208-27-00210 17M-27-00121 17M-27-00180 287-33-00090 1
- 195-911-4660 Мотор отопителя без крыльчатки (между отверстиями 135) ND162500-2250
- 911-12400 Палец JCB 911/12400
- 17m-71-21940 Бокорез правый
- 17m-27-00121 Уплотнение плавающее 208-27-00210 17M-27-00102 421-33-00021 287-33-00010 17M-27-00101
- 911-22800 Палец стопорный 105х25 мм 911/22800 (Аналог (JCB
- 17m-27-41630 Группа сегментов
- 17m-30-00330 Каток 17M-30-00331 17M-30-00332 17M-30-01330 17M-30-01331 17M-30-01332
- 2j3507 Гайка E624N / NP100
- 4j9208 Болт 195-71-52280/U12698/195-71-11452
- 17m-30-59200 Палец маслонаполненный
- nd116340-7030 Мотор отопителя
- 195-78-21331 Коронка рыхлителя
- nd116340-3860 Мотор отопителя JPN 292500-0631
- a-1000 A-1000_GLOBELT_Ремень приводной гладкий 13x8x1000, 60500044, M41592
- 17m-71-21930 Бокорез левый
- a-1600 A-1600_GLOBELT_Ремень приводной гладкий 13x8x1600, 209038C1, 765985.0