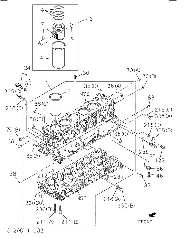
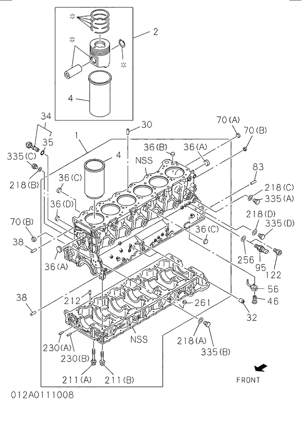
1878133921 Гильзо-поршневая группа, 6WG1
Заказать расчет, стоимость и сроки поставки 1878133921
Применимость запчасти
Всего используется в 3 узлов, посмотреть полную применимостьПрименяется в спецтехнике
Похожие запчасти
- lk6127-31-2140 Гильзо-поршневая группа в сборе без поршневых колец (LK
- lk6128-31-2140 Гильзо-поршневая группа в сборе (LK6128-31-2140
- 187812-9861 Поршневой комплект 187813-5390
- 1878137660 Поршневой набор (1X), 1878129861, 1878129860, 1878135390, 1878137660, 5878148621, 587
- 4995266- Поршень дв. Cummins ISF 2,8 4995266
- 4955337 Поршень (в сборе STD) Cummins 6ISBe 4955337
- 4089963 Поршень разборный в сборе QSL 9 4089963 (3966721+ 4941393
- 4955642 Поршень (в сборе +0.5мм) Cummins 6ISBe 4955642
- 3923537 Поршень Cummins 6СТ/QSC8.3 (300 л.с.) 3923537 3802474
- 4955160 Комплект поршня
- 499000-6160 Датчик топливной рейки Е 3
- 3917707 Поршень 6743-31-2101 6743-31-2100 6743-31-2110
- 1096390340 Прокладка, шт
- 3926631 Поршень дв. 6BT5.9-C130
- 4939181 Поршень (STD голый) Cummins 6ISBe 4939181 4935932 5255257
- 3803544 Гильза цилиндра Cummins ISF 2.8 020660-00 3803544
- f00rj02130 F00RJ02130 bosch комплект клапанов CR CUMMINS/KOMATSU (0445120...059/060/123/132/15
- 3802561 Поршень в сборе Cummins STD 4/6BT, EQB140-20, 210-20 3802561 3926631 3971966
- 4066695 Группа уплотнений, 4664392, 71402765, 150-27-00330, 150-27-00410, 150-27-00025, 150
- 17m-27-41630 Группа сегментов