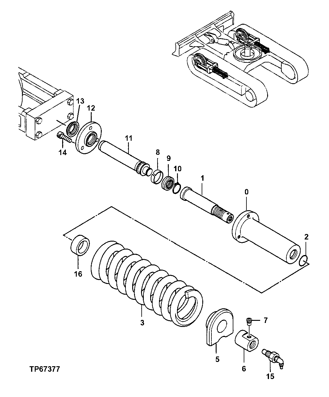
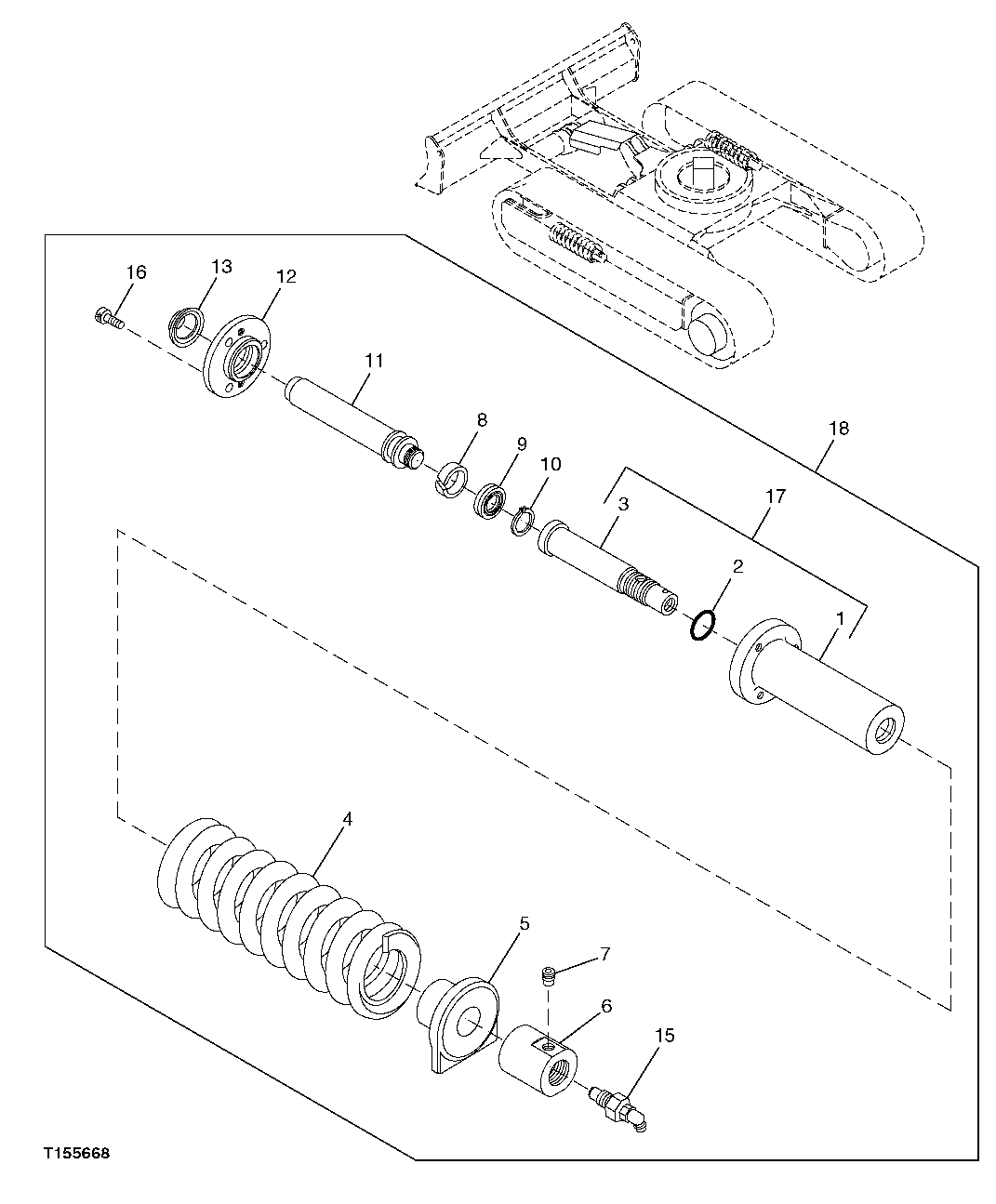
4276114 Клапан натяжения цепи, Hitachi EX60/75
Заказать расчет, стоимость и сроки поставки 4276114
Применимость запчасти
Всего используется в 10 узлов, посмотреть полную применимостьПрименяется в спецтехнике
- Hitachi
- John Deere
- Экскаваторы
Похожие запчасти
- 9160965 Натяжное колесо EX60, 9160965
- 9118328 Редуктор поворотного двигателя, EX60, EX60-2, EX60-3, EX60LCK-3, EX60T-
- 4255055 Масленка натяжителя, 9061173, шт
- 4293255 Масленка натяжителя, 45 град, 4293255
- 9306368 Натяжитель гусеницы в сборе, шт
- 07959-20001 Клапан натяжителя
- 095420-0260 Клапан топливной рейки Е3
- 2s-5926 Предохранительный клапан
- 9310837 Натяжитель гусеницы в сборе, шт
- 5267974 Натяжитель цепи дв.Cummins ISF2.8 5267974
- 5259767 Направляющая цепи правая дв.Cummins ISF 2.8 5259767
- 6754-61-4111 натяжитель
- 07959-30000 Клапан 195-30-13191
- 1110010028 1110010028 bosch клапан ограничения давления CUMMINS
- 9303132 Натяжитель гусеницы в сборе, шт
- 81n6-14010 Механизм натяжения R210LC-7 (81N6-14010), , шт
- 4255637 Болт башмачный M20, 4659287, 4143721, 20Y-32-11210, 14X-32-11210, 81EM-20020, шт
- 0928400617 0928400617 bosch дозировочный блок SFH POWERTRAIN (5037751370
- 095000-0660 Форсунка 095000-0660
- 1110010013 Клапан ограничения давления