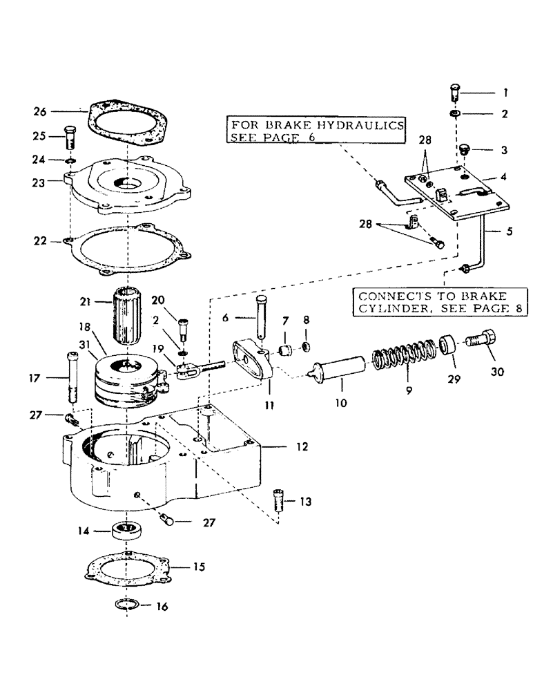
61970 Привод стартера, , SDI1389NB
Заказать расчет, стоимость и сроки поставки 61970
Производители
Применяется в спецтехнике
- Case
- Строительно-дорожная техника
Похожие запчасти
- 569-06-61970 Реле
- 569-06-61970 Реле
- 207-62-61970 207-62-61970 ТРУБКА
- ------6201325 Ремень приводной гладкий, Жатка ЖФ-6,0 Комбайн Дон-1500, 120
- spb-2000 SPB-2000_GLOBELT_Ремень приводной гладкий 17x13x2000, РСМ6201396, 653450.0
- spb-3000 SPB-3000_GLOBELT_Ремень приводной гладкий 17x13x3000, 4270722252, 4270722517
- 5266969- Стартер дв.Cummins ISF2,8 5266969/5295576/5340730/5311304
- 4903523 4903523/4903282 Актуатор
- 4992135 Стартер редукторный Евро-3 24V 6kW (10з/D=39) Cummins 6ISBe 4992135 M93R3026
- 5270739 Насос ГУР дв.Cummins ISF 2,8 5270739
- 4093888 Стартер для спецтехники Cummins BGE 4093888
- spb-1900 SPB-1900_GLOBELT_Ремень приводной гладкий 17x13x1900, 4240043405, 4240044584,
- 140869 Подшипник Carraro 140869-OEM
- a-1000 A-1000_GLOBELT_Ремень приводной гладкий 13x8x1000, 60500044, M41592
- 612600090293 Стартер BOSCH WP10
- b-1900 Ремень ГОСТ 1284.2-89 B1900
- 3903834 Болт с 12-гранной головкой (Крепление стартера) Cummins ISF2.8
- spb-1250 SPB-1250_GLOBELT_Ремень приводной гладкий 17x13x1250, E128625, 9911861717, 99
- 600-815-2170 Реле
- b2650 Ремень B2650 Rubena