707-39-32010 Уплотнение оригинал OEM Komatsu
Заказать расчет, стоимость и сроки поставки 707-39-32010
Применимость запчасти
Всего используется в 6 узлов, посмотреть полную применимостьПрименяется в спецтехнике
- Komatsu
- Бульдозеры гусеничные
Название запчасти
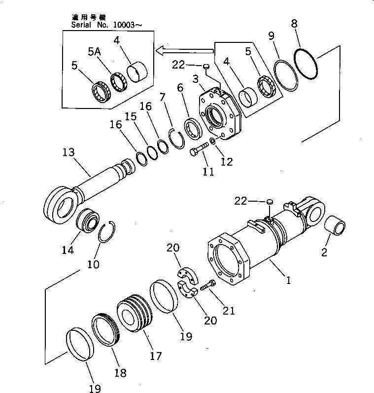
- Уплотнение оригинал OEM Komatsu 707-39-32010
- УПЛОТНИТЕЛЬНОЕ КОЛЬЦО
Варианты написания артикула
- 7073932010
- 707-39-32010
Похожие запчасти
- 1149299 Колодка тормозная внутренняя IMC9135-2
- 9p-0674 Корпус 785 735 735 OEM 735B 740 740B D400E II D400EII SPF343C AD40 AD45 AD45B AD55 AD55B AD60
- 9p-0673 Плунжер 785 735 735 OEM 735B 740 740B D400E II D400EII AD40 AD45 AD45B AD55 AD55B AD60 AE40
- 07155-02045 Втулка D375A-5 07155-02045
- 07155-01845 Кольцо противоизноса D275A-5 07155-01845
- 04065-09030 Стопорное кольцо 232-40-13250
- 07146-05152 07146-05152 Кольцо
- 07179-12084 Кольцо D65 D85 D65EX, D65PX, D65WX, D85EX, D85MS, PC130, PC138, PC138US, PC160, PC190, PC78UU
- 07179-13094 Кольцо WA320 D275 PC200 HM300 D275A, HB205, HB215, HM300, PC200, PC210, PC228, PC228US, WA320
- 707-44-11180 Кольцо 707-44-11080 707-44-11150
- 424-09-12320 Уплотнение оригинал OEM Komatsu 424-09-12320
- 207-27-61210 Звездочка 207-27-71460/207-27-61210/UR216K021/KM4186//KM3958
- 205-70-73280 О-кольцо
- 207-03-71641 Радиатор масляный OEM
- 07000-15175 О-кольцо 07000-15175
- 07000-55145 О-кольцо PC1250 HM400 D155 D85 07000-55145
- 6745-41-1110 Распределительный вал
- 708-25-52861 Сальник 706-73-40920 708-25-52860 708-27-14510
- jrv0598 Втулка ковша (аналог) JRV0598 ARIES (Индия
- 251-2552 Палец