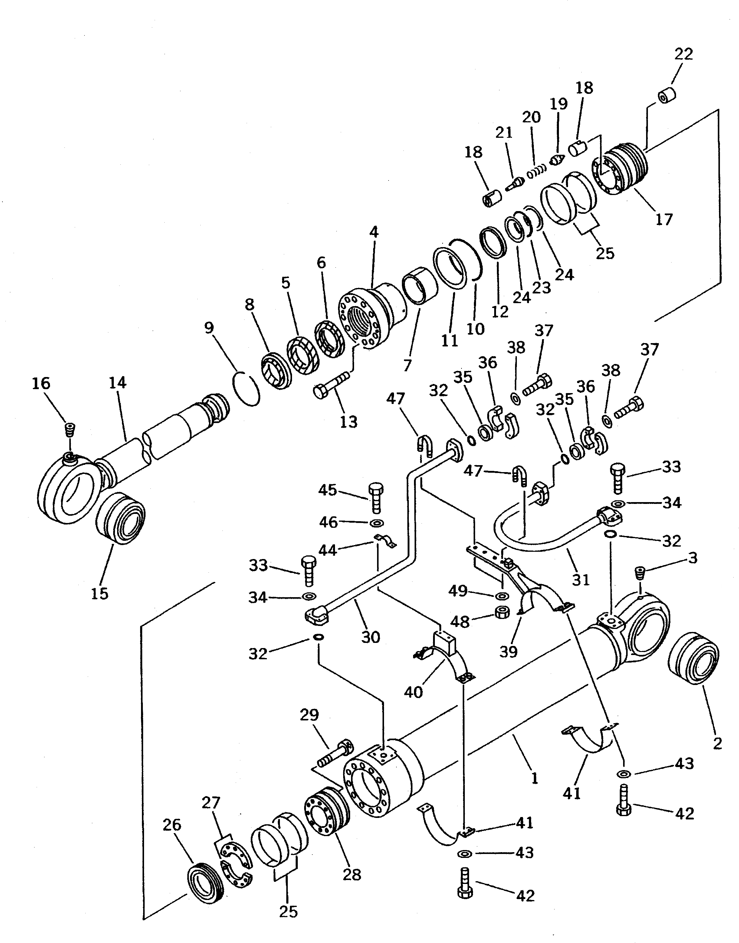
707-52-91050 Уплотнение оригинал OEM Komatsu
Заказать расчет, стоимость и сроки поставки 707-52-91050
Аналоги 707-52-91050
Применяется в спецтехнике
- Komatsu
- Бульдозеры колесные
- Краны
- Экскаваторы
Варианты написания артикула
- 7075291050
- 707-52-91050
Категории товара
Похожие запчасти
- 1149299 Колодка тормозная внутренняя IMC9135-2
- 9p-0674 Корпус 785 735 735 OEM 735B 740 740B D400E II D400EII SPF343C AD40 AD45 AD45B AD55 AD55B AD60
- 9p-0673 Плунжер 785 735 735 OEM 735B 740 740B D400E II D400EII AD40 AD45 AD45B AD55 AD55B AD60 AE40
- 07155-02045 Втулка D375A-5 07155-02045
- 07155-01845 Кольцо противоизноса D275A-5 07155-01845
- 04065-09030 Стопорное кольцо 232-40-13250
- 07146-05152 07146-05152 Кольцо
- 07179-12084 Кольцо D65 D85 D65EX, D65PX, D65WX, D85EX, D85MS, PC130, PC138, PC138US, PC160, PC190, PC78UU
- 07179-13094 Кольцо WA320 D275 PC200 HM300 D275A, HB205, HB215, HM300, PC200, PC210, PC228, PC228US, WA320
- 707-44-11180 Кольцо 707-44-11080 707-44-11150
- 6745-41-1110 Распределительный вал
- 20y-70-23220 Уплотнение оригинал OEM Komatsu 20Y-70-23220
- 705-11-38010 Насос гидравлики OEM
- 707-99-15730 Ремкомплект г/ц
- 07145-00100 07145-00100 ПЫЛЕЗАЩИТНОЕ УПЛОТНЕНИЕ
- 04065-01104 Стопорное кольцо 04065-01140
- 205-70-73270 Палец 22U-70-11672
- 600-635-7870 600-635-7870 Вентилятор
- 207-27-61210 Звездочка 207-27-71460/207-27-61210/UR216K021/KM4186//KM3958
- 6240-21-2220 Гильза цилиндра