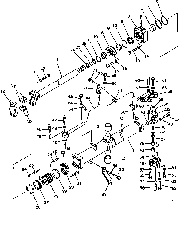
707-99-45525 Ремкомплект гидроцилиндра Komatsu 17M-63-08010 Отвал подъем D275-A-2 поршень 130 мм шток 80 мм
Заказать расчет, стоимость и сроки поставки 707-99-45525
Применимость запчасти
Всего используется в 1 узлов, посмотреть полную применимостьПрименяется в спецтехнике
- Komatsu
- Бульдозеры гусеничные
Название запчасти
- НАБОР ПРОКЛАДОК
- Ремкомплект 707-99-45525 гидроцилиндра Komatsu 17M-63-08010 Отвал подъем D275-A-2 поршень 130 мм шток 80 мм
Варианты написания артикула
- 7079945525
- 707-99-45525
Похожие запчасти
- 130-63-12005-kit Ремкомплект 130-63-12005_kit гидроцилиндра Komatsu 130-63-12005 Отвал
- 130-63-12006-kit Ремкомплект 130-63-12006_kit гидроцилиндра Komatsu 130-63-12006 Отвал
- 130-63-12105-kit Ремкомплект 130-63-12105_kit гидроцилиндра Komatsu 130-63-12105 Отвал
- 130-63-12005 Ремкомплект 130-63-12005_kit гидроцилиндра Komatsu 130-63-12005 Отвал
- 130-63-12105 Ремкомплект 130-63-12105_kit гидроцилиндра Komatsu 130-63-12105 Отвал
- 130-63-12300 Ремкомплект 130-63-12300_kit гидроцилиндра Komatsu 130-63-12300 Отвал
- 130-63-12400 Ремкомплект 130-63-12400_kit гидроцилиндра Komatsu 130-63-12400 Отвал
- 130-63-05020 Ремкомплект 130-63-05020 гидроцилиндра Komatsu Отвал подъем D53-
- 707-99-45530 Ремкомплект 707-99-45530 гидроцилиндра Komatsu 17M-63-08011 Отвал по
- 707-98-45620 Рем. к-кт г/ц
- 6152-32-2510 Поршень WITH PIN & CLIPS
- 07000-02130 О-кольцо 07000-12130 07000-42130 07000-52130
- 195-63-05130 Рем. к-кт г/ц
- 207-70-14151 Коронка ковша
- 4654422 Ремкомплект гидроцилиндра рукояти
- 205-70-73270 Палец 22U-70-11672
- 01643-32260 Шайба (U4218
- 707-99-45376 Рем. к-кт г/ц
- 230-9357 Набор уплотнений гидроцилиндра челюсти 230-9357 (WG
- 707-99-58090 Ремкомплект ГЦ ковша