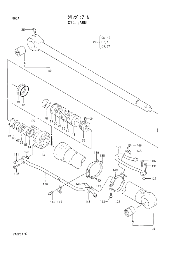
9144511 Ремкомплект гидроцилиндра Hitachi 9122617 Рукоять EX300-LC/LCH/H-3 поршень 165 мм шток 110 мм
Заказать расчет, стоимость и сроки поставки 9144511
Применяется в спецтехнике
- Hitachi
- Экскаваторы
Название запчасти
- Ремкомплект 9144511 гидроцилиндра Hitachi 9122617 Рукоять EX300-LC/LCH/H-3 поршень 165 мм шток 110 мм
- Ремкомплект 9144511 гидроцилиндра Hitachi 9124833 Рукоять EX300-LC/LCH/H-2 поршень 165 мм шток 110 мм
Категории товара
Похожие запчасти
- 9123264 Ремкомплект 9123264 гидроцилиндра Hitachi 9122617 Рукоять EX300-LC/L
- 9154895 Ремкомплект 9154895 гидроцилиндра Hitachi 9124833 Рукоять EX300-LC/L
- 9078846 Ремкомплект 9078846 гидроцилиндра Hitachi 9076110 Рукоять EX300-LC �
- 4321000 Ремкомплект 4321000 гидроцилиндра Hitachi 4250225 Ковш EX200-LC-2 по�
- 4369890 Ремкомплект 4369890 гидроцилиндра Hitachi 4250225 Ковш EX200-H/LC/LCH-3
- 4364917 Ремкомплект 4364917 гидроцилиндра Hitachi 4372915 Ковш EX200-H/LC/LCH-5
- 4649050 Ремкомплект гидроцилиндра рукояти
- 4653041 Ремкомплект г/ц рукояти, шт
- 4369943 Ремкомплект 4369943 гидроцилиндра Hitachi 4308225 Ковш EX220-LC-3 по�
- 4291362 Ремкомплект 4291362 гидроцилиндра Hitachi 4243498 EX700-BE/H поршень
- 4246107 Коронка ковша V61
- 195-78-21320 Протектор
- 4255531 Ремкомплект 4255531 гидроцилиндра Hitachi 4249749 Стрела EX400-LC/LCH
- 3088580 Палец ковш-трапеция ZХ-200, ZX200-3
- 6806330 Ремкомплект гидроцилиндра Bobcat 6806330
- 4089865 Поршень в сборе
- 4352398 Втулка боковая ZХ-200, ZX200-3
- 3088753 Палец ковш-рукоять ZX-230, ZX240-3
- 2014504 Бокорез
- 4443880 Втулка боковая ZX230, ZX240-3